ЛОПАСТНОЙ НАСОС (для моделей с 1KD-FTV) РАЗБОРКА


  1. ЗАКРЕПИТЕ ЛОПАСТНОЙ НАСОС В СБОРЕ


    1. A01DPXWE01

      С помощью SST зафиксируйте лопастной насос в сборе в тисках.

      SST
      09630-00014   ( 09631-00132 )
  2. СНИМИТЕ ШТУЦЕР КАНАЛА ВСАСЫВАНИЯ


    1. A01DPXWE02

      Отверните болт и снимите штуцер канала всасывания.

    2. Снимите кольцевое уплотнение со штуцера впускного отверстия.

  3. СНИМИТЕ ЗАДНИЙ КОЖУХ ЛОПАСТНОГО НАСОСА


    1. A01DPA7

      Выверните 4 болта и снимите задний кожух лопастного насоса.

    2. Снимите кольцевое уплотнение с заднего кожуха лопастного насоса.

  4. СНИМИТЕ РОТОР ЛОПАСТНОГО НАСОСА


    1. Снимите 10 пластин лопастей лопастного насоса.

    2. Снимите ротор лопастного насоса.

  5. СНИМИТЕ СТОПОРНОЕ КОЛЬЦО ЛОПАСТНОГО НАСОСА


    1. Снимите стопорное кольцо лопастного насоса с переднего кожуха лопастного насоса.

  6. СНИМИТЕ ПЕРЕДНЮЮ БОКОВУЮ ЗАЩИТНУЮ ШАЙБУ ЛОПАСТНОГО НАСОСА


    1. Снимите переднюю боковую защитную шайбу лопастного насоса с переднего кожуха лопастного насоса.

    2. A01DMGM

      Снимите кольцевое уплотнение с передней боковой защитной шайбы лопастного насоса.

    3. A01DN2F

      Снимите кольцевое уплотнение с переднего кожуха лопастного насоса.

  7. СНИМИТЕ ШЕСТЕРНЮ ЛОПАСТНОГО НАСОСА


    1. A01DPAA

      С помощью отвертки снимите пружинное стопорное кольцо с переднего кожуха лопастного насоса.

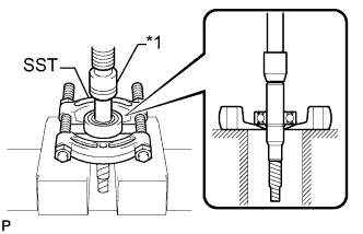
    2. A01DOAME02
      Обозначения на рисунке
      *1 Пресс
      *2 Защитная клейкая лента

      Обмотайте зубчатую часть вала лопастного насоса защитной лентой.

    3. С помощью пресса извлеките вал лопастного насоса из переднего кожуха лопастного насоса.

      Note

      Будьте осторожны, не допускайте падения вала лопастного насоса.

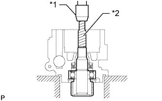
    4. A01DQB5E01
      Обозначения на рисунке
      *1 Пресс
      *2 Торцевой гаечный ключ (12 мм)

      Установите торцевой ключ (12 мм) на вал лопастного насоса.

    5. С помощью SST и пресса снимите шестерню лопастного насоса с вала лопастного насоса.

      SST
      09950-00020
  8. СНИМИТЕ ПОДШИПНИК ВАЛА ЛОПАСТНОГО НАСОСА


    1. A01DSWFE01
      Обозначения на рисунке
      *1 Пресс

      С помощью SST и пресса снимите подшипник вала лопастного насоса с вала лопастного насоса.

      SST
      09950-00020
    2. A01DU7N

      С помощью съемника стопорных колец снимите пружинное стопорное кольцо с вала лопастного насоса.

  9. СНИМИТЕ САЛЬНИК КОЖУХА ЛОПАСТНОГО НАСОСА


    1. A01DT3IE03
      Обозначения на рисунке
      *a Удерживайте
      *b Поверните

      При помощи SST снимите сальник кожуха лопастного насоса с переднего кожуха лопастного насоса.

      SST
      09319-60020
      09527-10011