СИСТЕМА РУЛЕВОГО УПРАВЛЕНИЯ С УСИЛИТЕЛЕМ (для моделей с VSC), Diagnostic DTC:C15F0

Код DTC Наименование DTC
C15F0 Цепь электромагнитного клапана VFC

ОПИСАНИЕ

Данная цепь обеспечивает электропитание электромагнитного клапана рулевого управления с усилителем.

ЭБУ рулевого управления с усилителем регулирует ток электромагнитного клапана рулевого управления с усилителем в соответствии с сигналом угла поворота рулевого колеса, сохраненным "нулем" положения рулевого колеса, сигналом скорости автомобиля и сигналом частоты вращения коленчатого вала двигателя, обеспечивая требуемое усиление рулевого управления.

Код DTC Условие обнаружения DTC Неисправный участок
C15F0 Короткое замыкание или обрыв в цепи электромагнитного клапана
  • Жгут или разъем

  • Лопастной насос в сборе

  • ЭБУ рулевого управления с усилителем

СХЕМА ЭЛЕКТРИЧЕСКИХ СОЕДИНЕНИЙ

A01DO6WE04

ПОСЛЕДОВАТЕЛЬНОСТЬ ПРОВЕРКИ

ПОРЯДОК ВЫПОЛНЕНИЯ


  1. СНИМИТЕ ПОКАЗАНИЯ GTS (ТОК ЭЛЕКТРОМАГНИТНОГО КЛАПАНА)


    1. Выключите зажигание.

    2. Подключите GTS к DLC3.

    3. Установите замок зажигания в положение ON (ВКЛ).

    4. Включите GTS.

    5. Войдите в следующие меню: Chassis / PPS / Data List.

      PPS
      Информация на дисплее прибора Измеряемая величина / диапазон измерения Нормальное состояние Замечание по диагностике
      Solenoid Current

      Ток электромагнитного клапана /

      Мин.: 0 мА

      Макс.: 1000 мА

      200 - 950 мА Двигатель работает, рулевое колесо поворачивается.
      OK
      На экране GTS отображается значение, соответствующее нормальному состоянию.

    NG
    OK
  2. ПРОВЕРЬТЕ ЖГУТ ПРОВОДОВ И РАЗЪЕМ (ЭБУ РУЛЕВОГО УПРАВЛЕНИЯ С УСИЛИТЕЛЕМ – ЭЛЕКТРОМАГНИТНЫЙ КЛАПАН РУЛЕВОГО УПРАВЛЕНИЯ С УСИЛИТЕЛЕМ)


    1. Отсоедините разъемы ЭБУ рулевого управления с усилителем и электромагнитного клапана рулевого управления с усилителем.

    2. Измерьте сопротивление в соответствии со значениями, приведенными в таблице ниже.

      Номинальное сопротивление
      Подключение диагностического прибора Условие Заданные условия
      G46-7 (SOF+) - C38-2 (SOF+) Всегда Менее 1 Ом
      G46-8 (SOF-) - C38-1 (SOF-)
      G46-7 (SOF+) - масса Всегда 10 кОм или более
      G46-8 (SOF-) - масса

    NG
    OK
  3. ПРОВЕРЬТЕ ЭЛЕКТРОМАГНИТНЫЙ КЛАПАН РУЛЕВОГО УПРАВЛЕНИЯ С УСИЛИТЕЛЕМ В СБОРЕ

    A01DTH5E05
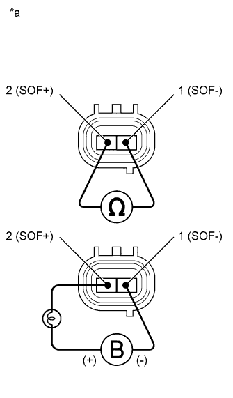
    Обозначения на рисунке
    *a

    Устройство с отсоединенным жгутом проводов

    (электромагнитный клапан рулевого управления с усилителем)


    1. Отсоедините разъем электромагнитного клапана рулевого управления с усилителем.

    2. Измерьте сопротивление в соответствии со значениями, приведенными в таблице ниже.

      Номинальное сопротивление
      Подключение диагностического прибора Условие Заданные условия
      1 (SOF-) - 2 (SOF+) 20°C (68°F) 6,7 - 7,3 Ом
    3. Подсоедините положительный (+) вывод аккумуляторной батареи с лампой 21 Вт к контакту 2 (SOF+), а отрицательный (-) вывод – к контакту 1 разъема электромагнитного клапана. Затем убедитесь в том, что клапан приводится в движение, издавая характерный для этого звук.

      OK
      Клапан приводится в движение, издавая характерный звук.
      Результат
      Результат Перейти К
      OK А
      NG (для моделей с 1GR-FE) B
      NG (для моделей с 1KD-FTV) C
      NG (для моделей с 2TR-FE) D

    B
    C
    D
    А