ГОЛОВКА БЛОКА ЦИЛИНДРОВ РЕМОНТ


  1. ОТРЕМОНТИРУЙТЕ СЕДЛО ВПУСКНОГО КЛАПАНА

    Note


    • В ходе проверки положения впускного клапана отремонтируйте его седло.

    • Не допускайте попадания на кромку посторонних предметов.


    1. A01DNSU

      Устройством для расточки седел с углом заточки 45° обработайте поверхность седла клапана так, чтобы ширина седла превышала требуемое значение.

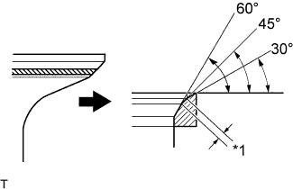
    2. A01DO6YE03
      Обозначения на рисунке
      *1 Ширина

      Используя резаки с углом заточки 30° и 60°, подправьте седло клапана так, чтобы клапан касался седла по всему периметру. Касание должно осуществляться в центре седла впускного клапана, а ширина седла впускного клапана должна соответствовать указанному диапазону по всему его периметру.

      Ширина
      1,1 - 1,5 мм (0,0433 - 0,0591 дюйма)
    3. Вручную с помощью шлифовальной пасты притрите впускной клапан и его седло.

    4. Проверьте положение седла впускного клапана.

  2. ОТРЕМОНТИРУЙТЕ СЕДЛО ВЫПУСКНОГО КЛАПАНА

    Note


    • При ремонте седла контролируйте его положение.

    • Не допускайте попадания на кромку посторонних предметов.


    1. A01DU7D

      Устройством для расточки седел с углом заточки 45° обработайте поверхность седла клапана так, чтобы ширина седла превышала требуемое значение.

    2. A01DUDFE07
      Обозначения на рисунке
      *1 Ширина

      Резаками с углами заточки 30° и 60° подправьте седло выпускного клапана так, чтобы выпускной клапан касался седла по всему периметру. Касание должно осуществляться в центре седла выпускного клапана, а ширина седла выпускного клапана должна соответствовать указанному диапазону по всему его периметру.

      Ширина
      1,1 - 1,5 мм (0,0433 - 0,0591 дюйма)
    3. Вручную с помощью шлифовальной пасты притрите выпускной клапан и его седло.

    4. Проверьте положение седла выпускного клапана.