ГОЛОВКА БЛОКА ЦИЛИНДРОВ ЗАМЕНА


  1. ЗАМЕНИТЕ НАПРАВЛЯЮЩУЮ ВТУЛКУ ВПУСКНОГО КЛАПАНА


    1. Нагрейте головку блока цилиндров до температуры 80 – 100°C (176 – 212°F).

    2. Поместите головку блока цилиндров на деревянные бруски.

    3. A01DQ6KE01

      С помощью специального инструмента и молотка выбейте направляющие втулки впускного клапана.

      SST
      09201-10000   ( 09201-01050 )
      09950-70010   ( 09951-07100 )
    4. С помощью индикатора часового типа для отверстий измерьте в головке блока цилиндров диаметр отверстия под направляющую втулку впускного клапана.

      Номинальный диаметр отверстия для втулки
      Пункт Номинальное сопротивление
      Номинальное значение 10,285 - 10,306 мм (0,4049 - 0,4057 дюйма)
      Ремонтный 0,05 10,335 - 10,356 мм (0,4069 - 0,4077 дюйма)
    5. Выберите новую направляющую втулку клапана.

      Новая направляющая втулка
      Пункт Номинальное сопротивление
      Диаметр гнезда втулки 10,285 - 10,306 мм (0,4049 - 0,4057 дюйма) 10,335 - 10,356 мм (0,4069 - 0,4077 дюйма)
      Используемая втулка Номинальное значение Ремонтный 0,05

      Если диаметр отверстия для втулки в головке блока цилиндров превышает 10,306 мм (0,4057 дюйма), проточите отверстие до 10,335-10,356 мм (0,4069-0,4077 дюйма), чтобы установить направляющую втулку клапана O/S 0,05.

      Если диаметр отверстия для втулки в головке блока цилиндров превышает 10,356 мм (0,4077 дюйма), замените головку блока цилиндров.

      Диаметр новой направляющей втулки
      Пункт Номинальное сопротивление
      Номинальное значение 10,333 - 10,344 мм (0,4068 - 0,4072 дюйма)
      Ремонтный 0,05 10,383 - 10,394 мм (0,4088 - 0,4092 дюйма)

      Tech Tips

      На впуске и выпуске устанавливаются разные втулки.

      Номинальная длина втулки
      41,3-41,7 мм (1,63-1,64 дюйма)
    6. Нагрейте головку блока цилиндров до температуры 80 – 100°C (176 – 212°F).

    7. Поместите головку блока цилиндров на деревянные бруски.

    8. A01DTCOE01
      Обозначения на рисунке
      *1 Высота выступания

      С помощью SST запрессуйте направляющие втулки впускных клапанов до заданной высоты выступания.

      SST
      09201-10000   ( 09201-01050 )
      09950-70010   ( 09951-07100 )
      Высота выступания
      9,10 - 9,90 мм (0,358 - 0,390 дюйма)
    9. A01DOTL

      Острой разверткой на 5,5 мм разверните отверстия в направляющих втулках клапанов, чтобы обеспечить номинальный зазор.

      Номинальный масляный зазор
      0,025 – 0,060 мм (0,000984 – 0,00236 дюйма)
  2. ЗАМЕНИТЕ НАПРАВЛЯЮЩУЮ ВТУЛКУ ВЫПУСКНОГО КЛАПАНА


    1. Нагрейте головку блока цилиндров до температуры 80 – 100°C (176 – 212°F).

    2. Поместите головку блока цилиндров на деревянные бруски.

    3. A01DSTEE01

      С помощью специального инструмента и молотка выбейте направляющие втулки выпускного клапана.

      SST
      09201-10000   ( 09201-01050 )
      09950-70010   ( 09951-07100 )
    4. С помощью индикатора часового типа для отверстий измерьте в головке блока цилиндров диаметр отверстия под направляющую втулку выпускного клапана.

      Номинальный диаметр отверстия для втулки
      Пункт Номинальное сопротивление
      Номинальное значение 10,285 - 10,306 мм (0,4049 - 0,4057 дюйма)
      Ремонтный 0,05 10,335 - 10,356 мм (0,4069 - 0,4077 дюйма)
    5. Выберите новую направляющую втулку клапана.

      Новая направляющая втулка
      Пункт Номинальное сопротивление
      Диаметр гнезда втулки 10,285 - 10,306 мм (0,4049 - 0,4057 дюйма) 10,335 - 10,356 мм (0,4069 - 0,4077 дюйма)
      Используемая втулка Номинальное значение Ремонтный 0,05

      Если диаметр отверстия для втулки в головке блока цилиндров превышает 10,306 мм (0,4057 дюйма), проточите отверстие до 10,335-10,356 мм (0,4069-0,4077 дюйма), чтобы установить направляющую втулку клапана O/S 0,05.

      Если диаметр отверстия для втулки в головке блока цилиндров превышает 10,356 мм (0,4077 дюйма), замените головку блока цилиндров.

      Диаметр новой направляющей втулки
      Пункт Номинальное сопротивление
      Номинальное значение 10,333 - 10,344 мм (0,4068 - 0,4072 дюйма)
      Ремонтный 0,05 10,383 - 10,394 мм (0,4088 - 0,4092 дюйма)

      Tech Tips

      На впуске и выпуске устанавливаются разные втулки.

      Номинальная длина втулки
      46,8-47,2 мм (1,84-1,86 дюйма)
    6. Нагрейте головку блока цилиндров до температуры 80 – 100°C (176 – 212°F).

    7. Поместите головку блока цилиндров на деревянные бруски.

    8. A01DO81E01
      Обозначения на рисунке
      *1 Высота выступания

      С помощью SST запрессуйте направляющие втулки выпускных клапанов до заданной высоты выступания.

      SST
      09201-10000   ( 09201-01050 )
      09950-70010   ( 09951-07100 )
      Высота выступания
      9,10 - 9,90 мм (0,358 - 0,390 дюйма)
    9. A01DTJQ

      Острой разверткой на 5,5 мм разверните отверстия в направляющих втулках клапанов, чтобы обеспечить номинальный зазор.

      Номинальный масляный зазор
      0,030 – 0,065 мм (0,00118 – 0,00256 дюйма)
  3. ЗАМЕНИТЕ ШТУЦЕР


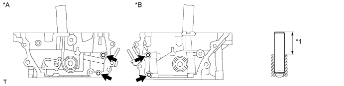
    1. Снимите штуцер с головки блока цилиндров ряда 1 (с передней стороны) и головки блока цилиндров ряда 2 (со стороны впускных каналов).

      A01DRKTE01
      Обозначения на рисунке
      *A Справа с передней стороны *B Слева со стороны впуска
    2. Нанесите герметик на 2-3 витка резьбы концов болтов новых штуцеров.

      Герметик
      Герметик Toyota Genuine Adhesive 1324, Three Bond 1324 или аналогичный
    3. С помощью удлиненной торцевой головки на 12 мм закрепите 2 штуцера.

      Torque:
      15 Н*м  { 150 кгс*см, 11 фунт-сила-футов }
  4. ЗАМЕНИТЕ ПРОБКУ

    Note

    Если наблюдаются утечки охлаждающей жидкости из-под пробок, или пробки покрыты ржавчиной, замените их.


    1. Снимите пробки.

    2. Нанесите на новые пробки герметик.

      Герметик
      Герметик Toyota Genuine Adhesive 1324, Three Bond 1324 или аналогичный
    3. С помощью SST и молотка вбейте пробки на номинальную глубину.

      A01DOKQE01
      SST
      09950-60010   ( 09951-00250 )
      09950-70010   ( 09951-07150 )
      Номинальная глубина
      1,7 - 2,7 мм (0,0669 - 0,106 дюйма)
      Обозначения на рисунке
      *A Правая сторона *B Левая сторона
      *1 Номинальная глубина - -
  5. ЗАМЕНИТЕ СТОПОРНЫЙ ШТИФТ

    Note

    В случае обнаружения повреждений замените цилиндрический штифт.


    1. С помощью молотка с пластмассовым покрытием вбейте новые стопорные штифты, как показано на рисунке.

      A01DPNFE01
      Высота выступания
      18,0 - 19,0 мм (0,708 - 0,748 дюйма)
      Обозначения на рисунке
      *A Правая сторона *B Левая сторона
      *1 Высота выступания - -
  6. ЗАМЕНИТЕ СОЕДИНИТЕЛЬНОЕ КОЛЬЦО

    Note

    Снимать соединительное кольцо нужно только в случае его замены.


    1. A01DTIME01
      Обозначения на рисунке
      *A Правая сторона
      *B Левая сторона
      *1 Высота выступания

      Пластмассовым молотком запрессуйте новые соединительные кольца до номинальной высоты выступания.

      Высота выступания
      2,5 - 3,5 мм (0,0984 - 0,138 дюйма)
  7. ЗАМЕНИТЕ ТРУБКУ СВЕЧНОГО КОЛОДЦА

    A01DOX2E01
    Обозначения на рисунке
    *1 Герметик
    *2 Расстояние

    Tech Tips

    Если устанавливается новая головка блока цилиндров, трубки свечных колодцев должны быть заменены.


    1. Снимите трубку свечного колодца.

    2. Нанесите герметик на конец новой трубки свечного колодца.

      Герметик
      Фирменный герметик 1324 от компании Toyota, Three Bond 1324 или аналогичный.
      Номинальный диаметр уплотнения
      1,0 - 3,0 мм (0,394 - 0,118 дюйма)
      Расстояние
      9,0 - 15,0 мм (0,354 - 0,590 дюйма)

      Note


      • Следует действовать осторожно, чтобы не повредить трубку свечного колодца.

      • В течение 1 часа после установки не допускайте попадания на уплотнение охлаждающей жидкости.

    3. A01DUS5E01
      Обозначения на рисунке
      *1 Верхняя поверхность головки блока цилиндров:
      *2 Высота выступания

      С помощью деревянного бруска и молотка вбейте трубку свечного колодца до достижения заданной высоты выступания.

      Номинальная высота выступания
      75,1-76,1 мм (2,96-3,00 дюйма)

      Note

      Чтобы не запрессовать трубку свечного колодца слишком глубоко, во время посадки измеряйте высоту выступания.