СИСТЕМА ЗАДНИХ СИДЕНИЙ С ЭЛЕКТРОПРИВОДОМ, Diagnostic DTC:B2654

Код DTC Наименование DTC
B2654 Неисправность датчика подголовника

ОПИСАНИЕ

Данный DTC выводится, когда ЭБУ управления положением не получает сигнал датчика, несмотря на перемещение сиденья вверх или вниз с помощью электродвигателя привода сиденья.

Код DTC Условие обнаружения DTC Неисправный участок
B2654 Крайние верхнее и нижнее положения, определенные датчиком, совпадают
  • ЭБУ управления положением

  • Регулятор подголовника заднего сиденья № 1 в сборе

  • Жгут или разъем

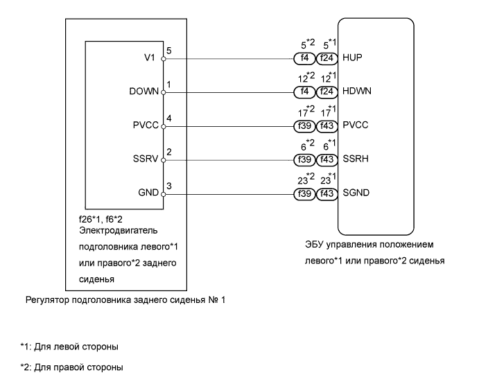
СХЕМА СОЕДИНЕНИЙ

A01H1XOE13

ПОСЛЕДОВАТЕЛЬНОСТЬ ПРОВЕРКИ

ПОРЯДОК ВЫПОЛНЕНИЯ


  1. ПРОВЕРЬТЕ DTC


    1. Определение системы, зарегистрировавшей DTC


      1. С помощью портативного диагностического прибора определите систему, которая вывела DTC.

        Результат
        Результат Следующий шаг
        B2654 выводится ЭБУ левого заднего сиденья А
        B2654 выводится ЭБУ правого заднего сиденья B

    B
    А
  2. ВЫПОЛНИТЕ ДИАГНОСТИКУ В РЕЖИМЕ ACTIVE TEST С ПОМОЩЬЮ ПОРТАТИВНОГО ДИАГНОСТИЧЕСКОГО ПРИБОРА (РАБОТА ЭЛЕКТРОДВИГАТЕЛЯ ПРИВОДА СИДЕНЬЯ)


    1. Выберите режим Active Test, с помощью портативного диагностического прибора подайте команду управления, после чего проверьте работу электродвигателя привода сиденья.

      Левое заднее сиденье
      Информация на дисплее прибора Испытываемое устройство Диапазон регулирования Замечание по диагностике
      Headrest Operation Управление перемещением подголовника Up (вверх) / OFF (ВЫКЛ) / Down (вниз) -
      OK
      Электродвигатель работает нормально.

    NG
    OK
  3. ПРОВЕРЬТЕ ЖГУТ ПРОВОДОВ И РАЗЪЕМ (ЛЕВЫЙ ЭБУ УПРАВЛЕНИЯ ПОЛОЖЕНИЕМ – ЭЛЕКТРОДВИГАТЕЛЬ ПОДГОЛОВНИКА ЛЕВОГО ЗАДНЕГО СИДЕНЬЯ)


    1. A01GZK3E05

      Отсоедините разъем f43 ЭБУ.

    2. Отсоедините разъем f26 электродвигателя.

    3. Измерьте сопротивление в соответствии со значениями, приведенными в таблице ниже.

      Номинальное сопротивление
      Контакты для подключения диагностического прибора Условие Заданные условия
      f43-17 (PVCC) - f26-4 (PVCC) Всегда Менее 1 Ом
      f43-6 (SSRH) - f26-2 (SSRV) Всегда Менее 1 Ом
      f43-23 (SGND) - f26-3 (GND) Всегда Менее 1 Ом
      f43-17 (PVCC) - масса Всегда 10 кОм или более
      f43-6 (SSRH) - масса Всегда 10 кОм или более
      f43-23 (SGND) - масса Всегда 10 кОм или более

    NG
    OK
  4. ПРОВЕРЬТЕ РЕГУЛЯТОР ПОДГОЛОВНИКА ЗАДНЕГО СИДЕНЬЯ № 1 В СБОРЕ (ДАТЧИК РЕГУЛИРОВАНИЯ ПОЛОЖЕНИЯ)


    1. A01H18EE02

      Отсоедините разъем f26 электродвигателя.

    2. Измерьте напряжение в соответствии со значениями, приведенными в таблице.

      Номинальное напряжение
      Контакты для подключения диагностического прибора Положение переключателя Заданные условия
      f26-4 (PVCC) - f26-3 (GND) Переключатель электропривода подголовника в положении ON (ВКЛ) 7,2–8,8 В
      Результат
      Результат Следующий шаг
      OK А
      NG (за исключением сидений с подставкой для ног) B
      NG (для сидений с подставкой для ног) C

    B
    C
    А
  5. ПРОВЕРЬТЕ РЕГУЛЯТОР ПОДГОЛОВНИКА ЗАДНЕГО СИДЕНЬЯ № 1 В СБОРЕ (ДАТЧИК РЕГУЛИРОВАНИЯ ПОЛОЖЕНИЯ)


    1. A01H27YE04

      Подсоедините разъем f26 электродвигателя.

    2. Измерьте напряжение в соответствии со значениями, приведенными в таблице.

      Номинальное напряжение
      Контакты для подключения диагностического прибора Положение переключателя Заданные условия
      f26-2 (SSRV) - масса Переключатель электропривода подголовника в положении ON (ВКЛ) 0–8 В
      Результат
      Результат Следующий шаг
      OK А
      NG (за исключением сидений с подставкой для ног) B
      NG (для сидений с подставкой для ног) C

    B
    C
    А
  6. ПРОВЕРЬТЕ DTC


    1. Сбросьте DTC (см. стр. Click here).

    2. Повторно проверьте DTC.

      OK
      DTC B2654 не выводится.
      Результат
      Результат Следующий шаг
      OK А
      NG (за исключением сидений с подставкой для ног) B
      NG (для сидений с подставкой для ног) C

    B
    C
    А
  7. ПРОВЕРЬТЕ РЕГУЛЯТОР ПОДГОЛОВНИКА ЗАДНЕГО СИДЕНЬЯ № 1 В СБОРЕ (ЭЛЕКТРОДВИГАТЕЛЬ ПРИВОДА СИДЕНЬЯ)


    1. A01H228E05

      Проверьте работу электродвигателя привода сиденья (двигателя подголовника).

    2. Убедитесь, что, когда к контактам разъема электродвигателя подголовника подключается аккумуляторная батарея, регулятор подголовника сиденья плавно перемещается.

      OK
      Условия измерений Направление перемещения

      Положительный (+) вывод аккумуляторной батареи → 5

      Отрицательный (-) вывод аккумуляторной батареи → 1

      Вверх

      Положительный (+) вывод аккумуляторной батареи → 1

      Отрицательный (-) вывод аккумуляторной батареи → 5

      Вниз
      Результат
      Результат Следующий шаг
      OK А
      NG (за исключением сидений с подставкой для ног) B
      NG (для сидений с подставкой для ног) C

    B
    C
    А
  8. ПРОВЕРЬТЕ ЖГУТ ПРОВОДОВ И РАЗЪЕМ (ЛЕВЫЙ ЭБУ УПРАВЛЕНИЯ ПОЛОЖЕНИЕМ – ЭЛЕКТРОДВИГАТЕЛЬ ПОДГОЛОВНИКА ЛЕВОГО ЗАДНЕГО СИДЕНЬЯ)


    1. A01GXFZE01

      Отсоедините разъем f24 ЭБУ.

    2. Отсоедините разъем f26 электродвигателя.

    3. Измерьте сопротивление в соответствии со значениями, приведенными в таблице ниже.

      Номинальное сопротивление
      Контакты для подключения диагностического прибора Условие Заданные условия
      f24-5 (HUP) - f26-5 (UP) Всегда Менее 1 Ом
      f24-12 (HDWN) - f26-1 (DOWN) Всегда Менее 1 Ом
      Результат
      Результат Следующий шаг
      OK (за исключением моделей с сиденьем с подставкой для ног) А
      OK (для моделей с сиденьем с подставкой для ног) B
      NG C

    B
    C
    А
  9. ВЫПОЛНИТЕ ДИАГНОСТИКУ В РЕЖИМЕ ACTIVE TEST С ПОМОЩЬЮ ПОРТАТИВНОГО ДИАГНОСТИЧЕСКОГО ПРИБОРА (РАБОТА ЭЛЕКТРОДВИГАТЕЛЯ ПРИВОДА СИДЕНЬЯ)


    1. Выберите режим Active Test, с помощью портативного диагностического прибора подайте команду управления, после чего проверьте работу электродвигателя привода сиденья.

      Правое заднее сиденье
      Информация на дисплее прибора Испытываемое устройство Диапазон регулирования Замечание по диагностике
      Headrest Operation Управление перемещением подголовника Up (вверх) / OFF (ВЫКЛ) / Down (вниз) -
      OK
      Электродвигатель работает нормально.

    NG
    OK
  10. ПРОВЕРЬТЕ ЖГУТ ПРОВОДОВ И РАЗЪЕМ (ПРАВЫЙ ЭБУ УПРАВЛЕНИЯ ПОЛОЖЕНИЕМ – ЭЛЕКТРОДВИГАТЕЛЬ ПОДГОЛОВНИКА ПРАВОГО ЗАДНЕГО СИДЕНЬЯ)


    1. A01GZK3E06

      Отсоедините разъем f39 ЭБУ.

    2. Отсоедините разъем f6 электродвигателя.

    3. Измерьте сопротивление в соответствии со значениями, приведенными в таблице ниже.

      Номинальное сопротивление
      Контакты для подключения диагностического прибора Условие Заданные условия
      f39-17 (PVCC) - f6-4 (PVCC) Всегда Менее 1 Ом
      f39-6 (SSRH) - f6-2 (SSRV) Всегда Менее 1 Ом
      f39-23 (SGND) - f6-3 (GND) Всегда Менее 1 Ом
      f39-17 (PVCC) - масса Всегда 10 кОм или более
      f39-6 (SSRH) - масса Всегда 10 кОм или более
      f39-23 (SGND) - масса Всегда 10 кОм или более

    NG
    OK
  11. ПРОВЕРЬТЕ РЕГУЛЯТОР ПОДГОЛОВНИКА ЗАДНЕГО СИДЕНЬЯ № 1 В СБОРЕ (ДАТЧИК РЕГУЛИРОВАНИЯ ПОЛОЖЕНИЯ)


    1. A01H18EE03

      Отсоедините разъем f6 электродвигателя.

    2. Измерьте напряжение в соответствии со значениями, приведенными в таблице.

      Номинальное напряжение
      Контакты для подключения диагностического прибора Положение переключателя Заданные условия
      f6-4 (PVCC) - f6-3 (GND) Переключатель электропривода подголовника в положении ON (ВКЛ) 7,2–8,8 В
      Результат
      Результат Следующий шаг
      OK А
      NG (за исключением сидений с подставкой для ног) B
      NG (для сидений с подставкой для ног) C

    B
    C
    А
  12. ПРОВЕРЬТЕ РЕГУЛЯТОР ПОДГОЛОВНИКА ЗАДНЕГО СИДЕНЬЯ № 1 В СБОРЕ (ДАТЧИК РЕГУЛИРОВАНИЯ ПОЛОЖЕНИЯ)


    1. A01H27YE05

      Подсоедините разъем f6 электродвигателя.

    2. Измерьте напряжение в соответствии со значениями, приведенными в таблице.

      Номинальное напряжение
      Контакты для подключения диагностического прибора Положение переключателя Заданные условия
      f6-2 (SSRV) - масса Переключатель электропривода подголовника в положении ON (ВКЛ) 0–8 В
      Результат
      Результат Следующий шаг
      OK А
      NG (за исключением сидений с подставкой для ног) B
      NG (для сидений с подставкой для ног) C

    B
    C
    А
  13. ПРОВЕРЬТЕ DTC


    1. Сбросьте DTC (см. стр. Click here).

    2. Повторно проверьте DTC.

      OK
      DTC B2654 не выводится.
      Результат
      Результат Следующий шаг
      OK А
      NG (за исключением сидений с подставкой для ног) B
      NG (для сидений с подставкой для ног) C

    B
    C
    А
  14. ПРОВЕРЬТЕ РЕГУЛЯТОР ПОДГОЛОВНИКА ЗАДНЕГО СИДЕНЬЯ № 1 В СБОРЕ (ЭЛЕКТРОДВИГАТЕЛЬ ПРИВОДА СИДЕНЬЯ)


    1. A01H228E06

      Проверьте работу электродвигателя привода сиденья (двигателя подголовника).

    2. Убедитесь, что, когда к контактам разъема электродвигателя подголовника подключается аккумуляторная батарея, регулятор подголовника сиденья плавно перемещается.

      OK
      Условия измерений Направление перемещения

      Положительный (+) вывод аккумуляторной батареи → 5

      Отрицательный (-) вывод аккумуляторной батареи → 1

      Вверх

      Положительный (+) вывод аккумуляторной батареи → 1

      Отрицательный (-) вывод аккумуляторной батареи → 5

      Вниз
      Результат
      Результат Следующий шаг
      OK А
      NG (за исключением сидений с подставкой для ног) B
      NG (для сидений с подставкой для ног) C

    B
    C
    А
  15. ПРОВЕРЬТЕ ЖГУТ ПРОВОДОВ И РАЗЪЕМ (ПРАВЫЙ ЭБУ УПРАВЛЕНИЯ ПОЛОЖЕНИЕМ – ЭЛЕКТРОДВИГАТЕЛЬ ПОДГОЛОВНИКА ПРАВОГО ЗАДНЕГО СИДЕНЬЯ)


    1. A01GXFZE02

      Отсоедините разъем f4 ЭБУ.

    2. Отсоедините разъем f6 электродвигателя.

    3. Измерьте сопротивление в соответствии со значениями, приведенными в таблице ниже.

      Номинальное сопротивление
      Контакты для подключения диагностического прибора Условие Заданные условия
      f4-5 (HUP) - f6-5 (UP) Всегда Менее 1 Ом
      f4-12 (HDWN) - f6-1 (DOWN) Всегда Менее 1 Ом
      Результат
      Результат Следующий шаг
      OK (за исключением моделей с сиденьем с подставкой для ног) А
      OK (для моделей с сиденьем с подставкой для ног) B
      NG C

    B
    C
    А