Click here

ВНУТРЕННЕЕ ЗЕРКАЛО ЗАДНЕГО ВИДА РЕГУЛИРОВКА

Click here
Click here Click here
Tip:
  • Выполните инициализацию камеры системы адаптивного включения дальнего света при указанных ниже условиях. В случае замены ЭБУ системы адаптивного включения дальнего света или других деталей, относящихся к системе адаптивного включения дальнего света, выполнять инициализацию не требуется.
  • Внутреннее зеркало заднего вида в сборе (с камерой системы адаптивного включения дальнего света) заменено либо снято и установлено.

  • В случае замены ветрового стекла на автомобиле, оборудованном системой адаптивного включения дальнего света, в связи с попаданием камня и т. д. в ветровое стекло.

  • Обнаружен код DTC B2454 (Не завершена инициализация положения оптической оси телекамеры).

Click here
  1. Click here

    ОТРЕГУЛИРУЙТЕ ДИАГРАММУ НАПРАВЛЕННОСТИ КАМЕРЫ СИСТЕМЫ АДАПТИВНОГО ВКЛЮЧЕНИЯ ДАЛЬНЕГО СВЕТА

    09870-50020 09871-05010 09871-05020
    09870-60000 09870-60010

    1. A01GY1JE01

      Эту процедуру следует выполнять на рабочем месте с крышей. Заведите автомобиль на рабочее место передним ходом и установите мишень в задней части рабочего помещения.

      Note:
      • Эту процедуру следует выполнять на ровной горизонтальной поверхности.

      • Эту процедуру следует выполнять в помещении, поскольку она чувствительна к погодным условиям.

      • Эту процедуру следует выполнять в неосвещенной зоне.

      • Не допускайте чрезмерного наклона зеркала.

      • Не включайте фары.

      • Во время выполнения этой процедуры на сиденье водителя должен находиться человек.

      Table 1. Обозначения на рисунке
      *1 SST (мишень)
      *a 900 мм
      *b 1 м или более
      *c 1 м или более (как можно больше)
    2. Подготовка к регулировке оптической оси


      1. Установите автомобиль на ровной поверхности.

      2. Убедитесь, что уровень моторного масла соответствует норме.

      3. Убедитесь, что уровень охлаждающей жидкости соответствует норме.

      4. Убедитесь, что запасное колесо находится на месте (для автомобилей с запасным колесом).

      5. Убедитесь, что стандартные инструменты находятся на месте.

      6. Позаботьтесь о том, чтобы никто не проник в автомобиль.

      7. Не помещайте в автомобиль никакой лишний груз.

      8. Отрегулируйте давление в шинах до номинального значения (см. стр.Click here).

      9. Почистите ветровое стекло.

      10. Убедитесь, что камера системы AHS во внутреннем зеркале заднего вида в сборе не загрязнена.

        Tip:

        Если объектив камеры AHS загрязнился, нанесите на чистую мягкую тканевую салфетку небольшое количество чистящего средства для оптики и почистите объектив.

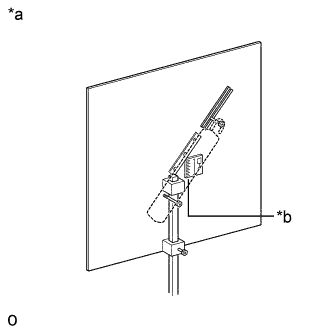
    3. A01H0U5E01

      Подвесьте в центре мишени (SST) груз с заостренным концом. Затем закрепите мишень на отражателе так, чтобы груз совпадал с линией выравнивания SST (регулировочного отражателя для лазерного радара).

      09870-50020 09871-05010 09871-05020
      09870-60000 09870-60010
      Table 2. Обозначения на рисунке
      *1 SST
      *2 Груз
      *3 Линия выравнивания
      Note:
      • Выполните эту процедуру как можно точнее.

      • Расположите мишень параллельно уровню земли.

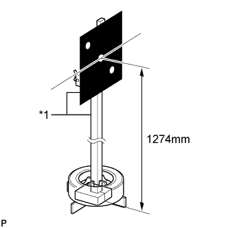
    4. A01GXHUE01

      Перемещая отражатель вверх и вниз, расположите центр мишени на высоте, указанной на рисунке, и закрепите мишень.

      09870-50020 09871-05010 09871-05020
      09870-60000 09870-60010
      Note:

      Выполните эту процедуру как можно точнее.

      Table 3. Обозначения на рисунке
      *1 SST
    5. Координаты точки расположения мишени

      Note:
      • Выполните эту процедуру как можно точнее.

      • Убедитесь в отсутствии отражающих материалов или естественного света, падающего на обратную сторону мишени (по направлению к датчику).

      • Закройте все естественное освещение с обратной стороны мишени (занавесьте окна и т. д.)


      1. A01H0QTE01

        Подвесьте к центру переднего бампера (к центру эмблемы) груз с заостренным концом и отметьте на земле точку A - центр переднего бампера.

        Table 4. Обозначения на рисунке
        *1 Груз
      2. A01GZ1RE01

        Подвесьте к заднего переднего бампера (к центру эмблемы) груз с заостренным концом и отметьте на земле точку A - центр заднего бампера.

        Table 5. Обозначения на рисунке
        *1 Груз
      3. A01GYU1E01

        Продлите на земле линию, соединяющую точки A и B, примерно на 1 м (3,28 фута) в направлении перед автомобилем.

        Table 6. Обозначения на рисунке
        *a Точка A
        *b Точка B
        *c 1 м или более
      4. A01H19WE01

        Отметьте точку размещения, отстоящую на 1900 мм (6, 233 дюйма.) от точки A, соответствующей центру переднего бампера.

        Table 7. Обозначения на рисунке
        *1 SST (мишень) - -
        *a Точка A *b Точка B
        *c Точка C (точка размещения мишени 1) *d 900 мм
        *e 3040 мм - -
    6. A01H03JE01

      Совместите SST (регулировочный отражатель для лазерного радара) с линией размещения мишени, совместите линию выравнивания с точкой размещения 1 (точкой C) и зафиксируйте мишень на месте, как показано на рисунке, с помощью старой шины и т. д., чтобы исключить ее падение.

      09870-50020 09871-05010 09871-05020
      09870-60000 09870-60010
      Table 8. Обозначения на рисунке
      *1 SST (регулировочный отражатель для лазерного радара)
      *2 Линия выравнивания
      *3 Точка C
      *4 Линия заданного размещения
      *5 Старая шина
    7. Проверка светопроницаемости мишени


      1. A01GY05E01

        После установки мишени поместите за ней переносной фонарь, как показано на рисунке.

        Table 9. Обозначения на рисунке
        *a Задняя сторона мишени
        *b Зона расположения переносного фонаря
      2. A01H267E01

        Включите фонарь и отрегулируйте его положение так, чтобы в 3 точках, показанных на рисунке "OK", уровень яркости был одинаков (точки красного цвета).

        Note:

        Используйте флюоресцентную лампу мощностью от 10 до 27 Вт.

    8. Регулировка диаграммы направленности камеры системы AHS


      1. Войдите в следующие меню: AHS / Utility / AHS Camera Optic Axis Adjustment

      2. Следуйте указаниям на экране и после включения зажигания (IG) (при выключенном двигателе) нажмите "Next" (далее).

      3. Убедитесь, что отображается угол отклонения оптической оси камеры AHS. Затем следуйте указаниям на экране и нажмите "Next" (далее).

      4. После завершения регулировки диаграммы направленности камеры системы AHS на экране отображается сообщение "AHS Camera Optic Axis Adjustment is complete" (регулировка положения оптической оси камеры системы AHS завершена). Нажмите "Exit" (выход), чтобы завершить регулировку диаграммы направленности камеры системы AHS.

        Note:
        • Для завершения регулировки убедитесь, что код DTC B2454 (Не завершена инициализация положения оптической оси телекамеры) и код DTC B2471 (Camera Optic Axis Correction Malfunction) не выводятся.

        • Если отображается сообщение "Do you want to exit adaptive high beam Camera Optic Axis Adjustment" (завершить регулировку положения оптической оси камеры системы адаптивного включения дальнего света фар?), нажмите "Yes" (да), проверьте, выполняются ли указанные ниже условия, включите питание (IG) (не запуская двигатель) и повторно выполните регулировку.

        • Убедитесь, что мишень находится на требуемой высоте.

        • Убедитесь, что расстояние между автомобилем (камерой системы адаптивного включения дальнего света) и мишенью соответствует требуемому.

        • Убедитесь в отсутствии отражающих материалов или естественного света, падающего на обратную сторону мишени (по направлению к датчику).

        • Закройте все естественное освещение с обратной стороны мишени (занавесьте окна и т. д.)

        • Светопроницаемость мишени приемлема.

        • Подсветка выключена.