Click here

ЧАШКА ДИФФЕРЕНЦИАЛА В СБОРЕ РАЗБОРКА

Click here
Click here Click here
  1. Click here

    СНИМИТЕ ПРОБКУ САПУНА КРЫШКИ ЧАШКИ ЗАДНЕГО ДИФФЕРЕНЦИАЛА


    1. A01H175

      Снимите пробку сапуна с чашки корпуса дифференциала.

  2. Click here

    СНИМИТЕ КРЫШКУ ЧАШКИ ЗАДНЕГО ДИФФЕРЕНЦИАЛА


    1. A01H1X5

      Выверните 8 болтов из крышки чашки дифференциала.

    2. A01GXE2

      С помощью латунного стержня и молотка снимите крышку с чашки дифференциала.

      Note:
      • Вставьте латунный стержень в оребренную часть крышки чашки дифференциала.

      • Старайтесь не повредить установочную поверхность чашки дифференциала.

  3. Click here

    СНИМИТЕ МАСЛООТРАЖАТЕЛЬ ПРОБКИ САПУНА ЗАДНЕГО ДИФФЕРЕНЦИАЛА


    1. A01GWLF

      Выверните болт и снимите с крышки чашки заднего дифференциала маслоотражатель.

  4. Click here

    ЗАКРЕПИТЕ ЧАШКУ ЗАДНЕГО ДИФФЕРЕНЦИАЛА В СБОРЕ НА СТЕНДЕ ДЛЯ ПЕРЕБОРКИ


    1. A01GXYRE01

      Установите чашку дифференциала на стенд для переборки, как показано на рисунке.

      Tip:

      Установите чашку дифференциала с тыльной стороной коронной шестерни, направленной к стенду для переборки, как показано на рисунке.

  5. Click here

    ПРОВЕРЬТЕ БИЕНИЕ КОРОННОЙ ШЕСТЕРНИ ДИФФЕРЕНЦИАЛА


    1. A01GZXOE01

      Расположите индикатор часового типа перпендикулярно тыльной стороне коронной шестерни.

    2. Повращайте коронную шестерню и измерьте биение коронной шестерни.

      Максимально допустимое биение
      0,05 мм (0,00197 дюйма)
      Tip:

      Запишите результат перед разборкой, чтобы использовать его при последующей сборке.

      Если биение превышает указанную максимально допустимую величину, снимите коронную шестерню и проверьте биение корпуса дифференциала.

  6. Click here

    ПРОВЕРЬТЕ БОКОВОЙ ЗАЗОР МЕЖДУ ЗУБЬЯМИ В ГЛАВНОЙ ПЕРЕДАЧЕ ДИФФЕРЕНЦИАЛА


    1. A01H0T3E01

      Расположите индикатор часового типа перпендикулярно верхней поверхности коронной шестерни со стороны зубьев.

    2. Зафиксируйте соединительный фланец на месте и измерьте боковой зазор между зубьями в главной передаче.

      Номинальный боковой зазор
      0,08 - 0,13 мм (0,00315 - 0,00511 дюйма)
      Tip:
      • Измерения на коронной шестерне следует проводить, по крайней мере, в 3 разных местах.

      • Запишите результат перед разборкой, чтобы использовать его при последующей сборке.

  7. Click here

    ПРОВЕРЬТЕ ПЯТНО КОНТАКТА ЗУБЬЕВ КОРОННОЙ И ВЕДУЩЕЙ ШЕСТЕРЕН


    1. A01GZ3G

      Покройте обе стороны 4 зубьев коронной шестерни дифференциала ровным тонким слоем берлинской лазури.

    2. A01H05B

      Несколько раз поверните соединительный фланец в прямом и обратном направлениях.

    3. A01GZI7E02

      Проверьте пятно контакта зубьев.

      Tip:
      • Следы, оставляемые берлинской лазурью, указывают места контакта зубьев шестерни.

      • Запишите результат перед разборкой, чтобы использовать его при последующей сборке.

      Note:

      Проверьте пятно контакта зубьев в 4 точках периметра коронной шестерни.

  8. Click here

    ПРОВЕРЬТЕ БОКОВОЙ ЗАЗОР ПОЛУОСЕВОЙ ШЕСТЕРНИ ДИФФЕРЕНЦИАЛА


    1. A01H1JA

      Поместите индикатор часового типа на конец зубца полуосевой шестерни под прямым углом.

    2. Удерживая полуосевую шестерню в корпусе дифференциала, убедитесь, что боковой зазор составляет 0 мм (0 дюймов). В противном случае замените корпус заднего дифференциала новым.

  9. Click here

    ПРОВЕРЬТЕ БИЕНИЕ ВЕДУЩЕЙ ШЕСТЕРНИ ДИФФЕРЕНЦИАЛА


    1. A01GYTIE01

      Используя индикатор часового типа, измерьте биение вала ведущей шестерни на расстоянии 10 мм (0,394 дюйма) от конца вала.

      Максимально допустимое биение
      0,08 мм (0,00315 дюйма)
      Tip:

      Запишите результат перед разборкой, чтобы использовать его при последующей сборке.

  10. Click here

    СНИМИТЕ САЛЬНИК ВАЛА ПОЛУОСЕВОЙ ШЕСТЕРНИ ЗАДНЕГО ДИФФЕРЕНЦИАЛА


    1. A01GZ41E01

      Снимите 2 сальника с помощью SST.

      09308-00010
  11. Click here

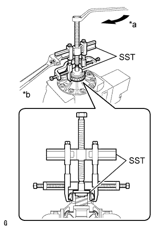
    СНИМИТЕ ПРУЖИННОЕ СТОПОРНОЕ КОЛЬЦО ВАЛА ПОЛУОСЕВОЙ ШЕСТЕРНИ ЗАДНЕГО ДИФФЕРЕНЦИАЛА


    1. A01GZOLE04

      Вверните 2 болта и установите SST на чашку дифференциала.

      09571-50010
      Table 1. Обозначения на рисунке
      *1 Диск
    2. Затяните болт SST таким образом, чтобы диск SST слегка касался наружного кольца подшипника корпуса.

    3. A01GXISE01

      Установите индикатор часового типа на чашку заднего дифференциала.

    4. Затяните болт SST и измените форму чашки дифференциала, чтобы создать зазор величиной 0,1 мм (0,00394 дюйма) между наружным кольцом подшипника корпуса и пружинным стопорным кольцом вала полуосевой шестерни.

      Note:

      Снимите показания индикатора часового типа и убедитесь, что форма чашки дифференциала не изменилась более чем на 0,2 мм (0,00787 дюйма).

      Tip:

      Чтобы шайба слегка перемещалась, достаточно, чтобы зазор между наружным кольцом подшипника корпуса и пружинным стопорным кольцом вала полуосевой шестерни составлял приблизительно 0,1 мм (0,00394 дюйма).

    5. A01GXXH

      Используя съемник стопорных колец, снимите пружинное стопорное кольцо вала полуосевой шестерни со стороны зубьев коронной шестерни.

      Tip:
      • Измерьте толщину пружинного стопорного кольца вала полуосевой шестерни дифференциала и запишите измеренное значение, чтобы использовать его при последующей сборке.

      • Нанесите идентификационные метки на левое и правое пружинные стопорные кольца вала полуосевой шестерни дифференциала, чтобы не перепутать их (с тыльной стороны, со стороны зубьев). Затем по отдельности поместите их на хранение.

    6. Снимите индикатор часового типа с чашки дифференциала.

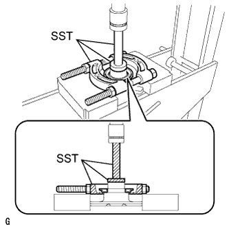
    7. A01GXRRE02

      Ослабьте болт SST таким образом, чтобы диск SST отделился от стороны зубьев наружного кольца подшипника корпуса дифференциала.

      Table 2. Обозначения на рисунке
      *1 Диск
      *a Поверните
      Tip:

      Не снимайте SST.

  12. Click here

    СНИМИТЕ ПРУЖИННОЕ СТОПОРНОЕ КОЛЬЦО ВАЛА ПОЛУОСЕВОЙ ШЕСТЕРНИ ЗАДНЕГО ДИФФЕРЕНЦИАЛА


    1. A01H28XE02

      Используя SST и молоток, создайте зазор между наружным кольцом подшипника корпуса с тыльной стороны коронной шестерни и пружинным стопорным кольцом вала полуосевой шестерни.

      09608-32010
      09950-70010 09951-07200
      Tip:

      Зазор незаметен, поэтому достаточно 3–4 ударов молотком по SST.

    2. A01GWLB

      Используя съемник стопорных колец, снимите пружинное стопорное кольцо вала полуосевой шестерни с тыльной стороны коронной шестерни.

      Tip:
      • Измерьте толщину пружинного стопорного кольца вала полуосевой шестерни дифференциала и запишите измеренное значение, чтобы использовать его при последующей сборке.

      • Нанесите идентификационные метки на левое и правое пружинные стопорные кольца вала полуосевой шестерни дифференциала, чтобы не перепутать их (с тыльной стороны, со стороны зубьев). Затем по отдельности поместите их на хранение.

  13. Click here

    СНИМИТЕ НАРУЖНОЕ КОЛЬЦО ПОДШИПНИКА КОРПУСА ЗАДНЕГО ДИФФЕРЕНЦИАЛА


    1. A01GY8YE03

      Затяните болт SST и выжмите наружное кольцо подшипника корпуса с тыльной стороны коронной шестерни.

      09571-50010
      Table 3. Обозначения на рисунке
      *a Поверните
      Note:

      Будьте осторожны, не допускайте падения наружного кольца подшипника корпуса.

      Tip:
      • Отметьте установочные положения наружного кольца подшипника корпуса дифференциала и пружинного стопорного кольца вала полуосевой шестерни дифференциала, чтобы использовать их при последующей сборке.

      • Нанесите идентификационные метки на левое и правое наружные кольца подшипника корпуса дифференциала, чтобы не перепутать их (с тыльной стороны, со стороны зубьев). Затем по отдельности поместите их на хранение.

    2. A01GZOLE05

      Выверните 2 болта и снимите SST с чашки дифференциала.

      Table 4. Обозначения на рисунке
      *1 Диск
  14. Click here

    СНИМИТЕ НАРУЖНОЕ КОЛЬЦО ПОДШИПНИКА КОРПУСА ЗАДНЕГО ДИФФЕРЕНЦИАЛА


    1. A01GYUNE01

      Слегка приподнимите коронную шестерню корпуса дифференциала и снимите наружное кольцо подшипника корпуса со стороны зубьев коронной шестерни.

      Note:

      Будьте осторожны, не допускайте падения наружного кольца подшипника корпуса.

      Tip:
      • Отметьте установочные положения наружного кольца подшипника корпуса дифференциала и пружинного стопорного кольца вала полуосевой шестерни дифференциала, чтобы использовать их при последующей сборке.

      • Нанесите идентификационные метки на левое и правое наружные кольца подшипника корпуса дифференциала, чтобы не перепутать их (с тыльной стороны, со стороны зубьев). Затем по отдельности поместите их на хранение.

  15. Click here

    СНИМИТЕ КОРПУС ЗАДНЕГО ДИФФЕРЕНЦИАЛА В СБОРЕ


    1. A01GXTA

      Снимите корпус заднего дифференциала с чашки дифференциала, как показано на рисунке.

      Note:

      Действуйте осторожно, чтобы не повредить подшипник корпуса и коронную шестерню.

  16. Click here

    СНИМИТЕ ГАЙКУ ЗАДНЕЙ ВЕДУЩЕЙ ШЕСТЕРНИ


    1. A01GYI5E02

      С помощью SST и молотка раскерните накерненную часть гайки ведущей шестерни.

      09930-00010
      Note:
      • Не стачивайте наконечник SST с помощью шлифовального станка или аналогичного устройства.

      • Полностью раскерните гайку ведущей шестерни, чтобы не повредить резьбу ведущей шестерни.

    2. A01H1N6E03

      С помощью SST зафиксируйте соединительный фланец на месте.

      09330-00021
      09950-30012 09955-03040
      Table 5. Обозначения на рисунке
      *a Поверните
      *b Удерживайте
    3. Поддерживая приспособление для переборки, отверните гайку задней ведущей шестерни, используя SST.

      09229-55010
  17. Click here

    СНИМИТЕ ЗАДНИЙ СОЕДИНИТЕЛЬНЫЙ ФЛАНЕЦ ЗАДНЕЙ ВЕДУЩЕЙ ШЕСТЕРНИ В СБОРЕ


    1. A01H0VJE01

      С помощью SST снимите соединительный фланец с чашки дифференциала.

      09950-30012 09951-03010 09953-03010 09954-03010 09955-03040 09956-03060
      Table 6. Обозначения на рисунке
      *a Поверните
      *b Удерживайте
      Tip:

      Прежде чем устанавливать центральный болт SST, нанесите на его резьбу и наконечник детали гипоидное трансмиссионное масло.

  18. Click here

    СНИМИТЕ ПРОТИВОПЫЛЕВОЙ КОЛПАК ЗАДНЕГО ДИФФЕРЕНЦИАЛА

    Tip:

    Выполняйте эту процедуру только в том случае, если пылеотражатель поврежден.


    1. A01GY0UE02

      С помощью SST и пресса выжмите противопылевой колпак.

      09950-00020
      09950-60010 09951-00440
      09950-70010 09951-07100
      Tip:

      Выполняйте эту операцию, затягивая гайку SST, чтобы зафиксировать контактные поверхности SST и противопылевого колпака.

      Note:

      Будьте осторожны, не уроните соединительный фланец.

  19. Click here

    СНИМИТЕ САЛЬНИК ЧАШКИ ЗАДНЕГО ДИФФЕРЕНЦИАЛА


    1. A01H08LE02

      С помощью SST снимите сальник с чашки дифференциала.

      09308-00010
  20. Click here

    СНИМИТЕ МАСЛООТРАЖАТЕЛЬ ВЕДУЩЕЙ ШЕСТЕРНИ ЗАДНЕГО ДИФФЕРЕНЦИАЛА


    1. A01GY0N

      Снимите маслоотражатель с чашки дифференциала с помощью магнитного захвата.

  21. Click here

    СНИМИТЕ ВЕДУЩУЮ ШЕСТЕРНЮ ДИФФЕРЕНЦИАЛА


    1. A01H0C2

      С помощью пресса выжмите ведущую шестерню с чашки дифференциала.

      Note:

      Будьте осторожны, не допускайте падения ведущей шестерни.

  22. Click here

    СНИМИТЕ РАСПОРНУЮ ВТУЛКУ ПОДШИПНИКА ВЕДУЩЕЙ ШЕСТЕРНИ ЗАДНЕГО ДИФФЕРЕНЦИАЛА


    1. A01H1L3

      Снимите распорную втулку подшипника ведущей шестерни с ведущей шестерни.

  23. Click here

    СНИМИТЕ ВНУТРЕННЕЕ КОЛЬЦО ПЕРЕДНЕГО КОНИЧЕСКОГО РОЛИКОВОГО ПОДШИПНИКА ВЕДУЩЕЙ ШЕСТЕРНИ ЗАДНЕГО ДИФФЕРЕНЦИАЛА


    1. A01GZ36

      Снимите внутреннее кольцо переднего конического роликового подшипника задней ведущей шестерни с чашки дифференциала.

  24. Click here

    СНИМИТЕ НАРУЖНОЕ КОЛЬЦО ПЕРЕДНЕГО КОНИЧЕСКОГО РОЛИКОВОГО ПОДШИПНИКА ВЕДУЩЕЙ ШЕСТЕРНИ ЗАДНЕГО ДИФФЕРЕНЦИАЛА


    1. A01H157

      С помощью латунного стержня и молотка выбейте наружное кольцо переднего конического роликового подшипника задней ведущей шестерни с чашки дифференциала.

      Note:

      При выполнении этой процедуры латунный стержень должен быть установлен на наружное кольцо переднего конического роликового подшипника задней ведущей шестерни. Старайтесь не повредить чашку дифференциала.

  25. Click here

    СНИМИТЕ ВНУТРЕННЕЕ КОЛЬЦО ЗАДНЕГО КОНИЧЕСКОГО РОЛИКОВОГО ПОДШИПНИКА ВЕДУЩЕЙ ШЕСТЕРНИ ЗАДНЕГО ДИФФЕРЕНЦИАЛА


    1. A01GX8BE01

      С помощью SST и пресса выжмите внутреннее кольцо заднего конического роликового подшипника задней ведущей шестерни с ведущей шестерни.

      09950-00020
      Tip:

      Выполняйте эту операцию, затягивая гайку SST, чтобы зафиксировать контактные поверхности SST и внутреннего кольца заднего конического роликового подшипника.

      Note:

      Будьте осторожны, не допускайте падения ведущей шестерни.

  26. Click here

    СНИМИТЕ НАРУЖНОЕ КОЛЬЦО ЗАДНЕГО КОНИЧЕСКОГО РОЛИКОВОГО ПОДШИПНИКА ВЕДУЩЕЙ ШЕСТЕРНИ ЗАДНЕГО ДИФФЕРЕНЦИАЛА


    1. A01GZAE

      С помощью латунного стержня и молотка выбейте наружное кольцо заднего конического роликового подшипника задней ведущей шестерни и шайбу ведущей шестерни с чашки дифференциала.

      Note:

      При выполнении этой операции обязательно используйте латунный стержень, установленный на шайбу ведущей шестерни дифференциала. Старайтесь не повредить чашку дифференциала.

      Tip:

      Измерьте толщину шайбы ведущей шестерни дифференциала и запишите измеренное значение, чтобы использовать его при последующей сборке.

  27. Click here

    СНИМИТЕ КОРОННУЮ ШЕСТЕРНЮ ДИФФЕРЕНЦИАЛА


    1. Зажмите корпус дифференциала в тисках между алюминиевыми пластинами.

      Note:

      Не затягивайте тиски слишком сильно.

    2. A01GYJME01

      Нанесите метки на коронную шестерню и корпус дифференциала.

      Table 7. Обозначения на рисунке
      *a Метка
    3. Выверните 10 установочных болтов коронной шестерни.

    4. Извлеките корпус дифференциала из тисков.

    5. A01GXTR

      Обстучите коронную шестерню молотком с пластмассовым покрытием, чтобы снять ее с корпуса дифференциала.

      Tip:

      Чтобы не допустить повреждений, закройте сторону зубьев коронной шестерни тканью.

  28. Click here

    ПРОВЕРЬТЕ БИЕНИЕ ЧАШКИ ЗАДНЕГО ДИФФЕРЕНЦИАЛА В СБОРЕ

    Tip:

    Выполняйте эту операцию только в том случае, если при проверке биения коронной шестерни оно превысило максимально допустимое значение.


    1. A01GZWW

      Установите корпус дифференциала в чашку дифференциала.

      Note:

      Старайтесь не повредить подшипник корпуса.

    2. A01H2AVE01

      С помощью SST и молотка вбейте наружное кольцо подшипника корпуса со стороны зубьев коронной шестерни.

      09608-32010
      09950-70010 09951-07200
      Table 8. Обозначения на рисунке
      *a Канавка
      Tip:

      Вбейте наружное кольцо подшипника корпуса так, чтобы оставалась видимой половина канавки для пружинного стопорного кольца вала полуосевой шестерни в чашке дифференциала.

    3. A01GZ1GE06

      Закрепите SST на чашке дифференциала с помощью 2 болтов.

      09571-50010
      Table 9. Обозначения на рисунке
      *1 Диск
    4. Затяните болт SST таким образом, чтобы диск SST слегка касался наружного кольца подшипника корпуса.

      Tip:

      Затяните болт SST, чтобы создать преднатяг подшипника корпуса дифференциала.

    5. A01GX78E02

      С помощью SST и молотка вбейте наружное кольцо подшипника корпуса со стороны тыльной поверхности коронной шестерни.

      09608-32010
      09950-70010 09951-07200
      Tip:

      Вбивайте наружное кольцо подшипника корпуса до тех пор, пока оно не коснется роликового подшипника внутреннего кольца подшипника корпуса.

    6. A01GWLB

      Используя съемник стопорных колец, установите пружинное стопорное кольцо вала полуосевой шестерни с тыльной стороны коронной шестерни.

    7. A01GX1BE02

      Расположите индикатор часового типа перпендикулярно поверхности фланца корпуса дифференциала.

    8. С помощью индикатора часового типа измерьте биение корпуса дифференциала.

      Максимально допустимое биение
      0,05 мм (0,00197 дюйма)
      Note:

      Не снимайте SST.

    9. A01GWLB

      Используя съемник стопорных колец, снимите пружинное стопорное кольцо вала полуосевой шестерни с тыльной стороны коронной шестерни.

    10. A01GZKXE03

      Затяните болт SST, чтобы выжать наружное кольцо подшипника корпуса со стороны тыльной поверхности коронной шестерни.

      09571-50010
      Table 10. Обозначения на рисунке
      *a Поверните
      Note:

      Будьте осторожны, не допускайте падения наружного кольца подшипника корпуса.

    11. A01GWD0E01

      Выверните 2 болта и снимите SST с чашки дифференциала.

    12. A01GZ2R

      Слегка приподнимите сторону коронной шестерни корпуса дифференциала и снимите наружное кольцо подшипника корпуса со стороны зубьев коронной шестерни.

    13. A01GX6I

      Снимите корпус дифференциала с чашки дифференциала.

      Note:

      Старайтесь не повредить подшипник корпуса.

  29. Click here

    СНИМИТЕ ВНУТРЕННЕЕ КОЛЬЦО ПОДШИПНИКА КОРПУСА ЗАДНЕГО ДИФФЕРЕНЦИАЛА

    Tip:

    Не снимайте подшипник корпуса заднего дифференциала, если не планируется замена корпуса дифференциала или подшипника корпуса дифференциала.


    1. Зажмите корпус дифференциала в тисках между алюминиевыми пластинами.

      Note:

      Не затягивайте тиски слишком сильно.

    2. A01GZO2E06

      С помощью SST снимите внутренние кольца левого и правого подшипников корпуса с корпуса дифференциала.

      09950-40011 09951-04020 09952-04010 09953-04030 09954-04010 09955-04061 09957-04010 09958-04011
      09950-60010 09951-00350 09951-00480 09952-06010
      Table 11. Обозначения на рисунке
      *a Поверните
      *b Удерживайте
      Note:

      Старайтесь не повредить обойму подшипника, если подшипник планируется использовать повторно.

      Tip:
      • Прежде чем устанавливать центральный болт SST, нанесите на его резьбу и наконечник детали гипоидное трансмиссионное масло.

      • Установите захват SST на внутреннее кольцо подшипника в углубление корпуса дифференциала.

  30. Click here

    ПРОВЕРЬТЕ БОКОВОЙ ЗАЗОР ПОЛУОСЕВОЙ ШЕСТЕРНИ ДИФФЕРЕНЦИАЛА


    1. Зажмите корпус дифференциала в тисках между алюминиевыми пластинами.

      Note:

      Не затягивайте тиски слишком сильно.

    2. A01H1H7E01

      Поместите индикатор часового типа на конец зубца ведущей шестерни под прямым углом. Удерживая полуосевую шестерню в корпусе дифференциала, убедитесь в том, что боковой зазор составляет 0 мм (0 дюймов).

      Если боковой зазор не соответствует заданному, замените корпус заднего дифференциала новым.