ГЕНЕРАТОР ПОВТОРНАЯ СБОРКА


  1. УСТАНОВИТЕ РОТОР ГЕНЕРАТОРА В СБОРЕ


    1. A01ELIU

      Установите раму генератора со стороны привода на шкив генератора.

    2. Вставьте ротор генератора в раму генератора со стороны привода.

    3. A01EIXFE01

      Установите шайбу на ротор генератора.

  2. УСТАНОВИТЕ КАТУШКУ ГЕНЕРАТОРА В СБОРЕ


    1. A01EJIJE02
      Обозначения на рисунке
      *1 Удлиненная торцевая головка (21 мм)

      С помощью торцевого ключа на 21 мм и пресса медленно запрессуйте катушку генератора.

    2. A01EMCC

      Вверните 4 болта.

      Torque:
      5,9 Н*м  { 60 кгс*см, 52 фунт-сила-дюйма }
  3. УСТАНОВИТЕ ЩЕТКОДЕРЖАТЕЛЬ ГЕНЕРАТОРА В СБОРЕ


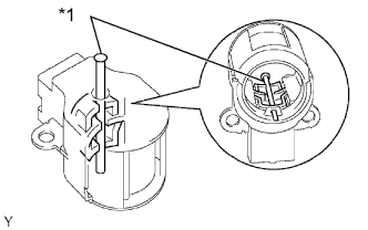
    1. A01EKBLE18
      Обозначения на рисунке
      *1 Штифт

      При установке 2 щеток в щеткодержатель генератора вставьте в щеткодержатель штырь диаметром 1,0 мм (0,0394 дюйма).

    2. A01ELDAE02
      Обозначения на рисунке
      *1 Штифт

      Установите щеткодержатель генератора и закрепите его 2 винтами.

      Torque:
      1,8 Н*м  { 18 кгс*см, 16 фунт-сила-дюймов }
    3. Извлеките штырь из щеткодержателя генератора.

  4. УСТАНОВИТЕ ЗАДНЮЮ ТОРЦЕВУЮ КРЫШКУ ГЕНЕРАТОРА


    1. A01EJ6T

      Установите изолятор контакта на катушку генератора.

    2. A01EKSS

      Установите заднюю торцевую крышку генератора и закрепите ее 3 гайками.

      Torque:
      4,6 Н*м  { 47 кгс*см, 41 фунт-сила-дюйм }
  5. УСТАНОВИТЕ ШКИВ ГЕНЕРАТОРА С МУФТОЙ


    1. Установите шкив генератора вручную, не закрепляя его.

    2. Закрепите генератор в тисках.

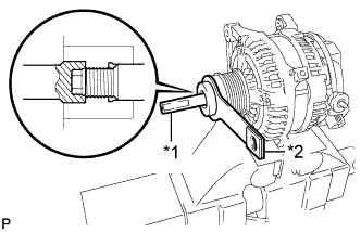
    3. A01ELTVE02
      Обозначения на рисунке
      *1 SST (A)
      *2 SST (B)

      Установите на шкив генератора SST (A) и (B), как показано на рисунке.

      SST
      09820-63021
    4. A01EMEVE02
      Обозначения на рисунке
      *1 SST (A)
      *2 SST (B)
      *3 Длина рычага

      Удерживая SST (A) гаечным ключом, поверните SST (B) по часовой стрелке, чтобы закрепить шкив генератора.

      Torque:
      без SST
      80 Н*м  { 816 кгс*см, 59 фунт-сила-футов }
      при использовании SST
      58 Н*м  { 591 кгс*см, 43 фунт-сила-фута }

      Note


      • Используйте динамометрический ключ с длиной рычага 260 мм (10,24 дюйма).

      • Данное значение момента затяжки действительно в случае, если SST установлен параллельно динамометрическому ключу.

      • Убедитесь, что рама со стороны привода надежно закреплена в тисках.

      • Надежно удерживайте SST (A) во время работы.

    5. Убедитесь, что шкив генератора вращается плавно.

  6. УСТАНОВИТЕ КРЫШКУ ШКИВА ГЕНЕРАТОРА


    1. A01ELY5

      Установите новую крышку шкива генератора на шкив.