СИСТЕМА ЗАРЯДКИ АККУМУЛЯТОРНОЙ БАТАРЕИ ПРОВЕРКА БЕЗ СНЯТИЯ С АВТОМОБИЛЯ


  1. ПРОВЕРЬТЕ СОСТОЯНИЕ АККУМУЛЯТОРНОЙ БАТАРЕИ

    Note

    Если аккумуляторная батарея разряжена, или возникли трудности с запуском двигателя, выполните следующие действия.


    1. Убедитесь, что аккумуляторная батарея не повреждена и не деформирована. В случае наличия серьезных повреждений, деформации или утечки воды замените аккумуляторную батарею.

    2. Проверьте количество электролита в каждом элементе батареи.


      1. A01ELJS

        Для необслуживаемых аккумуляторных батарей:


        • Если уровень электролита ниже минимально допустимого, замените аккумуляторную батарею.

        • Если уровень электролита выше минимально допустимого, измерьте напряжение аккумуляторной батареи во время прокручивания коленчатого вала двигателя. Если напряжение ниже 9,6 В, зарядите или замените аккумуляторную батарею.

          Tech Tips

          Перед проверкой напряжения аккумуляторной батареи выключите все электрооборудование (фары, двигатель вентилятора, обогреватель заднего стекла и т. д.)

    3. Проверьте напряжение.


      1. Выключите зажигание и включите фары на 20–30 с. Это процедура позволит удалить поверхностный заряд с аккумуляторной батареи.

      2. Измерьте напряжение аккумуляторной батареи в соответствии со значениями, приведенными в таблице.

        Номинальное напряжение
        Контакты для подключения диагностического прибора Условие Заданные условия
        Положительный (+) вывод - отрицательный (-) вывод 20°C (68°F) 12,5 - 12,9 В

        Если напряжение не соответствует указанному, зарядите или замените аккумуляторную батарею.

  2. ПРОВЕРЬТЕ ВЫВОДЫ АККУМУЛЯТОРНОЙ БАТАРЕИ


    1. Убедитесь, что выводы аккумуляторной батареи надежно закреплены и не покрыты окисной пленкой.

      Если выводы окислились, очистите их.

  3. ПРОВЕРЬТЕ ПРЕДОХРАНИТЕЛИ


    1. Измерьте сопротивление всех предохранителей системы зарядки.

      Tech Tips

      С системой зарядки связаны предохранители, указанные на схеме системы.

      Номинальное сопротивление
      Менее 1 Ом

      • Если результат не соответствует заданному, при необходимости замените предохранители.

  4. ПРОВЕРЬТЕ ПОЛИКЛИНОВОЙ РЕМЕНЬ


    1. A01ELSGE02

      Убедитесь в отсутствии износа, трещин и других признаков повреждения.

      При обнаружении каких-либо дефектов замените поликлиновой ремень.


      • Ремень имеет трещины.

      • Ремень изношен до такой степени, что обнажились волокна

      • Отсутствуют элементы ребер ремня.

    2. A01EIQ0E03

      Убедитесь в том, что приводной ремень правильно располагается в углублениях шкива.

      Tech Tips

      Рукой проверьте, не выскользнул ли ремень из канавки в нижней части шкива. Если ремень выскользнул из канавки шкива, замените ремень. Правильно установите новый поликлиновой ремень.

  5. ПРОВЕРЬТЕ ПРОВОДА, ПОДСОЕДИНЕННЫЕ К ГЕНЕРАТОРУ


    1. Осмотрите провода, подсоединенные к генератору.


      1. Убедитесь, что проводка исправна.

  6. УБЕДИТЕСЬ В ОТСУТСТВИИ НЕТИПИЧНЫХ ШУМОВ


    1. Прислушайтесь, не издает ли генератор нетипичные шумы.


      1. Убедитесь, что при работающем двигателе генератор не издает нетипичных шумов.

  7. ПРОВЕРЬТЕ ЦЕПЬ КОНТРОЛЬНОЙ ЛАМПЫ АВАРИЙНОГО СОСТОЯНИЯ ЗАРЯДА


    1. Установите замок зажигания в положение ON (ВКЛ). Убедитесь, что загорелась контрольная лампа аварийного состояния заряда аккумуляторной батареи.

    2. Включите двигатель и убедитесь, что контрольная лампа погасла.

      Если контрольная лампа не работает как указано, выполните диагностику цепи контрольной лампы аварийного состояния заряда.

  8. ПРОВЕРЬТЕ ЦЕПЬ ЗАРЯДКИ БЕЗ НАГРУЗКИ


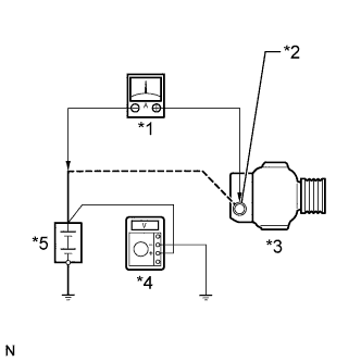
    1. A01EIZCE03
      Обозначения на рисунке
      *1 Амперметр
      *2 Контакт B
      *3 Генератор
      *4 Вольтметр
      *5 Аккумуляторная батарея

      Подсоедините вольтметр и амперметр к зарядной цепи следующим образом.


      1. Отсоедините провод от вывода B генератора и подсоедините его к отрицательному (-) выводу амперметра.

      2. Соедините положительный вывод (+) амперметра с выводом B генератора.

      3. Подсоедините положительный (+) подводящий провод вольтметра к положительному (+) выводу аккумуляторной батареи.

      4. Отрицательный подводящий провод (-) вольтметра подключите к массе.

    2. Проверьте цепь зарядки.


      1. Поддерживая частоту вращения коленчатого вала двигателя на уровне 2000 об/мин, проверьте показания амперметра и вольтметра.

        Номинальный ток
        Не более 10 A
        Номинальное напряжение
        13,2 - 14,8 В

        Если результат проверки не отвечает требованиям, отремонтируйте или замените генератор.

        Tech Tips

        Когда аккумуляторная батарея заряжена не полностью, показание может быть больше номинального тока.

  9. ПРОВЕРЬТЕ ЦЕПЬ ЗАРЯДКИ С НАГРУЗКОЙ


    1. При двигателе, работающем с частотой вращения коленчатого вала 2000 об/мин, включите фары дальнего света и установите переключатель вентилятора отопителя в положение "HI".

    2. Проверьте показание амперметра.

      Номинальный ток
      Не менее 30 А

      Если показание амперметра меньше номинального тока, отремонтируйте или замените генератор.

      Tech Tips

      Если аккумуляторная батарея заряжена полностью, показание может быть меньше номинального. В этом случае увеличьте электрическую нагрузку (включите стеклоочистители, обогреватель заднего стекла и т.д.) и снова проверьте показания амперметра.