РАСПРЕДВАЛ УСТАНОВКА


  1. УСТАНОВИТЕ ПОДШИПНИК РАСПРЕДВАЛА № 2


    1. Очистите подшипник распредвала № 2.

    2. Установите подшипник распредвала в кожух распредвала.

    3. A01EJNBE01

      С помощью штангенциркуля измерьте расстояние между кромкой кожуха распредвала и кромкой подшипника распредвала.

      Номинальное расстояние
      1,15 - 1,85 мм (0,0453 - 0,0728 дюйма)
  2. УСТАНОВИТЕ ПОДШИПНИК РАСПРЕДВАЛА № 1


    1. A01EKZYE01

      Очистите подшипник распредвала № 1.

    2. Установите подшипник распредвала в крышку подшипника распредвала № 1.

    3. С помощью штангенциркуля измерьте расстояние между кромкой крышки подшипника распредвала и кромкой подшипника распредвала.

      Номинальный размер A - B или B - A
      0-0,7 мм (0-0,0276 дюйма)
  3. УСТАНОВИТЕ ФИЛЬТР ГИДРАВЛИЧЕСКОГО КЛАПАНА ИЗМЕНЕНИЯ ФАЗ


    1. A01EM6ZE01

      Установите фильтр гидравлического клапана измерения фаз на крышку подшипника распредвала № 1.

  4. УСТАНОВИТЕ ЗУБЧАТОЕ КОЛЕСО РАСПРЕДВАЛА ВЫПУСКНЫХ КЛАПАНОВ В СБОРЕ


    1. A01EMSGE02
      Обозначения на рисунке
      *1 Отверстие под штифт
      *2 Штифт

      Совместите штифт распредвала с отверстием под штифт в зубчатом колесе распредвала № 2 выпускных клапанов и вставьте штифт в отверстие.

    2. A01ELO9E10
      Обозначения на рисунке
      *1 Зубчатое колесо распредвала выпускных клапанов
      *2 Зазор
      *3 Фланец распредвала
      *a НЕПРАВИЛЬНО
      *b ПРАВИЛЬНО
      *c Отсутствие зазора

      Убедитесь в отсутствии зазора между зубчатым колесом распредвала выпускных клапанов и фланцем распредвала.

    3. A01EJ28

      Зафиксируйте зубчатое колесо распредвала выпускных клапанов в сборе с помощью болта.

      Torque:
      85 Н*м  { 867 кгс*см, 63 фунт-сила-фута }

      Note

      Не разбирайте зубчатое колесо распредвала выпускных клапанов.

  5. УСТАНОВИТЕ ПОРШЕНЬ ЦИЛИНДРА №1 В ВМТ ТАКТА СЖАТИЯ


    1. A01EITZE01
      Обозначения на рисунке
      *1 Метка синхронизации

      Проверните шкив коленчатого вала так, чтобы совместить метку на нем (паз) с синхронизирующей меткой "0" на крышке цепного привода газораспределительного механизма.

  6. УСТАНОВИТЕ РАСПРЕДВАЛ № 2


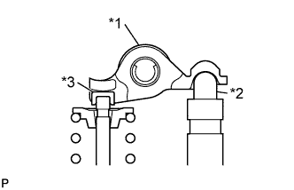
    1. A01EKLEE06
      Обозначения на рисунке
      *1 Рычаг привода клапана
      *2 Механизм регулировки зазора в приводе клапана
      *3 Колпак штока клапана

      Проверьте, чтобы рычаги приводов клапанов были установлены, как показано на рисунке.

    2. Почистите шейки распредвала.

    3. Нанесите тонкий слой моторного масла на шейки распредвала, крышки подшипника и кожуха распредвала.

    4. A01EK9HE01
      Обозначения на рисунке
      *1 Метка, нанесенная краской
      *2 Метка

      Зафиксируйте цепь, совместите метку с меткой, нанесенной краской, и установите распредвал.

  7. УСТАНОВИТЕ РАСПРЕДВАЛ


    1. A01EKLEE06
      Обозначения на рисунке
      *1 Рычаг привода клапана
      *2 Механизм регулировки зазора в приводе клапана
      *3 Колпак штока клапана

      Проверьте, чтобы рычаги приводов клапанов были установлены, как показано на рисунке.

    2. Почистите шейки распредвала.

    3. Нанесите тонкий слой моторного масла на шейки распредвала, крышки подшипника и кожуха распредвала.

    4. A01EJ2NE01
      Обозначения на рисунке
      *1 Штифт
      *a Примерно 17°

      Установите распредвал в кожух распредвала, как показано на рисунке.

  8. УСТАНОВИТЕ КРЫШКУ ПОДШИПНИКА РАСПРЕДВАЛА


    1. A01EKIX

      Проверьте метки и номера на крышках подшипников распредвала и установите их в правильное положение и в нужном направлении.

    2. A01EKXDE02

      Действуя в последовательности, указанной на рисунке, в несколько этапов равномерно затяните 10 болтов.

      Torque:
      27 Н*м  { 275 кгс*см, 20 фунт-сила-футов }
    3. A01EMBEE02

      Действуя в последовательности, указанной на рисунке, в несколько этапов равномерно затяните 11 болтов.

      Torque:
      16 Н*м  { 163 кгс*см, 12 фунт-сила-дюймов }
    4. Снова проверьте момент затяжки всех болтов.

  9. УСТАНОВИТЕ ЗУБЧАТОЕ КОЛЕСО РАСПРЕДВАЛА В СБОРЕ


    1. A01EKS7E04
      Обозначения на рисунке
      *1 Отверстие под штифт
      *2 Метка совмещения
      *a Положение опережения
      *b Положение запаздывания

      Проверьте положение зубчатого колеса распредвала.

      Note


      • Если зубчатое колесо распредвала установлено в положение опережения, во время установки не допускайте проворачивания зубчатого колеса распредвала по часовой стрелке.

      • Если зубчатое колесо распредвала было повернуто в положение максимального запаздывания, перед его затяжкой обязательно освободите стопорный штифт и установите зубчатое колесо распредвала в положение максимального опережения.

    2. A01EJBLE01
      Обозначения на рисунке
      *a Узкая часть
      *b Широкая часть

      Установите зубчатое колесо распредвала, как показано на рисунке.

    3. A01EIUGE01
      Обозначения на рисунке
      *a Узкая часть
      *b Широкая часть

      Поверните зубчатое колесо распредвала примерно на 180° против часовой стрелки.

    4. A01ELCXE01
      Обозначения на рисунке
      *1 Метка, нанесенная краской
      *2 Метка

      Чтобы установить цепь, совместите метку с меткой, нанесенной краской.

    5. A01EKOME02
      Обозначения на рисунке
      *1 Отверстие под штифт
      *2 Штифт

      Совместите штифт распредвала с отверстием под штифт в зубчатом колесе распредвала № 1 и вставьте штифт в отверстие.

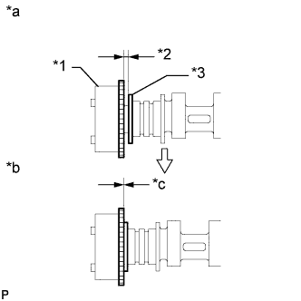
    6. A01ELO9E10
      Обозначения на рисунке
      *1 Зубчатое колесо распредвала
      *2 Зазор
      *3 Фланец распредвала
      *a НЕПРАВИЛЬНО
      *b ПРАВИЛЬНО
      *c Отсутствие зазора

      Убедитесь в отсутствии зазора между зубчатым колесом распредвала и фланцем распредвала.

    7. Зафиксируйте распредвал на месте рукой и вверните рукой установочный болт зубчатого колеса распредвала.

      Note

      При вворачивании болта не используйте какие-либо инструменты. При вворачивании болта с помощью инструментов стопорный штифт может получить повреждения.

    8. Если стопорный штифт не был освобожден, освободите его.


      1. A01EKWSE01
        Обозначения на рисунке
        *1 Зона герметизации клейкой лентой
        *a Проделайте отверстие

        Очистив и обезжирив масляное отверстие VVT со стороны впуска крышки подшипника распредвала № 1, полностью герметизируйте масляное отверстие с помощью клейкой ленты или подобного приспособления, как показано на рисунке, чтобы не допустить утечек воздуха.

        Note

        Обязательно полностью герметизируйте масляное отверстие, так как утечки воздуха из-за недостаточного уплотнения не позволят освободить стопорный штифт.

      2. Проколите отверстие в клейкой ленте, закрывающей отверстие, как показано на рисунке. (Процедура A)

      3. A01EISQ

        Подайте в проколотое на шаге A отверстие воздух под давлением около 200 кПа (2,0 кгс/см2, 29 фунта на кв. дюйм), чтобы освободить стопорный штифт.

        Note


        • При наличии утечек воздуха заново наложите клейкую ленту.

        • Перед тем, как подать воздух под давлением, закройте масляное отверстие куском ткани, чтобы не допустить разбрызгивания масла.

      4. С усилием проверните зубчатое колесо распредвала в направлении опережения (против часовой стрелки).

        Tech Tips

        В зависимости от давления воздуха зубчатое колесо распредвала может поворачиваться в сторону опережения без приложения ручного усилия.

      5. Снимите клейкую ленту с крышки подшипника распредвала № 1.

    9. A01EL6R

      Удерживая гаечным ключом шестигранный участок распредвала № 1, вверните болт.

      Torque:
      85 Н*м  { 867 кгс*см, 63 фунт-сила-фута }

      Note

      Соблюдайте осторожность, чтобы не повредить головку блока цилиндров или трубку свечного колодца гаечным ключом.

    10. A01EJ03E01
      Обозначения на рисунке
      *1 Метка, нанесенная краской
      *2 Метка

      Убедитесь, что каждая метка на зубчатом колесе распредвала и зубчатом колесе распредвала выпускных клапанов совмещена с меткой, расположенной, как показано на рисунке.

  10. ЗАЛЕЙТЕ МОТОРНОЕ МАСЛО


    1. A01EJP6

      Залейте 50 куб. см (3,1 куб. дюйма) моторного масла в масляное отверстие, показанное на рисунке.

      Note


      • Если механизмы регулировки зазора в приводе клапанов в сборе снимались, необходимо добавить масло.

      • Убедитесь, что камера низкого давления и масляные каналы механизмов регулировки зазора заполнены моторным маслом.

  11. УСТАНОВИТЕ НАПРАВЛЯЮЩУЮ ЦЕПНОГО ПРИВОДА ГАЗОРАСПРЕДЕЛИТЕЛЬНОГО МЕХАНИЗМА


    1. A01ELJY

      Установите направляющую цепного привода ГРМ и закрепите его болтом

      Torque:
      21 Н*м  { 214 кгс*см, 15 фунт-сила-футов }
  12. УСТАНОВИТЕ НАТЯЖИТЕЛЬ ЦЕПИ № 1 В СБОРЕ


    1. A01EJIWE01

      Поверните шкив коленчатого вала примерно на 10° по часовой стрелке.

    2. A01EL4U

      Установите новую прокладку и натяжитель цепи, закрепив их 2 гайками.

      Torque:
      10 Н*м  { 102 кгс*см, 7 фунт-сила-футов }

      Note

      Примите меры, чтобы не уронить прокладку внутрь крышки цепного привода газораспределительного механизма.

    3. Извлеките штифт из стопорной пластины.

  13. ПРОВЕРЬТЕ ПОРШЕНЬ ЦИЛИНДРА № 1 В ВМТ ТАКТА СЖАТИЯ


    1. A01EKYZE01
      Обозначения на рисунке
      *1 Установочная метка
      *2 Метка синхронизации
      *a Примерно 7°
      *b Примерно 32°

      Проверните шкив коленчатого вала так, чтобы совместить метку на нем (паз) с синхронизирующей меткой "0" на крышке цепного привода газораспределительного механизма.

    2. Убедитесь, что синхронизирующие метки на зубчатых колесах распредвалов находятся в положениях, показанных на рисунке. В противном случае проверните коленчатый вал на 1 оборот (360°) и совместите установочные метки, как показано на рисунке.

      Tech Tips

      Точка "A" не является синхронизирующей меткой.

  14. УСТАНОВИТЕ ПЛАСТИНУ КРЫШКИ ЦЕПНОГО ПРИВОДА ГАЗОРАСПРЕДЕЛИТЕЛЬНОГО МЕХАНИЗМА


    1. A01EMIJ

      Установите новую прокладку и пластину крышки цепного привода газораспределительного механизма и закрепите их 4 болтами.

      Torque:
      10 Н*м  { 102 кгс*см, 7 фунт-сила-футов }
  15. УСТАНОВИТЕ ПРОБКУ КРЫШКИ ЦЕПНОГО ПРИВОДА ГАЗОРАСПРЕДЕЛИТЕЛЬНОГО МЕХАНИЗМА


    1. A01EIZZ

      С помощью шестигранной головки на 14 мм установите новую прокладку и пробку.

      Torque:
      30 Н*м  { 306 кгс*см, 22 фунт-сила-фута }
  16. УСТАНОВИТЕ КРЫШКУ ГОЛОВКИ БЛОКА ЦИЛИНДРОВ В СБОРЕ


    1. A01EM0R

      Нанесите тонкий слой моторного масла на 3 новых прокладки.

    2. Установите 3 прокладки на крышки подшипников распредвала.

    3. Установите на крышку головки блока цилиндров новую прокладку.

      Note

      Удалите все масло с контактной поверхности.

    4. A01EL3TE01

      Нанесите герметик, как показано на рисунке.

      Герметик
      Фирменный герметик Seal Packing Black от компании Toyota, Three bond 1207B или аналогичный
      Номинальный диаметр уплотнения
      3,0 - 6,0 мм (0,118 - 0,236 дюйма)
      Ширина A участка нанесения
      5,0 мм (0,197 дюйма)

      Note


      • Удалите все масло с контактной поверхности.

      • Установка крышки головки блока цилиндров должна быть произведена в течение 3 мин после нанесения герметика, а затяжка болтов – в течение 15 мин.

    5. A01EM9PE01

      Совместите крышку головки блока цилиндров с выступом A. Затем совместите крышку головки блока цилиндров с выступом B и установите крышку головки блока цилиндров.

    6. Установите 3 новые уплотнительные шайбы, вверните 16 болтов и затяните их в порядке, показанном на рисунке.

      Torque:
      12 Н*м  { 122 кгс*см, 9 фунт-сила-футов }

      Note

      Не заливайте масло в течение, как минимум, 4 часов после установки.

  17. УСТАНОВИТЕ КАТУШКУ ЗАЖИГАНИЯ В СБОРЕ


    1. A01EJ1R

      Установите 4 катушки зажигания в сборе и закрепите их 4 болтами.

      Torque:
      10 Н*м  { 102 кгс*см, 7 фунт-сила-футов }
    2. Подсоедините разъемы 4 катушек зажигания.

  18. ПОДСОЕДИНИТЕ ЖГУТ ЭЛЕКТРОПРОВОДКИ ДВИГАТЕЛЯ


    1. A01EIMVE02

      Подсоедините разъемы и зажимы и установите жгут электропроводки двигателя на двигатель, закрепив его болтами и гайками.

      Torque:
      Гайка A
      9,8 Н*м  { 100 кгс*см, 87 фунт-сила-дюймов }
      Гайка B
      8,4 Н*м  { 86 кгс*см, 74 фунт-сила-дюйма }
      Болт
      8,4 Н*м  { 86 кгс*см, 74 фунт-сила-дюйма }
  19. ПОДСОЕДИНИТЕ ШЛАНГ ВЕНТИЛЯЦИИ КАРТЕРА В СБОРЕ


    1. A01EKWW

      Подключите шланг вентиляции картера к крышке головки блока цилиндров.

  20. УСТАНОВИТЕ ПОДВИЖНУЮ РЕЙКУ ДВИГАТЕЛЯ


    1. A01EMOZ

      Установите подвижную рейку двигателя и закрепите ее 4 болтами.

    2. A01EL0D

      Временно установите опору двигателя № 2 и закрепите ее 2 болтами

    3. Затяните 6 болтов.

      Torque:
      38 Н*м  { 387 кгс*см, 28 фунт-сила-футов }
  21. УСТАНОВИТЕ КОРПУС ВОЗДУШНОГО ФИЛЬТРА В СБОРЕ


    1. A01EK1G

      Установите корпус воздушного фильтра и закрепите его 3 болтами.

      Torque:
      5,0 Н*м  { 51 кгс*см, 44 фунт-сила-дюйма }
    2. Присоедините зажим жгута проводов.

  22. УСТАНОВИТЕ ФИЛЬТРУЮЩИЙ ЭЛЕМЕНТ ВОЗДУШНОГО ФИЛЬТРА В СБОРЕ


    1. Установите фильтрующий элемент воздушного фильтра в сборе.

  23. УСТАНОВИТЕ КРЫШКУ ВОЗДУШНОГО ФИЛЬТРА В СБОРЕ


    1. A01EJ98

      Установите крышку воздушного фильтра и закрепите ее 2 болтами.

      Torque:
      5,0 Н*м  { 51 кгс*см, 44 фунт-сила-дюйма }
    2. A01EIQ3

      Подсоедините шланг воздушного фильтра и затяните болт хомута шланга.

    3. Подсоедините разъем датчика массового расхода воздуха и присоедините зажим жгута проводов к крышке воздушного фильтра.

  24. УСТАНОВИТЕ ВХОДНОЙ ПАТРУБОК ВОЗДУШНОГО ФИЛЬТРА В СБОРЕ


    1. A01EKOK

      Установите входной патрубок воздушного фильтра в сборе и закрепите его 2 болтами.

      Torque:
      5,0 Н*м  { 51 кгс*см, 44 фунт-сила-дюйма }
  25. ПОДСОЕДИНИТЕ ПРОВОД К ОТРИЦАТЕЛЬНОМУ ВЫВОДУ АККУМУЛЯТОРНОЙ БАТАРЕИ

    Note

    После подсоединения провода необходимо инициализировать некоторые системы (см. стр. Click here).

  26. ПРОВЕРЬТЕ, НЕТ ЛИ УТЕЧЕК МАСЛА

  27. УСТАНОВИТЕ УПЛОТНЕНИЕ ФАРТУКА ПРАВОГО ПЕРЕДНЕГО КРЫЛА


    1. A01EITO

      Установите уплотнение фартука правого переднего крыла и закрепите его 2 болтами и фиксатором.

  28. УСТАНОВИТЕ ПРАВЫЙ ПЕРЕДНИЙ ПОДКРЫЛОК

  29. УСТАНОВИТЕ ЗАЩИТУ КАРТЕРА ДВИГАТЕЛЯ № 1

  30. УСТАНОВИТЕ КРЫШКУ ДВИГАТЕЛЯ № 1 В СБОРЕ


    1. A01EK9G

      Закрепите 3 держателя и установите крышку двигателя № 1.

  31. УСТАНОВИТЕ ПРАВОЕ ПЕРЕДНЕЕ КОЛЕСО