CAN COMMUNICATION SYSTEM Check CAN Bus Line for Short to +B

DESCRIPTION

There may be a short circuit between the CAN bus main wire and +B when no resistance exists between terminals 6 (CANH) and 16 (BAT) or 14 (CANL) and 16 (BAT) of the DLC3.

Symptom Trouble Area
No resistance exists between terminals 6 (CANH) and 16 (BAT) or 14 (CANL) and 16 (BAT) of DLC3.
  • Short to +B in CAN bus main wire

  • Short to +B in CAN bus branch wire

  • Combination meter assembly

  • ECM

  • Power steering ECU assembly

  • Center airbag sensor assembly

  • Air conditioning amplifier assembly*3

  • Skid control ECU (brake actuator assembly)

  • Steering angle sensor (spiral cable with sensor sub-assembly)

  • Yaw rate and acceleration sensor

  • Main body ECU (driver side junction block assembly)

  • AWD control ECU*1

  • Certification ECU (smart key ECU assembly)*2

  • Power management control ECU*2

  • Navigation receiver assembly*4

  • Radio and display receiver assembly*5

  • CAN No. 1 junction connector

  • CAN No. 2 junction connector

*1: for AWD

*2: w/ Smart entry and start system

*3: w/o Smart entry and start system

*4: for Navigation receiver type

*5: for Radio and display type

WIRING DIAGRAM

A01EMN1E03
A01ELCUE09

INSPECTION PROCEDURE

Note


  • Turn the ignition switch off before measuring the resistances between CAN bus main wires and between CAN bus branch wires.

  • Turn the ignition switch off before inspecting CAN bus wires for a ground short.

  • After the ignition switch is turned off, check that the key reminder warning system and light reminder warning system are not operating.

  • Before measuring the resistance, leave the vehicle as is for at least 1 minute and do not operate the ignition switch, any other switches or the doors. If any doors need to be opened in order to check connectors, open the doors and leave them open.

Tech Tips


  • Operating the ignition switch, any other switches or a door triggers related ECU and sensor communication on the CAN. This communication will cause the resistance value to change.

  • Even after DTCs are cleared, if a DTC is stored again after driving the vehicle for a while, the malfunction may be occurring due to vibration of the vehicle. In such a case, wiggling the ECUs or wire harness while performing the inspection below may help determine the cause of the malfunction.

PROCEDURE


  1. CHECK FOR SHORT TO +B IN CAN BUS WIRE (CAN NO. 1 J/C)


    1. Disconnect the cable from the negative (-) battery terminal.

    2. A01EKZ3E32
      Text in Illustration
      *1

      Front view of wire harness connector

      (to CAN No. 1 Junction Connector)

      *2 to CAN No. 2 Junction Connector

      Disconnect the CAN No. 1 junction connector (D56).

    3. A01EJIYE92
      Text in Illustration
      *3 DLC3

      Measure the resistance according to the value(s) in the table below.

      Standard Resistance
      Tester Connection Condition Specified Condition
      D1-6 (CANH) - D1-16 (BAT) Cable disconnected from negative (-) battery terminal 6 kΩ or higher
      D1-14 (CANL) - D1-16 (BAT) Cable disconnected from negative (-) battery terminal 6 kΩ or higher

    NG
    OK
  2. CHECK FOR SHORT TO +B IN CAN BUS WIRE (CAN NO. 1 J/C)


    1. Disconnect the CAN No. 1 junction connector (A44).

      A01EK60E41
      Text in Illustration
      *1 Front view of wire harness connector (to CAN No. 1 Junction Connector)
      *2 DLC3
      *3 to Skid Control ECU (Brake Actuator Assembly)
      *4 to ECM
    2. Measure the resistance according to the value(s) in the table below.

      Standard Resistance
      Tester Connection Condition Specified Condition Connected to
      A44-1 (CANH) - D1-16 (BAT) Cable disconnected from negative (-) battery terminal 6 kΩ or higher Skid control ECU (Brake actuator assembly)
      A44-12 (CANL) - D1-16 (BAT) Cable disconnected from negative (-) battery terminal 6 kΩ or higher
      A44-4 (CANH) - D1-16 (BAT) Cable disconnected from negative (-) battery terminal 6 kΩ or higher ECM
      A44-15 (CANL) - D1-16 (BAT) Cable disconnected from negative (-) battery terminal 6 kΩ or higher
      Result
      Result Proceed to
      OK A
      NG (Skid control ECU (brake actuator assembly) branch wire) B
      NG (ECM main wire) C

    B
    C
    A
  3. CHECK FOR SHORT TO +B IN CAN BUS WIRE (CAN NO. 1 J/C)


    1. Measure the resistance according to the value(s) in the table below.

      A01ELIZE04
      Standard Resistance
      Tester Connection Condition Specified Condition Connected to
      D56-3 (CANH) - D1-16 (BAT) Cable disconnected from negative (-) battery terminal 6 kΩ or higher Air conditioning amplifier assembly*1
      D56-14 (CANL) - D1-16 (BAT) Cable disconnected from negative (-) battery terminal 6 kΩ or higher
      D56-10 (CANH) - D1-16 (BAT) Cable disconnected from negative (-) battery terminal 6 kΩ or higher Power management control ECU*2
      D56-21 (CANL) - D1-16 (BAT) Cable disconnected from negative (-) battery terminal 6 kΩ or higher
      D56-11 (CANH) - D1-16 (BAT) Cable disconnected from negative (-) battery terminal 6 kΩ or higher AWD control ECU*3
      D56-22 (CANL) - D1-16 (BAT) Cable disconnected from negative (-) battery terminal 6 kΩ or higher

      • *1: w/o Smart entry and start system

      • *2: w/ Smart entry and start system

      • *3: for AWD

      Text in Illustration
      *1 Front view of wire harness connector (to CAN No. 1 Junction Connector)
      *2 DLC3
      *3 to Air Conditioning Amplifier Assembly
      *4 to Power Management Control ECU
      *5 to AWD Control ECU
      Result
      Result Proceed to
      OK A
      NG (Air conditioning amplifier assembly branch wire) B
      NG (Power management control ECU branch wire) C
      NG (AWD control ECU branch wire) D

    B
    C
    D
    A
  4. CHECK FOR SHORT TO +B IN CAN BUS WIRE (CAN NO. 2 J/C - CAN NO. 1 J/C)


    1. A01EKS0E35
      Text in Illustration
      *1

      Front view of wire harness connector

      (to CAN No. 2 Junction Connector)

      *2 DLC3
      *3 to CAN No. 1 Junction Connector

      Disconnect the CAN No. 2 junction connector.

    2. Measure the resistance according to the value(s) in the table below.

      Standard Resistance
      Tester Connection Condition Specified Condition
      D68-9 (CANH) - D1-16 (BAT) Cable disconnected from negative (-) battery terminal 6 kΩ or higher
      D68-20 (CANL) - D1-16 (BAT) Cable disconnected from negative (-) battery terminal 6 kΩ or higher

    NG
    OK
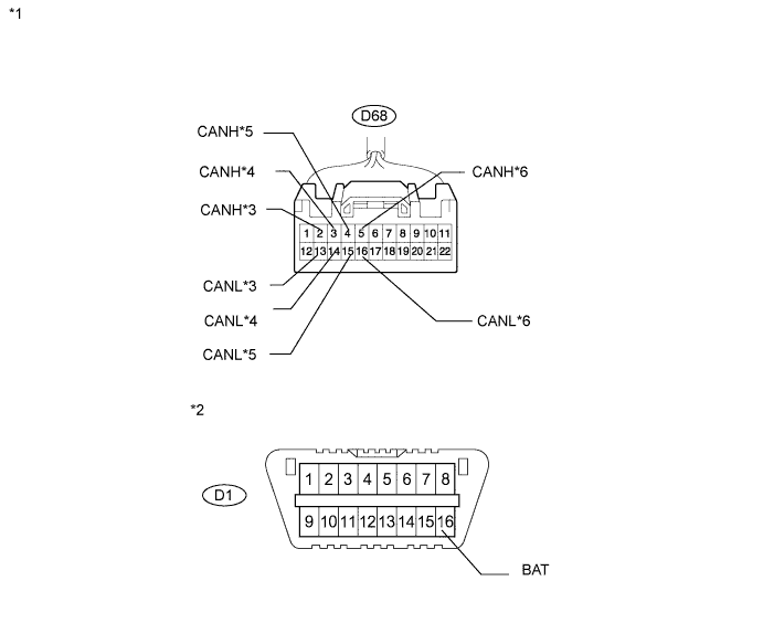
  5. CHECK FOR SHORT TO +B IN CAN BUS WIRE (CAN NO. 2 J/C)


    1. Measure the resistance according to the value(s) in the table below.

      A01EK60E43
      Standard Resistance
      Tester Connection Condition Specified Condition Connected to
      D68-2 (CANH) - D1-16 (BAT) Cable disconnected from negative (-) battery terminal 6 kΩ or higher Center airbag sensor assembly
      D68-13 (CANL) - D1-16 (BAT) Cable disconnected from negative (-) battery terminal 6 kΩ or higher
      D68-3 (CANH) - D1-16 (BAT) Cable disconnected from negative (-) battery terminal 6 kΩ or higher Yaw rate and acceleration sensor
      D68-14 (CANL) - D1-16 (BAT) Cable disconnected from negative (-) battery terminal 6 kΩ or higher
      D68-4 (CANH) - D1-16 (BAT) Cable disconnected from negative (-) battery terminal 6 kΩ or higher Main body ECU (Driver side junction block assembly)
      D68-15 (CANL) - D1-16 (BAT) Cable disconnected from negative (-) battery terminal 6 kΩ or higher
      D68-5 (CANH) - D1-16 (BAT) Cable disconnected from negative (-) battery terminal 6 kΩ or higher Steering angle sensor (Spiral cable with sensor sub-assembly)
      D68-16 (CANL) - D1-16 (BAT) Cable disconnected from negative (-) battery terminal 6 kΩ or higher
      Text in Illustration
      *1 Front view of wire harness connector (to CAN No. 2 Junction Connector)
      *2 DLC3
      *3 to Center Airbag Sensor Assembly
      *4 to Yaw Rate and Acceleration Sensor
      *5 to Main Body ECU (Driver Side Junction Block Assembly)
      *6 to Steering Angle Sensor (Spiral Cable with Sensor Sub-assembly)
      Result
      Result Proceed to
      OK A
      NG (Center airbag sensor assembly branch wire) B
      NG (Yaw rate and acceleration sensor branch wire) C
      NG (Main body ECU (driver side junction block assembly) branch wire) D
      NG (Steering angle sensor (spiral cable with sensor sub-assembly) branch wire) E

    B
    C
    D
    E
    A
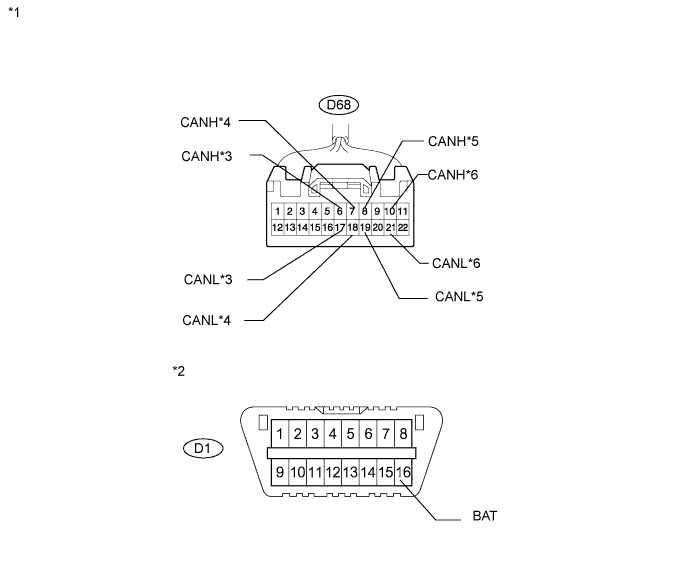
  6. CHECK FOR SHORT TO +B IN CAN BUS WIRE (CAN NO. 2 J/C)


    1. Measure the resistance according to the value(s) in the table below.

      A01EK60E44
      Standard Resistance
      Tester Connection Condition Specified Condition Connected to
      D68-6 (CANH) - D1-16 (BAT) Cable disconnected from negative (-) battery terminal 6 kΩ or higher DLC3
      D68-17 (CANL) - D1-16 (BAT) Cable disconnected from negative (-) battery terminal 6 kΩ or higher
      D68-7 (CANH) - D1-16 (BAT) Cable disconnected from negative (-) battery terminal 6 kΩ or higher Power steering ECU assembly
      D68-18 (CANL) - D1-16 (BAT) Cable disconnected from negative (-) battery terminal 6 kΩ or higher
      D68-8 (CANH) - D1-16 (BAT) Cable disconnected from negative (-) battery terminal 6 kΩ or higher Combination meter assembly
      D68-19 (CANL) - D1-16 (BAT) Cable disconnected from negative (-) battery terminal 6 kΩ or higher
      D68-10 (CANH) - D1-16 (BAT) Cable disconnected from negative (-) battery terminal 6 kΩ or higher Certification ECU (Smart key ECU assembly)*1
      D68-21 (CANL) - D1-16 (BAT) Cable disconnected from negative (-) battery terminal 6 kΩ or higher

      • *1: w/ Smart entry and start system

      Text in Illustration
      *1 Front view of wire harness connector (to CAN No. 2 Junction Connector)
      *2 DLC3
      *3 to DLC3
      *4 to Power Steering ECU Assembly
      *5 to Combination Meter Assembly
      *6 to Certification ECU (Smart Key ECU Assembly)
      Result
      Result Proceed to
      OK A
      NG (DLC3 branch wire) B
      NG (Power steering ECU assembly branch wire) C
      NG (Combination meter assembly main wire) D
      NG (Certification ECU (smart key ECU assembly) branch wire) E

    B
    C
    D
    E
    A
  7. CHECK FOR SHORT TO +B IN CAN BUS WIRE (CAN NO. 2 J/C)


    1. A01EKTLE45
      Text in Illustration
      *1 Front view of wire harness connector (to CAN No. 2 Junction Connector)
      *2 DLC3
      *3
      • to Navigation Receiver Assembly

      • to Radio and Display Receiver Assembly

      Measure the resistance according to the value(s) in the table below.

      Standard Resistance
      Tester Connection Condition Specified Condition Connected to
      D68-11 (CANH) - D1-16 (BAT) Cable disconnected from negative (-) battery terminal 6 kΩ or higher
      • Navigation receiver assembly (for Navigation Receiver Type)

      • Radio and display receiver assembly (for Radio and Display Type)

      D68-22 (CANL) - D1-16 (BAT) Cable disconnected from negative (-) battery terminal 6 kΩ or higher
      Result
      Result Proceed to
      OK A
      NG (Navigation receiver assembly branch wire) B
      NG (Radio and display receiver assembly branch wire) C

    B
    C
    A
  8. CHECK FOR SHORT TO +B IN CAN BUS WIRE (CAN NO. 1 J/C - SKID CONTROL ECU (BRAKE ACTUATOR ASSEMBLY))


    1. A01EIZEE61
      Text in Illustration
      *1

      Front view of wire harness connector

      (to Skid Control ECU (Brake Actuator Assembly))

      Disconnect the skid control ECU (brake actuator assembly) connector.

    2. A01EKGNE18
      Text in Illustration
      *2

      Front view of wire harness connector

      (to CAN No. 1 Junction Connector)

      *3 DLC3
      *4 to Skid Control ECU (Brake Actuator Assembly)

      Measure the resistance according to the value(s) in the table below.

      Standard Resistance
      Tester Connection Condition Specified Condition
      A44-1 (CANH) - D1-16 (BAT) Cable disconnected from negative (-) battery terminal 6 kΩ or higher
      A44-12 (CANL) - D1-16 (BAT) Cable disconnected from negative (-) battery terminal 6 kΩ or higher

    NG
    OK
  9. CHECK FOR SHORT TO +B IN CAN BUS WIRE (CAN NO. 1 J/C - ECM)


    1. A01EMIIE80
      Text in Illustration
      *1

      Front view of wire harness connector

      (to ECM)

      Disconnect the ECM connector.

    2. A01EKGNE98
      Text in Illustration
      *4

      Front view of wire harness connector

      (to CAN No. 1 Junction Connector)

      *5 DLC3
      *6 to ECM

      Measure the resistance according to the value(s) in the table below.

      Standard Resistance
      Tester Connection Condition Specified Condition
      A44-4 (CANH) - D1-16 (BAT) Cable disconnected from negative (-) battery terminal 6 kΩ or higher
      A44-15 (CANL) - D1-16 (BAT) Cable disconnected from negative (-) battery terminal 6 kΩ or higher

    NG
    OK
  10. CHECK FOR SHORT TO +B IN CAN BUS WIRE (CAN NO. 1 J/C - AIR CONDITIONING AMPLIFIER ASSEMBLY)


    1. A01EJ59E17
      Text in Illustration
      *1

      Front view of wire harness connector

      (to Air Conditioning Amplifier Assembly)

      Disconnect the air conditioning amplifier assembly connector.

    2. Measure the resistance according to the value(s) in the table below.

      A01ELIZE05
      Standard Resistance
      Tester Connection Condition Specified Condition
      D56-3 (CANH) - D1-16 (BAT) Cable disconnected from negative (-) battery terminal 6 kΩ or higher
      D56-14 (CANL) - D1-16 (BAT) Cable disconnected from negative (-) battery terminal 6 kΩ or higher
      Text in Illustration
      *2

      Front view of wire harness connector

      (to CAN No. 1 Junction Connector)

      *3 DLC3
      *4 to Air Conditioning Amplifier Assembly

    NG
    OK
  11. CHECK FOR SHORT TO +B IN CAN BUS WIRE (CAN NO. 1 J/C - POWER MANAGEMENT CONTROL ECU)


    1. A01ELA6E17
      Text in Illustration
      *1

      Rear view of wire harness connector

      (to Power Management Control ECU)

      Disconnect the power management control ECU connector.

    2. A01EKGNE21
      Text in Illustration
      *2

      Front view of wire harness connector

      (to CAN No. 1 Junction Connector)

      *3 DLC3
      *4 to Power Management Control ECU

      Measure the resistance according to the value(s) in the table below.

      Standard Resistance
      Tester Connection Condition Specified Condition
      D56-10 (CANH) - D1-16 (BAT) Cable disconnected from negative (-) battery terminal 6 kΩ or higher
      D56-21 (CANL) - D1-16 (BAT) Cable disconnected from negative (-) battery terminal 6 kΩ or higher

    NG
    OK
  12. CHECK FOR SHORT TO +B IN CAN BUS WIRE (CAN NO. 1 J/C - AWD CONTROL ECU)


    1. A01EK6DE07
      Text in Illustration
      *1

      Front view of wire harness connector

      (to AWD Control ECU)

      Disconnect the AWD control ECU connector.

    2. A01EKGNE22
      Text in Illustration
      *2

      Front view of wire harness connector

      (to CAN No. 1 Junction Connector)

      *3 DLC3
      *4 to AWD Control ECU

      Measure the resistance according to the value(s) in the table below.

      Standard Resistance
      Tester Connection Condition Specified Condition
      D56-11 (CANH) - D1-16 (BAT) Cable disconnected from negative (-) battery terminal 6 kΩ or higher
      D56-22 (CANL) - D1-16 (BAT) Cable disconnected from negative (-) battery terminal 6 kΩ or higher

    NG
    OK
  13. CHECK FOR SHORT TO +B IN CAN BUS WIRE (CAN NO. 2 J/C - CENTER AIRBAG SENSOR ASSEMBLY)


    1. A01EM09E08
      Text in Illustration
      *1

      Front view of wire harness connector

      (to Center Airbag Sensor Assembly)

      Disconnect the center airbag sensor assembly connector.

    2. A01EKGNE23
      Text in Illustration
      *2

      Front view of wire harness connector

      (to CAN No. 2 Junction Connector)

      *3 DLC3
      *4 to Center Airbag Sensor Assembly

      Measure the resistance according to the value(s) in the table below.

      Standard Resistance
      Tester Connection Condition Specified Condition
      D68-2 (CANH) - D1-16 (BAT) Cable disconnected from negative (-) battery terminal 6 kΩ or higher
      D68-13 (CANL) - D1-16 (BAT) Cable disconnected from negative (-) battery terminal 6 kΩ or higher

    NG
    OK
  14. CHECK FOR SHORT TO +B IN CAN BUS WIRE (CAN NO. 2 J/C - YAW RATE AND ACCELERATION SENSOR)


    1. A01ELLGE09
      Text in Illustration
      *1

      Front view of wire harness connector

      (to Yaw Rate and Acceleration Sensor)

      Disconnect the yaw rate and acceleration sensor connector.

    2. A01EKGNE24
      Text in Illustration
      *2

      Front view of wire harness connector

      (to CAN No. 2 Junction Connector)

      *3 DLC3
      *4 to Yaw Rate and Acceleration Sensor

      Measure the resistance according to the value(s) in the table below.

      Standard Resistance
      Tester Connection Condition Specified Condition
      D68-3 (CANH) - D1-16 (BAT) Cable disconnected from negative (-) battery terminal 6 kΩ or higher
      D68-14 (CANL) - D1-16 (BAT) Cable disconnected from negative (-) battery terminal 6 kΩ or higher

    NG
    OK
  15. CHECK FOR SHORT TO +B IN CAN BUS WIRE (CAN NO. 2 J/C - MAIN BODY ECU (DRIVER SIDE JUNCTION BLOCK ASSEMBLY))


    1. A01EMNWE10
      Text in Illustration
      *1

      Front view of wire harness connector

      (to Main Body ECU (Driver Side Junction Block Assembly))

      Disconnect the main body ECU (driver side junction block assembly) connector.

    2. A01EKGNE25
      Text in Illustration
      *2

      Front view of wire harness connector

      (to CAN No. 2 Junction Connector)

      *3 DLC3
      *4 to Main Body ECU (Driver Side Junction Block Assembly)

      Measure the resistance according to the value(s) in the table below.

      Standard Resistance
      Tester Connection Condition Specified Condition
      D68-4 (CANH) - D1-16 (BAT) Cable disconnected from negative (-) battery terminal 6 kΩ or higher
      D68-15 (CANL) - D1-16 (BAT) Cable disconnected from negative (-) battery terminal 6 kΩ or higher

    NG
    OK
  16. CHECK FOR SHORT TO +B IN CAN BUS WIRE (CAN NO. 2 J/C - STEERING ANGLE SENSOR (SPIRAL CABLE WITH SENSOR SUB-ASSEMBLY))


    1. A01ELYUE17
      Text in Illustration
      *1

      Front view of wire harness connector

      (to Steering Angle Sensor (Spiral Cable with Sensor Sub-assembly))

      Disconnect the steering angle sensor (spiral cable with sensor sub-assembly) connector.

    2. A01EKGNE26
      Text in Illustration
      *2

      Front view of wire harness connector

      (to CAN No. 2 Junction Connector)

      *3 DLC3
      *4 to Steering Angle Sensor (Spiral Cable with Sensor Sub-assembly)

      Measure the resistance according to the value(s) in the table below.

      Standard Resistance
      Tester Connection Condition Specified Condition
      D68-5 (CANH) - D1-16 (BAT) Cable disconnected from negative (-) battery terminal 6 kΩ or higher
      D68-16 (CANL) - D1-16 (BAT) Cable disconnected from negative (-) battery terminal 6 kΩ or higher

    NG
    OK
  17. CHECK FOR SHORT TO +B IN CAN BUS WIRE (CAN NO. 2 J/C - POWER STEERING ECU ASSEMBLY)


    1. A01EJMFE07
      Text in Illustration
      *1

      Front view of wire harness connector

      (to Power Steering ECU Assembly)

      Disconnect the power steering ECU assembly connector.

    2. A01EKGNE27
      Text in Illustration
      *2

      Front view of wire harness connector

      (to CAN No. 2 Junction Connector)

      *3 DLC3
      *4 to Power Steering ECU Assembly

      Measure the resistance according to the value(s) in the table below.

      Standard Resistance
      Tester Connection Condition Specified Condition
      D68-7 (CANH) - D1-16 (BAT) Cable disconnected from negative (-) battery terminal 6 kΩ or higher
      D68-18 (CANL) - D1-16 (BAT) Cable disconnected from negative (-) battery terminal 6 kΩ or higher

    NG
    OK
  18. CHECK FOR SHORT TO +B IN CAN BUS WIRE (CAN NO. 2 J/C - COMBINATION METER ASSEMBLY)


    1. A01EMBVE01
      Text in Illustration
      *1

      Front view of wire harness connector

      (to Combination Meter Assembly)

      Disconnect the combination meter assembly connector.

    2. A01EKGNE28
      Text in Illustration
      *2

      Front view of wire harness connector

      (to CAN No. 2 Junction Connector)

      *3 DLC3
      *4 to Combination Meter Assembly

      Measure the resistance according to the value(s) in the table below.

      Standard Resistance
      Tester Connection Condition Specified Condition
      D68-8 (CANH) - D1-16 (BAT) Cable disconnected from negative (-) battery terminal 6 kΩ or higher
      D68-19 (CANL) - D1-16 (BAT) Cable disconnected from negative (-) battery terminal 6 kΩ or higher

    NG
    OK
  19. CHECK FOR SHORT TO +B IN CAN BUS WIRE (CAN NO. 2 J/C - CERTIFICATION ECU (SMART KEY ECU ASSEMBLY))


    1. A01EJ4DE16
      Text in Illustration
      *1

      Front view of wire harness connector

      (to Certification ECU (Smart Key ECU Assembly))

      Disconnect the certification ECU (smart key ECU assembly) connector.

    2. A01EKGNE29
      Text in Illustration
      *2

      Front view of wire harness connector

      (to CAN No. 2 Junction Connector)

      *3 DLC3
      *4 to Certification ECU (Smart Key ECU Assembly)

      Measure the resistance according to the value(s) in the table below.

      Standard Resistance
      Tester Connection Condition Specified Condition
      D68-10 (CANH) - D1-16 (BAT) Cable disconnected from negative (-) battery terminal 6 kΩ or higher
      D68-21 (CANL) - D1-16 (BAT) Cable disconnected from negative (-) battery terminal 6 kΩ or higher

    NG
    OK
  20. CHECK FOR SHORT TO +B IN CAN BUS WIRE (CAN NO. 2 J/C - NAVIGATION RECEIVER ASSEMBLY)


    1. A01ELRIE50
      Text in Illustration
      *1

      Front view of wire harness connector

      (to Navigation Receiver Assembly)

      Disconnect the navigation receiver assembly connector.

    2. A01EKTLE46
      Text in Illustration
      *2

      Front view of wire harness connector

      (to CAN No. 2 Junction Connector)

      *3 DLC3
      *4 to Navigation Receiver Assembly

      Measure the resistance according to the value(s) in the table below.

      Standard Resistance
      Tester Connection Condition Specified Condition
      D68-11 (CANH) - D1-16 (BAT) Cable disconnected from negative (-) battery terminal 6 kΩ or higher
      D68-22 (CANL) - D1-16 (BAT) Cable disconnected from negative (-) battery terminal 6 kΩ or higher

    NG
    OK
  21. CHECK FOR SHORT TO +B IN CAN BUS WIRE (CAN NO. 2 J/C - RADIO AND DISPLAY RECEIVER ASSEMBLY)


    1. A01ELRIE61
      Text in Illustration
      *1

      Front view of wire harness connector

      (to Radio and Display Receiver Assembly)

      Disconnect the radio and display receiver assembly connector.

    2. A01EKTLE46
      Text in Illustration
      *2

      Front view of wire harness connector

      (to CAN No. 2 Junction Connector)

      *3 DLC3
      *4 to Radio and Display Receiver Assembly

      Measure the resistance according to the value(s) in the table below.

      Standard Resistance
      Tester Connection Condition Specified Condition
      D68-11 (CANH) - D1-16 (BAT) Cable disconnected from negative (-) battery terminal 6 kΩ or higher
      D68-22 (CANL) - D1-16 (BAT) Cable disconnected from negative (-) battery terminal 6 kΩ or higher

    NG
    OK