DESCRIPTION
There may be an open circuit in the CAN bus main wire and/or the DLC3 branch wire when the resistance between terminals 6 (CANH) and 14 (CANL) of the DLC3 is 70 Ω or higher.
| Symptom | Trouble Area |
|---|---|
| Resistance between terminals 6 (CANH) and 14 (CANL) of DLC3 is 70 Ω or higher. |
|
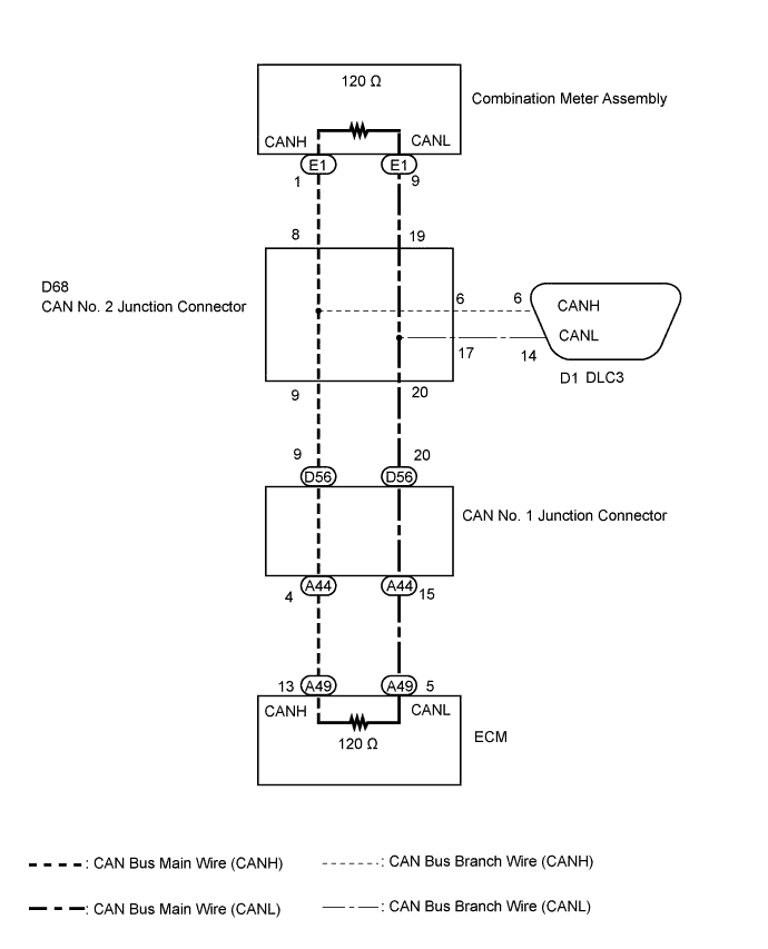
WIRING DIAGRAM
INSPECTION PROCEDURE
Note
Turn the ignition switch off before measuring the resistances between CAN bus main wires and between CAN bus branch wires.
Turn the ignition switch off before inspecting CAN bus wires for a ground short.
After the ignition switch is turned off, check that the key reminder warning system and light reminder warning system are not operating.
Before measuring the resistance, leave the vehicle as is for at least 1 minute and do not operate the ignition switch, any other switches or the doors. If any doors need to be opened in order to check connectors, open the doors and leave them open.
Tech Tips
Operating the ignition switch, any other switches or a door triggers related ECU and sensor communication on the CAN. This communication will cause the resistance value to change.
Even after DTCs are cleared, if a DTC is stored again after driving the vehicle for a while, the malfunction may be occurring due to vibration of the vehicle. In such a case, wiggling the ECUs or wire harness while performing the inspection below may help determine the cause of the malfunction.
PROCEDURE
CHECK FOR OPEN IN CAN BUS WIRE (DLC3 BRANCH WIRE)
Turn the ignition switch off.
| *1 | DLC3 |
Measure the resistance according to the value(s) in the table below.
| Standard Resistance | ||||||
|---|---|---|---|---|---|---|
|
Note
When the measured value is 133 Ω or higher and a CAN communication system DTC is output, there may be a fault besides disconnection of the DLC3 branch wire. For that reason, troubleshooting should be performed again from How to Proceed with Troubleshooting after repairing the trouble area Click here.
| NG |
|
REPAIR OR REPLACE CAN BRANCH WIRE CONNECTED TO DLC3 |
| OK |
|
CHECK FOR OPEN IN CAN BUS WIRE (ECM)
| *1 | Front view of wire harness connector (to ECM) |
Disconnect the ECM connector (A49).
Measure the resistance according to the value(s) in the table below.
| Standard Resistance | ||||||
|---|---|---|---|---|---|---|
|
| NG |
|
CHECK FOR OPEN IN CAN BUS WIRE (COMBINATION METER ASSEMBLY) Click here |
| OK |
|
REPLACE ECM Click here
CHECK FOR OPEN IN CAN BUS WIRE (COMBINATION METER ASSEMBLY)
Reconnect the ECM connector.
| *1 | Front view of wire harness connector (to Combination Meter Assembly) |
Disconnect the combination meter assembly connector (E1).
Measure the resistance according to the value(s) in the table below.
| Standard Resistance | ||||||
|---|---|---|---|---|---|---|
|
| NG |
|
CHECK FOR OPEN IN CAN BUS WIRE (CAN NO. 1 JUNCTION CONNECTOR - ECM) Click here |
| OK |
|
REPLACE COMBINATION METER ASSEMBLY Click here
CHECK FOR OPEN IN CAN BUS WIRE (CAN NO. 1 JUNCTION CONNECTOR - ECM)
Reconnect the combination meter assembly connector.
| *1 | Front view of wire harness connector (to CAN No. 1 Junction Connector) |
| *2 | to ECM |
Disconnect the CAN No. 1 junction connector (A44).
Measure the resistance according to the value(s) in the table below.
| Standard Resistance | ||||||
|---|---|---|---|---|---|---|
|
| NG |
|
REPAIR OR REPLACE CAN BUS MAIN WIRE OR CONNECTOR (CAN NO. 1 J/C - ECM) |
| OK |
|
CHECK FOR OPEN IN CAN BUS WIRE (CAN NO. 1 JUNCTION CONNECTOR - CAN NO. 2 JUNCTION CONNECTOR)
Reconnect the CAN No. 1 junction connector (A44).
| *1 | Front view of wire harness connector (to CAN No. 1 Junction Connector) |
| *2 | to CAN No. 2 Junction Connector |
Disconnect the CAN No. 1 junction connector (D56).
Measure the resistance according to the value(s) in the table below.
| Standard Resistance | ||||||
|---|---|---|---|---|---|---|
|
| NG |
|
CHECK FOR OPEN IN CAN BUS WIRE (CAN NO. 2 JUNCTION CONNECTOR) Click here |
| OK |
|
REPLACE CAN NO. 1 JUNCTION CONNECTOR
CHECK FOR OPEN IN CAN BUS WIRE (CAN NO. 2 JUNCTION CONNECTOR)
Reconnect the CAN No. 1 junction connector (D56).
| *1 | Front view of wire harness connector (to CAN No. 2 Junction Connector) |
| *2 | to Combination Meter Assembly |
| *3 | to CAN No. 1 Junction Connector |
Disconnect the CAN No. 2 junction connector.
Measure the resistance according to the value(s) in the table below.
| Standard Resistance | ||||||||||||
|---|---|---|---|---|---|---|---|---|---|---|---|---|
|
| Result | ||||||||
|---|---|---|---|---|---|---|---|---|
|
| B |
|
REPAIR OR REPLACE CAN BUS MAIN WIRE OR CONNECTOR (CAN NO. 1 JUNCTION CONNECTOR - COMBINATION METER ASSEMBLY) |
| C |
|
REPAIR OR REPLACE CAN BUS MAIN WIRE OR CONNECTOR (CAN NO. 1 JUNCTION CONNECTOR - CAN NO. 2 JUNCTION CONNECTOR) |
| A |
|
REPLACE CAN NO. 2 JUNCTION CONNECTOR