REAR VIEW MONITOR SYSTEM, Diagnostic DTC:C1622

DTC Code DTC Name
C1622 Back Camera Disconnected

DESCRIPTION

This DTC is stored if the navigation receiver assembly judges that the signals or signal lines between the navigation receiver assembly and the rear television camera assembly are not normal as a result of its self check.

DTC No. DTC Detection Condition Trouble Area
C1622 Open or short in the rear television camera assembly signal circuit
  • Harness or connector

  • Rear television camera assembly

  • Navigation receiver assembly

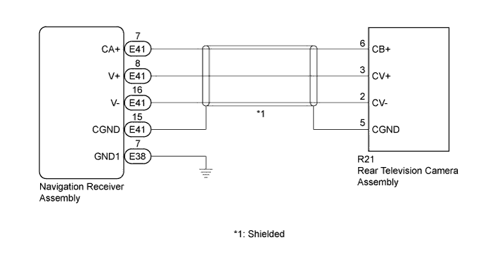
WIRING DIAGRAM

A01EJ24E07

INSPECTION PROCEDURE

Note

Depending on the parts that are replaced during vehicle inspection or maintenance, performing initialization, registration or calibration may be needed. Refer to Precaution for Navigation System (for Navigation Receiver Type) Click here.

PROCEDURE


  1. CHECK HARNESS AND CONNECTOR (NAVIGATION RECEIVER ASSEMBLY - REAR TELEVISION CAMERA ASSEMBLY)


    1. Disconnect the E41 navigation receiver assembly connector.

    2. Disconnect the R21 rear television camera assembly connector.

    3. Measure the resistance according to the value(s) in the table below.

      Standard Resistance
      Tester Connection Condition Specified Condition
      E41-7 (CA+) - R21-6 (CB+) Always Below 1 Ω
      E41-8 (V+) - R21-3 (CV+) Always Below 1 Ω
      E41-16 (V-) - R21-2 (CV-) Always Below 1 Ω
      E41-15 (CGND) - R21-5 (CGND) Always Below 1 Ω
      E41-7 (CA+) - Body ground Always 10 kΩ or higher
      E41-8 (V+) - Body ground Always 10 kΩ or higher
      E41-16 (V-) - Body ground Always 10 kΩ or higher
      E41-15 (CGND) - Body ground Always 10 kΩ or higher

    NG
    OK
  2. INSPECT NAVIGATION RECEIVER ASSEMBLY (V-, CGND, CA+)


    1. Reconnect the E41 navigation receiver assembly connector.

    2. A01EMF1E10
      Text in Illustration
      *a

      Component with harness connected

      (Navigation Receiver Assembly)

      Measure the resistance according to the value(s) in the table below.

      Standard Resistance
      Tester Connection Condition Specified Condition
      E41-16 (V-) - Body ground Always Below 1 Ω
      E41-15 (CGND) - Body ground Always Below 1 Ω
    3. Measure the voltage according to the value(s) in the table below.

      Standard Voltage
      Tester Connection Condition Specified Condition
      E41-7 (CA+) - E41-15 (CGND)

      Ignition switch ON

      Shift lever in R

      5.5 to 7.05 V

    NG
    OK
  3. INSPECT NAVIGATION RECEIVER ASSEMBLY (V+, GND1)


    1. Reconnect the R21 rear television camera assembly connector.

    2. A01EMF1E11
      Text in Illustration
      *a

      Component with harness connected

      (Navigation Receiver Assembly)

      A01EK5XE05
      Text in Illustration
      *a

      Component with harness connected

      (Navigation Receiver Assembly)

      A01EK5FE35
      Text in Illustration
      *a Waveform 1 (camera lens is not covered, displaying an image)
      *b Waveform 2 (camera lens is covered, blacking out the screen)
      *c Synchronization Signal
      *d Video Waveform

      Using an oscilloscope, check the waveform of the rear television camera assembly.

      Tech Tips

      A waterproof connector is used for the rear television camera assembly. Therefore, inspect the waveform at the navigation receiver assembly with the connector connected.

      OK
      Waveform is similar to that shown in the illustration.
      Item Content
      Terminal No. (Symbol) E41-8 (V+) - E38-7 (GND1)
      Tool Setting 200 mV/DIV., 50 μs./DIV.
      Condition Ignition switch ON, shift lever in R

      Tech Tips

      The video waveform changes according to the image sent by the rear television camera assembly.


    NG
    OK