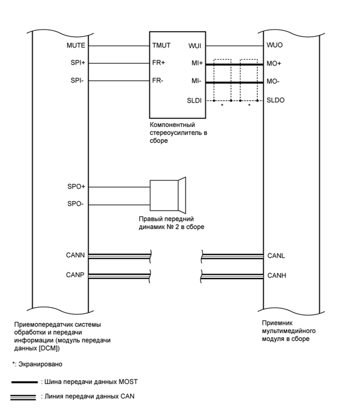
СИСТЕМА ОБРАБОТКИ И ПЕРЕДАЧИ ИНФОРМАЦИИ* СХЕМА СИСТЕМЫ

A01GL60E01
A01GNOVE01
A01GMMME01
A01GJ4VE03