FRONT EVAPORATOR TEMPERATURE SENSOR INSTALLATION

Tech Tips

A bolt without a torque specification is shown in the standard bolt chart Click here.


  1. INSTALL NO. 1 COOLER THERMISTOR

    A01GY60E02

    Note

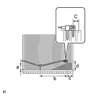
    If reusing the evaporator, do not insert the sensor into a location where the sensor was previously inserted. Insert the sensor within range C shown in the illustration.


    1. Install the No. 1 cooler thermistor as shown in the illustration.

      Area Standard Dimension
      a 20 to 30 mm (0.788 to 1.18 in.)
      b 154.1 mm (6.07 in.)
      c 33.3 mm (1.31 in.)
      d 45 to 55 mm (1.78 to 2.16in.)
    2. A01H07K

      Attach the clamp.

  2. INSTALL NO. 1 COOLER EVAPORATOR SUB-ASSEMBLY


    1. Install the No. 1 evaporator sub-assembly to the front cooling unit case (front side).

    2. Attach the 3 claws to install the front cooling unit case (back side) to the front cooling unit case (front case).

    3. Install the 6 screws.

    4. A01GWLVE01

      Attach the hook to install the bracket to the air conditioner tube assembly, and install the holding spring.

    5. Install a new packing to the bracket.

    6. A01H066

      Tightly wrap a new No. 2 cooling unit packing to prevent exposure of the expansion valve and air conditioner tube assembly, and then wrap a new No. 3 cooling unit packing over the No. 2 cooling unit packing.

  3. INSTALL HEATER RADIATOR UNIT SUB-ASSEMBLY


    1. A01GY0T

      Install the heater radiator unit sub-assembly as shown in the illustration.

    2. Install the clamp with the screw.

    3. A01H0ND

      Install a new packing to the clamp.

  4. INSTALL AIR CONDITIONER HARNESS

  5. INSTALL QUICK HEATER ASSEMBLY


    1. A01H11SE01

      Install the quick heater assembly with the 2 screws.

    2. Attach the 2 connector clamps and harness clamp.

    3. A01GX5H

      Install the bracket with the 3 screws.

  6. INSTALL AIR OUTLET SERVO MOTOR LH (Foot/Def)


    1. Install the front air outlet servo motor LH (foot/def) with the 3 screws.

    2. Connect the connector.

    3. A01GZ24E01
      Text in Illustration
      *1 Pin

      Attach the claw to install the main plate as shown in the illustration.

  7. INSTALL AIR OUTLET SERVO MOTOR RH (Foot/Def)


    1. Install the air outlet servo motor RH (foot/def) with the 3 screws.

    2. Connect the connector.

    3. A01H1JJE01
      Text in Illustration
      *1 Pin

      Attach the claw to install the main plate.

  8. INSTALL MAX HOT BYPASS SERVO MOTOR (Hot)

    A01GZANE02
    Text in Illustration
    *1 Alignment Marks

    1. When reusing the max hot air bypass servo motor (hot):

      Align the moving parts and air conditioning unit as shown in the illustration and install the max hot air bypass servo motor (hot) with the 2 screws.

    2. A01H123E01
      Text in Illustration
      *1 Protruding Part

      When using the new max hot air bypass servo motor (hot):

      Align the protruding parts on the case and cover, and then install the max hot air bypass servo motor (hot) with the 2 screws.

    3. Connect the connector.

  9. INSTALL AIR MIX SERVO MOTOR LH (Hot)


    1. A01H1M4

      Make sure that the rod does not rotate further by trying to rotate it clockwise.

    2. Install the air mix servo motor LH (Hot) with the 2 screws.

    3. Connect the connector.

  10. INSTALL AIR MIX SERVO MOTOR RH (Hot)


    1. A01H00Y

      Make sure that the rod does not rotate further by trying to rotate it clockwise.

    2. Install the air mix servo motor RH (Hot) with the 2 screws.

    3. Connect the connector.

  11. INSTALL AIR MIX SERVO MOTOR LH (Front A/C Rear Air Flow)

    A01GWMVE02
    Text in Illustration
    *1 Alignment Marks

    1. When reusing the air mix servo motor LH (front A/C rear air flow):

      Align the moving parts and air conditioning unit as shown in the illustration and install the air mix servo motor LH (front A/C rear air flow) with the 2 screws.

    2. A01GZV2E01
      Text in Illustration
      *1 Protruding Part

      When using the new air mix servo motor LH (front A/C rear air flow):

      Align the protruding parts on the case and cover, and then install the air mix servo motor LH (front A/C rear air flow) with the 2 screws.

    3. Connect the connector.

  12. INSTALL AIR MIX SERVO MOTOR RH (Front A/C Rear Air Flow)

    A01GZMBE02
    Text in Illustration
    *1 Alignment Marks

    1. When reusing the air mix servo motor RH (front A/C rear air flow):

      Align the moving parts and air conditioning unit as shown in the illustration and install the air mix servo motor RH (front A/C rear air flow) with the 2 screws.

    2. A01GWLXE01
      Text in Illustration
      *1 Protruding Part

      When using the new air mix servo motor RH (front A/C rear air flow):

      Align the protruding parts on the case and cover, and then install the air mix servo motor RH (front A/C rear air flow) with the 2 screws.

    3. Connect the connector.

  13. INSTALL AIR OUTLET SERVO MOTOR LH (Front A/C Rear Air Flow)

    A01GZLCE01
    Text in Illustration
    *1 Alignment Marks

    1. When reusing the air outlet servo motor LH (front A/C rear air flow):

      Align the moving parts and air conditioning unit as shown in the illustration and install the air outlet servo motor LH (front A/C rear air flow) with the 2 screws.

    2. A01H1E3E01
      Text in Illustration
      *1 Matchmark

      When using the new air outlet servo motor LH (front A/C rear air flow):

      Align the lever with the matchmark as shown in the illustration.

    3. Install the air outlet servo motor LH (front A/C rear air flow) with the 2 screws.

    4. Connect the connector.

  14. INSTALL AIR OUTLET SERVO MOTOR RH (Front A/C Rear Air Flow)

    A01GXJYE02
    Text in Illustration
    *1 Alignment Marks

    1. When reusing the air outlet servo motor RH (front A/C rear air flow):

      Align the moving parts and air conditioning unit as shown in the illustration and install the air outlet servo motor RH (front A/C rear air flow) with the 2 screws.

    2. A01H1LEE01
      Text in Illustration
      *1 Stopper

      Set the lever to the stopper as shown in the illustration.

    3. Install the air outlet servo motor RH (front A/C rear air flow) with the 2 screws.

    4. Connect the connector.

  15. INSTALL AIR OUTLET SERVO MOTOR LH (Face)


    1. Install the air outlet servo motor LH (face) with the 2 screws.

    2. Connect the connector.

    3. A01H14GE03
      Text in Illustration
      *1 Alignment Marks

      When reusing the air outlet servo motor LH (face):

      Align the moving parts and air conditioning unit as shown in the illustration and install the lever.

    4. A01GZ3HE01
      Text in Illustration
      *1 Cutout Part

      When using the new air outlet servo motor LH (face):

      Set the lever so that the cutout part engages with a tooth of the gear, and then attach the 3 claws to install the lever.

  16. INSTALL AIR OUTLET SERVO MOTOR RH (Face)


    1. Install the air outlet servo motor RH (face) with the 2 screws.

    2. Connect the connector.

    3. A01GYH1E02
      Text in Illustration
      *1 Alignment Marks

      When reusing the air outlet servo motor RH (face):

      Align the moving parts and air conditioning unit as shown in the illustration and install the lever.

    4. A01H1XEE01
      Text in Illustration
      *1 Cutout Part

      When using the new air outlet servo motor RH (face):

      Set the lever so that the cutout part engages with a tooth of the gear, and then attach the claw to install the lever.

  17. INSTALL AIR MIX SERVO MOTOR LH (Cool)


    1. A01GWI5

      Make sure that the rod does not rotate further by trying to rotate it clockwise.

    2. Install the air mix servo motor LH (cool) with the 2 screws.

    3. Connect the connector.

  18. INSTALL AIR MIX SERVO MOTOR RH (Cool)


    1. A01H042

      Make sure that the rod does not rotate further by trying to rotate it clockwise.

    2. Install the air mix servo motor RH (cool) with the 2 screws.

    3. Connect the connector.

  19. INSTALL COOL AIR BYPASS SERVO MOTOR LH

    A01H0TDE02

    1. When reusing the cool air bypass servo motor LH:

      Align the moving parts and air conditioning unit as shown in the illustration and install the damper servo with the 2 screws.

      Text in Illustration
      *1 Alignment Marks
    2. A01GWOX

      When using the new cool air bypass servo motor LH:

      Set the lever so that the cutout part engages with a tooth of the gear, and then install the cool air bypass servo motor LH with the 2 screws.

    3. Connect the connector.

  20. INSTALL COOL AIR BYPASS SERVO MOTOR RH

    A01H18PE02

    1. When reusing the cool air bypass servo motor RH:

      Align the moving parts and air conditioning unit as shown in the illustration and install the damper servo with the 2 screws.

      Text in Illustration
      *1 Alignment Marks
    2. A01GWI3

      When using the new cool air bypass servo motor RH:

      Set the lever so that the cutout part engages with a tooth of the gear, and then install the cool air bypass servo motor RH with the 2 screws.

    3. Connect the connector.

  21. INSTALL NO. 1 AIR DUCT SUB-ASSEMBLY


    1. Attach the 4 claws to install the No. 1 duct sub-assembly.

  22. INSTALL NO. 2 AIR DUCT SUB-ASSEMBLY


    1. Attach the 4 claws to install the No. 2 duct sub-assembly.

  23. INSTALL BLOWER ASSEMBLY


    1. Attach the claw to install the blower assembly.

    2. Connect the connector.

    3. Install the screw.

  24. INSTALL FRONT AIR CONDITIONING UNIT

    Click here