Click here

CLUTCH SWITCH (for LHD) INSTALLATION

Click here
Click here Click here
  1. Click here

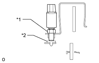
    INSTALL CLUTCH SWITCH ASSEMBLY


    1. A01DUJK

      Temporarily install the clutch switch assembly with the adjusting nut.

    2. A01DUC2E01

      Adjust the clutch switch so that the threaded portion of the clutch switch lightly contacts the cushion. Then tighten the adjusting nut and check the contact of the cushion and switch.

      16 N*m 163 kgf*cm 12 ft.*lbf
      Table 1. Text in Illustration
      *1 Adjusting Nut
      *2 Cushion
      Note:

      After adjusting the pedal free play, perform the clutch switch assembly adjustment (Click here).

  2. Click here

    INSTALL CLUTCH PEDAL SUPPORT SUB-ASSEMBLY WITH CLUTCH MASTER CYLINDER


    1. Install the clutch pedal support sub-assembly with clutch master cylinder (Click here).