DYNAMIC RADAR CRUISE CONTROL SYSTEM SYSTEM DIAGRAM

A01DTD5E01
A01DUJ3E01
Communication Table
Sender Receiver Signal Line
Steering Angle Sensor Driving Support ECU
  • Steering angle sensor signal

  • Steering angle sensor malfunction signal

  • Steering angle sensor zero point signal

  • +B open circuit malfunction signal

CAN
Yaw Rate Sensor Driving Support ECU
  • Yaw rate sensor signal

  • Yaw rate sensor voltage signal

CAN
Skid Control ECU Driving Support ECU
  • Brake component malfunction signal

  • Warning buzzer malfunction signal

CAN
ECM Driving Support ECU Cruise control switch signal CAN
Main Body ECU (Multiplex Network Body ECU) Driving Support ECU Country specification information signal CAN
ECM Combination Meter Assembly
  • Vehicle-to-vehicle distance control signal

  • Millimeter wave radar sensor grime signal

  • Bad weather detection signal

  • Approach warning signal

  • Preceding vehicle detection signal

  • Millimeter wave radar sensor beam axis deviation signal

  • Dynamic radar cruise warning signal

  • CRUISE main indicator light signal

  • SET indicator light signal

  • Cruise control set speed signal

  • Constant speed cruise signal

  • Dynamic radar cruise control diagnostic signal

CAN
Driving Support ECU Skid Control ECU
  • Brake actuator operation signal

  • Skid control buzzer sound signal

CAN
Driving Support ECU ECM Distance control switch signal CAN
Four Wheel Drive Control ECU ECM Cruise control cancel signal CAN
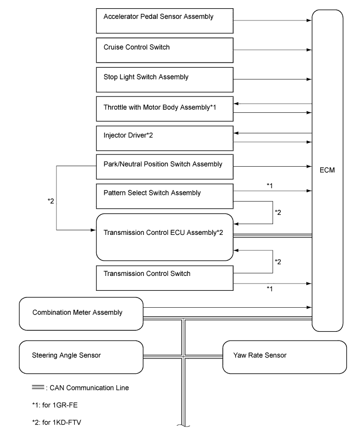
Transmission Control ECU Assembly* ECM
  • Pattern select switch signal

  • Transmission control switch signal

  • Shift position signal

CAN