STARTER INSPECTION


  1. INSPECT STARTER ASSEMBLY

    CAUTION:

    As a large electric current passes through the cable during this inspection, a thick cable must be used. If not, the cable may become hot and cause injury.

    Note

    The following tests must each be performed within 3 to 5 seconds to prevent the coil from burning out.


    1. Mount the starter in a vise between aluminum plates.

    2. Perform a pull-in test.


      1. Remove the nut, and then disconnect the lead wire from terminal C.

      2. A01DTEQE02
        Text in Illustration
        *1 Terminal 50
        *2 Terminal C

        Connect the battery to the magnet starter switch as shown in the illustration. Then check that the clutch pinion gear extends.

        If the clutch pinion gear does not move, inspect the magnet starter switch assembly. If the magnet starter switch assembly is not as specified, replace it.

    3. A01DU66E01
      Text in Illustration
      *1 Terminal C

      Perform a holding test.


      1. Disconnect the negative (-) terminal lead from terminal C with the condition specified in the pull-in test above being maintained. Check that the pinion gear remains out.

        If the clutch pinion gear returns inward, inspect the magnet starter switch assembly. If the magnet starter switch assembly is not as specified, replace it.

    4. A01DM47

      Inspect the clutch pinion gear return.


      1. Disconnect the negative (-) terminal lead from the starter body. Check that the clutch pinion gear returns inward.

        If the clutch pinion gear does not return inward, inspect the magnet starter switch assembly. If the magnet starter switch assembly is not as specified, replace it.

    5. A01DRJBE02
      Text in Illustration
      *1 Terminal 50
      *2 Terminal 30

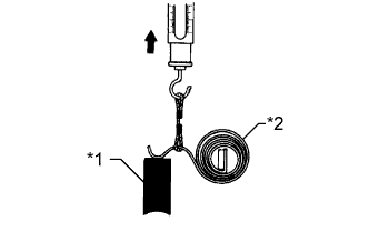
      Perform an operation test without load.


      1. Connect the lead wire to terminal C.

        Torque:
        5.9 N*m  { 60 kgf*cm, 52 in.*lbf }
      2. Connect the battery and an ammeter to the starter as shown in the illustration.

      3. Check that the starter rotates smoothly and steadily while the pinion gear is extended. Then measure the current.

        Specified current
        90 A or less at 11.5 V

        If the result is not as specified, inspect the starter assembly.

        Tech Tips

        Inspect the starter brush holder assembly, starter yoke assembly and starter armature assembly. If there is a malfunction, replace the part and perform this test again.

  2. INSPECT MAGNET STARTER SWITCH ASSEMBLY


    1. A01DS5OE02
      Text in Illustration
      *1 Terminal 50
      *2 Terminal C

      Inspect the pull-in coil.


      1. Measure the resistance according to the value(s) in the table below.

        Standard Resistance
        Tester Connection Condition Specified Condition
        Terminal 50 - Terminal C Always Below 1 Ω

        If the result is not as specified, replace the magnet starter switch assembly.

    2. A01DNWLE02
      Text in Illustration
      *1 Terminal 50
      *2 Switch Body

      Inspect the holding coil.


      1. Measure the resistance according to the value(s) in the table below.

        Standard Resistance
        Tester Connection Condition Specified Condition
        Terminal 50 - Switch body Always Below 2 Ω

        If the result is not as specified, replace the magnet starter switch assembly.

  3. INSPECT BRUSH


    1. A01DTE0E10
      Text in Illustration
      *1 Length
      *a Brush Holder Side
      *b Starter Yoke Side

      Using a vernier caliper, measure the brush length.

      Standard length
      15.5 mm (0.610 in.)
      Minimum length
      8.5 mm (0.335 in.)

      If the length is less than the minimum, replace the starter brush holder assembly and starter yoke assembly.

  4. INSPECT STARTER BRUSH HOLDER ASSEMBLY


    1. Check the brush spring load.


      1. A01DNUJE13
        Text in Illustration
        *1 Brush
        *2 Brush Spring

        Take a pull scale reading immediately after the brush spring separates from the brush.

        Standard spring load
        18 to 24 N (1.8 to 2.4 kgf, 4.0 to 5.3 lbf)
        Minimum spring load
        12 N (1 kgf, 2.7 lbf)

        If the spring load is less than the minimum, replace the starter brush holder assembly.

    2. A01DQLXE03

      Inspect the insulation.


      1. Measure the resistance according to the value(s) in the table below.

        Standard Resistance
        Tester Connection Condition Specified Condition
        Positive (+) brush holder - Negative (-) brush holder Always 10 Ω or higher

        If the result is not as specified, replace the starter brush holder assembly.

  5. INSPECT STARTER YOKE ASSEMBLY


    1. Inspect the field coil for an open circuit.


      1. A01DUW1E01

        Measure the resistance according to the value(s) in the table below.

        Standard Resistance
        Tester Connection Condition Specified Condition
        Lead wire - Brush Always Below 1 Ω

        If the result is not as specified, replace the starter yoke assembly.

      2. A01DPYSE01

        Measure the resistance according to the value(s) in the table below.

        Standard Resistance
        Tester Connection Condition Specified Condition
        Starter yoke body - Brush Always 10 kΩ or higher

        If the result is not as specified, replace the starter yoke assembly.

  6. INSPECT STARTER ARMATURE ASSEMBLY


    1. Check the commutator for dirt and/or burns on the surface.

      If the surface is dirty or burnt, correct it with sandpaper (No. 400) or a lathe.

    2. A01DR9UE01
      Text in Illustration
      *1 Segment

      Inspect the commutator for an open circuit.


      1. Measure the resistance according to the value(s) in the table below.

        Standard Resistance
        Tester Connection Condition Specified Condition
        Segment - Segment Always Below 1 Ω

        If the result is not as specified, replace the starter armature assembly.

    3. Inspect the commutator for a short circuit.


      1. A01DUCXE01
        Text in Illustration
        *1 Segment
        *2 Coil Core

        Measure the resistance according to the value(s) in the table below.

        Standard Resistance
        Tester Connection Condition Specified Condition
        Segment - Coil core Always 10 kΩ or higher

        If the result is not as specified, replace the starter armature assembly.

    4. A01DOX6

      Check the commutator circle runout.


      1. Place the commutator on V-blocks.

      2. Using a dial indicator, measure the circle runout.

        Maximum runout
        0.05 mm (0.00197 in.)

        If the circle runout is more than the maximum, replace the starter armature assembly.

    5. A01DPCG

      Using a vernier caliper, measure the commutator diameter.

      Standard diameter
      30.0 mm (1.18 in.)
      Minimum diameter
      29.0 mm (1.14 in.)

      If the diameter is less than the minimum, replace the starter armature assembly.

    6. A01DQW5

      Using a vernier caliper, measure the undercut depth of the commutator.

      Standard undercut depth
      0.6 mm (0.0236 in.)
      Minimum undercut depth
      0.2 mm (0.00787 in.)

      If the undercut depth is less than the minimum, replace the starter armature assembly.

  7. INSPECT STARTER CLUTCH SUB-ASSEMBLY


    1. A01DT6F

      Rotate the pinion gear clockwise and check that it turns freely. Try to rotate the pinion gear counterclockwise and check that it locks.

      Text in Illustration
      A01DQPB Free
      A01DMKT Lock

      If the result is not as specified, replace the starter clutch sub-assembly.

    2. Turn the pinion gear by hand while applying inward force and check the movement of the bearing.

      If resistance is felt or the bearing sticks, replace the starter clutch sub-assembly.