RADIATOR (w/o DPF) ON-VEHICLE INSPECTION


  1. CHECK RADIATOR RESERVOIR CAP SUB-ASSEMBLY


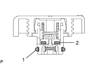
    1. A01DRVKE04

      Measure the valve opening pressure.


      1. If there are water stains or foreign matter on O-ring 1, clean it with water and finger scouring.

      2. Check that O-ring 1 is not deformed, cracked or swollen.

      3. Apply engine coolant to O-ring 1 and rubber packing 2 before using a radiator cap tester.

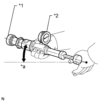
      4. A01DQHCE08
        Text in Illustration
        *1 Radiator Cap
        *2 Radiator Cap Tester
        *a More than 30°

        When using the cap tester, tilt it more than 30°.

      5. Pump the cap tester several times, and check the maximum pressure*.

        Pump speed
        1 pump per second

        *: Even if the cap cannot maintain the maximum pressure, it is not a defect.

        Judgment Criterion
        Item Specified Condition

        Standard value

        (for brand-new cap)

        93 to 123 kPa (1.0 to 1.3 kgf/cm2, 13.5 to 18 psi)

        Minimum standard value

        (after using cap)

        79 kPa (0.8 kgf/cm2, 11.4 psi)

        If the maximum pressure is less than the minimum standard value, replace the radiator reservoir cap sub-assembly.

  2. INSPECT FINS FOR BLOCKAGE

    A01DTDQ

    1. If the fins are clogged, wash them with water or a steam cleaner and dry them with compressed air.

      Note


      • To avoid damaging the fins, the injection direction should be at right angles to the core surface.

      • If the steam cleaner is too close to the core, there is a possibility of damaging the fins, so maintain the following injection distances.

        Standard Injection Distance
        Injection Pressure Specified Condition

        2942 to 4903 kPa

        (30.0 to 50.0 kgf/cm2, 427 to 711 psi)

        300 mm (11.8 in.)

        4903 to 7845 kPa

        (50.0 to 80.0 kgf/cm2, 711 to 1138 psi)

        500 mm (19.7 in.)
      • If the fins are bent, straighten them with a screwdriver or pliers.

      • Do not expose electronic components to water.

    2. Dry the fins with compressed air.