INTAKE MANIFOLD (w/ DPF) INSPECTION


  1. INSPECT INTAKE MANIFOLD

    Note

    Do not adjust the adjusting screw or 2 swirl control valve actuator installation bolts.

    A01DRA8
    A01DPTP

    1. Disconnect the 2 vacuum hoses from the actuator.

    2. Check the operation of the swirl control valve.


      1. Check that the valve is fully opened under normal conditions.

      2. Connect the vacuum pumps as shown in the illustration. First apply negative pressure to the diaphragm closer to the intake manifold. This cause the actuator rod to move, which causes the swirl control valve to move. Then, apply negative pressure to the diaphragm on the outer side. This cause the actuator rod to move further, which also causes the swirl control valve to move further. Check that the valve is fully closed when a negative pressure of 65 kPa (488 mmHg, 19.2 in.Hg) is applied.

      3. Wait for 1 minute and check that the vacuum pump needle does not move. If the result is not as specified, replace the intake manifold.

        Tech Tips

        When applying negative pressure to the diaphragm on the outer side, the diaphragm closer to the intake manifold must be in a vacuum state.

  2. INSPECT VACUUM SWITCHING VALVE (for Swirl Control Valve)


    1. Measure the resistance according to the value(s) in the table below.

      A01DLXLE01
      Standard Resistance
      Tester Connection Condition Specified Condition
      1 - 2 20°C (68°F) 33 to 39 Ω
      1 - Body ground 20°C (68°F) 10 kΩ or higher
      2 - Body ground

      If the result is not as specified, replace the vacuum control valve set.

    2. Check the operation of the VSV.


      1. A01DPGJE01
        Text in Illustration
        *1 Port E
        *2 Filter
        *a Air

        Check that air flows from port E to the filter.

        If the result is not as specified, replace the vacuum control valve set.

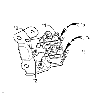
    3. A01DU08E01
      Text in Illustration
      *1 Port E
      *2 Port F
      *a Air

      Apply battery voltage across the terminals.

    4. Check that air flows from port E to port F.

      If the result is not as specified, replace the vacuum control valve set.