Click here

FUEL TANK (for 5 Door) REMOVAL

Click here
Click here Click here
  1. Click here

    DISCONNECT CABLE FROM NEGATIVE BATTERY TERMINAL

    Note:
    • After turning the ignition switch off, waiting time may be required before disconnecting the cable from the battery terminal. Therefore, make sure to read the disconnecting the cable from the battery terminal notice before proceeding with work (Click here).

    • When disconnecting the cable, some systems need to be initialized after the cable is reconnected (Click here).

  2. Click here

    REMOVE REAR SEAT ASSEMBLY LH


    1. for 60/40 Split Double-folding Seat Type LH Side:

      Remove the rear seat assembly LH (Click here).

    2. for 60/40 Split Slide Walk-in Seat Type LH Side:

      Remove the rear seat assembly LH (Click here).

  3. Click here

    REMOVE REAR FLOOR SERVICE HOLE COVER


    1. A01DMC7

      Remove the 3 screws and rear floor service hole cover.

    2. A01DS96E01

      Disconnect the fuel pump and sender gauge connector.

      Table 1. Text in Illustration
      *A for Single Tank Type
      *B for Double Tank Type
  4. Click here

    REMOVE NO. 1 FUEL TANK PROTECTOR SUB-ASSEMBLY


    1. A01DR18

      Remove the 6 bolts and No. 1 fuel tank protector.

    2. A01DN82

      for Half Cover Type:

      Remove the 4 bolts and No. 1 fuel tank protector.

  5. Click here

    DISCONNECT FUEL TANK MAIN TUBE SUB-ASSEMBLY (for Single Tank Type)

  6. Click here

    DISCONNECT FUEL RETURN TUBE SUB-ASSEMBLY (for Single Tank Type)

  7. Click here

    DISCONNECT FUEL TANK MAIN TUBE SUB-ASSEMBLY (for Double Tank Type)

  8. Click here

    DISCONNECT FUEL CUT OFF TUBE (for Single Tank Type)

  9. Click here

    DISCONNECT FUEL TANK BREATHER TUBE SUB-ASSEMBLY (for Single Tank Type)


    1. A01DR8F

      Disconnect the fuel tank breather tube (Click here).

  10. Click here

    DISCONNECT NO. 4 FUEL MAIN TUBE SUB-ASSEMBLY AND FUEL SUCTION TUBE SUB-ASSEMBLY (for Double Tank Type)


    1. A01DT79

      Disconnect the No. 4 fuel main tube and fuel suction tube (Click here).

  11. Click here

    DISCONNECT FUEL CUT OFF TUBE (for Double Tank Type)


    1. A01DR3X

      Disconnect the fuel cut off tube (Click here).

  12. Click here

    DISCONNECT FUEL RETURN TUBE SUB-ASSEMBLY AND NO. 2 FUEL MAIN TUBE SUB-ASSEMBLY (for Double Tank Type)


    1. A01DPSE

      Disconnect the fuel return tube and No. 2 fuel main tube (Click here).

  13. Click here

    DISCONNECT FUEL TANK BREATHER TUBE SUB-ASSEMBLY (for Double Tank Type)


    1. A01DMMS

      Disconnect the fuel tank breather tube (Click here).

  14. Click here

    DISCONNECT FUEL TANK TO FILLER PIPE HOSE


    1. A01DPYB

      Disconnect the fuel tank to filler pipe hose from the filler pipe.

  15. Click here

    REMOVE FUEL TANK SUB-ASSEMBLY


    1. Place a transmission jack under the fuel tank.

    2. A01DR0C

      Remove the 2 bolts, 2 clips, 2 pins and 2 fuel tank bands.

    3. Slowly lower the transmission jack slightly.

  16. Click here

    REMOVE FUEL TANK CUSHION


    1. A01DRO7E01

      Remove the No. 1, No. 2 and No. 3 fuel tank cushions from the fuel tank.

      Table 2. Text in Illustration
      *1 No. 1 Fuel Tank Cushion
      *2 No. 2 Fuel Tank Cushion
      *3 No. 3 Fuel Tank Cushion
  17. Click here

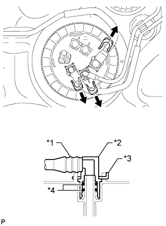
    REMOVE FUEL RETURN TUBE SUB-ASSEMBLY AND FUEL TANK MAIN TUBE SUB-ASSEMBLY (for Single Tank Type)


    1. A01DT86E01

      Remove the 2 fuel tube joint clips and pull out the fuel return tube and fuel tank main tube.

      Table 3. Text in Illustration
      *1 Fuel Tube
      *2 Fuel Tube Joint
      *3 Fuel Tube Joint Clip
      *4 O-Ring
      Note:
      • Remove any dirt and foreign matter on the fuel tube joint before performing this work.

      • Do not allow any scratches or foreign matter on the parts when disconnecting them, as the fuel tube joint contains the O-rings that seal the plug.

      • Perform this work by hand. Do not use any tools.

      • Do not forcibly bend, twist or turn the nylon tube.

      • Protect the disconnected part by covering it with a plastic bag and tape after disconnecting the fuel tubes.

    2. A01DS6N

      Remove the fuel return tube and fuel tank main tube from the fuel tank.

  18. Click here

    REMOVE NO. 4 FUEL MAIN TUBE SUB-ASSEMBLY AND FUEL SUCTION TUBE SUB-ASSEMBLY (for Double Tank Type)


    1. A01DNZKE01

      Remove the 2 fuel tube joint clips and pull out the No. 4 fuel main tube and fuel suction tube.

      Table 4. Text in Illustration
      *1 Fuel Tube
      *2 Fuel Tube Joint
      *3 Fuel Tube Joint Clip
      *4 O-Ring
      Note:
      • Remove any dirt and foreign matter on the fuel tube joint before performing this work.

      • Do not allow any scratches or foreign matter on the parts when disconnecting them, as the fuel tube joint contains the O-rings that seal the plug.

      • Perform this work by hand. Do not use any tools.

      • Do not forcibly bend, twist or turn the nylon tube.

      • Protect the disconnected part by covering it with a plastic bag and tape after disconnecting the fuel tubes.

    2. A01DOD2

      Detach the clamp and remove the No. 4 fuel main tube from the fuel tank.

    3. Detach the clamp and remove the fuel suction tube from the fuel tank.

  19. Click here

    REMOVE FUEL TANK MAIN TUBE SUB-ASSEMBLY, FUEL RETURN TUBE SUB-ASSEMBLY AND NO. 2 FUEL MAIN TUBE SUB-ASSEMBLY (for Double Tank Type)


    1. A01DP3YE01

      Remove the 3 fuel tube joint clips and pull out the fuel tank main tube, fuel return tube and No. 2 fuel main tube.

      Table 5. Text in Illustration
      *1 Fuel Tube
      *2 Fuel Tube Joint
      *3 Fuel Tube Joint Clip
      *4 O-Ring
      Note:
      • Remove any dirt and foreign matter on the fuel tube joint before performing this work.

      • Do not allow any scratches or foreign matter on the parts when disconnecting them, as the fuel tube joint contains the O-rings that seal the plug.

      • Perform this work by hand. Do not use any tools.

      • Do not forcibly bend, twist or turn the nylon tube.

      • Protect the disconnected part by covering it with a plastic bag and tape after disconnecting the fuel tubes.

    2. A01DOSS

      Detach the clamp and remove the No. 2 fuel main tube from the fuel tank.

    3. Detach the clamp and remove the fuel return tube from the fuel tank.

    4. Remove the fuel tank main tube from the fuel tank.

  20. Click here

    REMOVE FUEL TANK VENT TUBE ASSEMBLY (for Single Tank Type)


    1. A01DQ7YE01

      Set SST on the retainer.

      09808-14030
      Tip:
      • Engage the claws of SST securely with the retainer holes to secure SST.

      • Install SST while pressing the claws of SST against the retainer (towards the center of SST).

    2. A01DOHQE01

      Using SST, loosen the retainer.

      09808-14030
      Table 6. Text in Illustration
      A01DQPB Turn
      Tip:

      Fit the tips of SST onto the ribs of the retainer.

      Note:
      • When the retainer is loosened, be careful as the fuel tank vent tube will spring upward from the force of the spring.

      • Remove any foreign matter around the fuel tank vent tube before this operation.

    3. Remove the retainer.

    4. Remove the fuel tank vent tube assembly from the fuel tank.

      Note:

      Be careful not to bend the arm of the fuel sender gauge.

    5. Remove the gasket from the fuel tank.

  21. Click here

    REMOVE FUEL SUCTION WITH PUMP AND GAUGE TUBE ASSEMBLY (for Double Tank Type)


    1. A01DQ7YE01

      Set SST on the retainer.

      09808-14030
      Tip:
      • Engage the claws of SST securely with the retainer holes to secure SST.

      • Install SST while pressing the claws of SST against the retainer (towards the center of SST).

    2. A01DOHQE01

      Using SST, loosen the retainer.

      09808-14030
      Table 7. Text in Illustration
      A01DQPB Turn
      Tip:

      Fit the tips of SST onto the ribs of the retainer.

      Note:
      • When the retainer is loosened, be careful as the fuel suction with pump and gauge tube will spring upward from the force of the spring.

      • Remove any foreign matter around the fuel suction with pump and gauge tube before this operation.

    3. Remove the retainer.

    4. Remove the fuel suction with pump and gauge tube assembly from the fuel tank.

      Note:

      Be careful not to bend the arm of the fuel sender gauge.

    5. Remove the gasket from the fuel tank.

  22. Click here

    REMOVE NO. 3 FUEL TANK PROTECTOR


    1. A01DTR8

      Remove the 2 bolts.

    2. Detach the 4 clamps and remove the No. 3 fuel tank protector.

  23. Click here

    REMOVE FUEL TANK TO FILLER PIPE HOSE


    1. A01DQPG

      Remove the fuel tank to filler pipe hose from the fuel tank.