FUEL PUMP (for Double Tank Type) REASSEMBLY

Note

Do not disconnect the hoses indicated in the illustration.

A01DRNP

  1. INSTALL FUEL PUMP


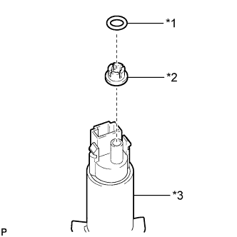
    1. A01DU1LE02
      Text in Illustration
      *1 O-Ring
      *2 Fuel Pump Spacer
      *3 Fuel Pump

      Install the fuel pump spacer and a new O-ring to the fuel pump.

    2. Apply a light coat of diesel fuel to the O-ring of the fuel pump.

    3. Push in the fuel pump to the fuel suction plate.

  2. CONNECT JET PUMP


    1. A01DRAO

      Set the jet pump into the No. 1 fuel sub-tank. Then slide the jet pump downward to install it.

      Tech Tips

      Make sure that the jet pump is attached at the 2 positions as shown in the illustration.

  3. INSTALL FUEL PUMP HARNESS


    1. Connect the fuel pump harness connector to the fuel suction plate.

    2. Connect the fuel pump harness connector to the fuel pump.

  4. INSTALL FUEL SUCTION PLATE SUB-ASSEMBLY


    1. A01DQBT

      Attach the 3 claws to the claw holes to install the fuel suction plate.

  5. INSTALL FUEL SENDER GAUGE ASSEMBLY


    1. A01DQL8E01
      Text in Illustration
      *1 Fuel Sub-Tank
      A01DQPB Slide

      Set the fuel sender gauge assembly on the fuel sub-tank. Then slide the fuel sender gauge assembly downward to install it.

    2. Connect the fuel sender gauge assembly connector.