FUEL PUMP (for Double Tank Type) DISASSEMBLY

Note

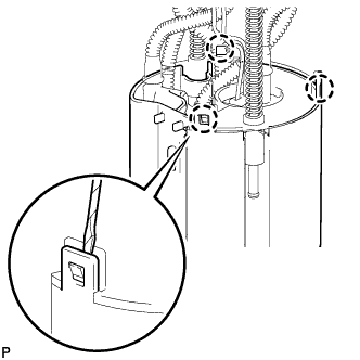
Do not disconnect the hoses indicated in the illustration.

A01DRNP

  1. REMOVE FUEL SENDER GAUGE ASSEMBLY


    1. A01DNEH

      Disconnect the fuel sender gauge connector.

    2. A01DSC5E01

      Press down on the fuel sender gauge claw labeled A. Then slide the fuel sender gauge upward to remove it.

      Text in Illustration
      A01DQPB Press down
      A01DMKT Slide
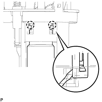
  2. REMOVE FUEL SUCTION PLATE SUB-ASSEMBLY


    1. A01DQ7V

      Using a screwdriver, detach the 3 claws from the claw holes and pull out the fuel suction plate.

      Note

      Do not damage the No. 1 fuel sub-tank.

  3. REMOVE FUEL PUMP HARNESS


    1. A01DMJ5

      Disconnect the fuel pump harness connector from the fuel suction plate.

    2. A01DRVW

      Disconnect the fuel pump harness connector from the fuel pump.

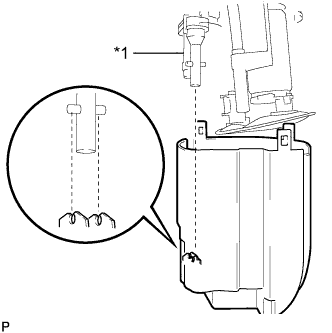
  4. DISCONNECT JET PUMP


    1. A01DRAOE01
      Text in Illustration
      *1 Jet Pump

      Using a screwdriver, disconnect the jet pump from the No. 1 fuel sub-tank.

  5. REMOVE FUEL PUMP


    1. A01DP5Q

      Using a screwdriver, detach the 2 claws from the claw holes and disconnect the fuel pump from the fuel suction plate.

      Note

      Be careful not to damage the O-ring surface.

    2. Remove the O-ring.

    3. Remove the fuel pump spacer.