CYLINDER HEAD REPAIR


  1. REPAIR INTAKE VALVE SEAT

    Note


    • Repair the seat while checking the seating position.

    • Keep the lip free of foreign matter.

    • Take off the cutter gradually to make the intake valve seat smooth.


    1. A01DQEYE05
      Text in Illustration
      *1 Width

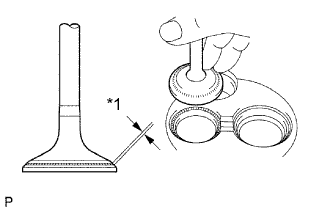
      Check the valve seating position.


      1. Apply a light coat of Prussian blue to the valve face.

      2. Lightly press the valve against the seat. Do not rotate valve.

      3. If blue appears 360° around the face, the valve is concentric. If not, replace the valve.

      4. If blue appears 360° around the valve seat, the guide and face are concentric. If not, resurface the seat.

      5. Check that the seat contact is the middle of the valve face with the width below.

        Standard width
        1.5 to 1.9 mm (0.0591 to 0.0748 in.)
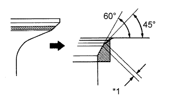
    2. A01DTZTE16
      Text in Illustration
      *1 Width

      If the seating is too high on the valve face, use 30° and 45° cutters to correct the seat.

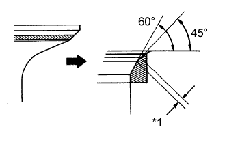
    3. A01DT1KE15
      Text in Illustration
      *1 Width

      If the seating is too low on the valve face, use 60° and 45° cutters to correct the seat.

    4. A01DN6QE01

      Hand-lap the valve and valve seat with an abrasive compound.

    5. Clean the valve and valve seat.

  2. REPAIR EXHAUST VALVE SEAT

    Note


    • Repair the seat while checking the seating position.

    • Keep the lip free of foreign matter.

    • Take off the cutter gradually to make the exhaust valve seat smooth.


    1. A01DR5ZE05
      Text in Illustration
      *1 Width

      Check the valve seating position.


      1. Apply a light coat of Prussian blue to the valve face.

      2. Lightly press the valve against the seat. Do not rotate valve.

      3. Prussian blue appears 360° around the face, the valve is concentric. If not, replace the valve.

      4. Prussian blue appears 360° around the valve seat, the guide and face are concentric. If not, resurface the seat.

      5. Check that the seat contact is the middle of the valve face with the width below.

        Standard width
        1.8 to 2.2 mm (0.0709 to 0.0866 in.)
    2. A01DTZTE17
      Text in Illustration
      *1 Width

      If the seating is too high on the valve face, use 30° and 45° cutters to correct the seat.

    3. A01DT1KE16
      Text in Illustration
      *1 Width

      If the seating is too low on the valve face, use 60° and 45° cutters to correct the seat.

    4. A01DSN3E01

      Hand-lap the valve and valve seat with an abrasive compound.

    5. Clean the valve and valve seat.