CYLINDER BLOCK REPAIR

Tech Tips


  • Bore all 4 cylinders to fit the O/S piston outside diameter.

  • Replace all the piston rings with ones to match the O/S pistons.


  1. BORE CYLINDER


    1. Prepare 4 new O/S pistons.

    2. A01DMVTE04
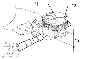
      Text in Illustration
      *1 Front Mark
      *2 Size Mark
      *a Distance
      Standard piston diameter
      Item Specified Condition
      O/S 0.50 99.950 to 99.980 mm (3.935 to 3.936 in.)

      Using a micrometer, measure the piston diameter at right angles to the piston pin center line where the distance from the piston head is as specified.

      Standard distance
      61.27 to 61.33 mm (2.412 to 2.415 in.)
    3. Calculate the amount each cylinder is to be rebored as follows.

      Tech Tips


      • Size to be rebored = P + C - H

      • P = Piston diameter

      • C = Piston clearance: 0.040 to 0.060 mm (0.00157 to 0.00236 in.)

      • H = Allowance for honing: 0.02 mm (0.000787 in.) or less

    4. Bore and hone the cylinders to the calculated dimensions.

      Maximum honing
      0.02 mm (0.000787 in.)

      Note

      Excess honing will destroy the finished roundness.