CYLINDER BLOCK REPLACEMENT


  1. REPLACE TIGHT PLUG

    Note

    If coolant leaks from the tight plug or the plug is corroded, replace it.

    A01DNA0E03
    Text in Illustration
    *a Right Side *b Rear Side
    *c Left Side *d Stops

    1. Apply adhesive to new tight plugs.

      Adhesive
      Toyota Genuine Adhesive 1324, Three Bond 1324 or equivalent
    2. Install the tight plugs as shown in the illustration.

    3. Using SST, tap in the 2 tight plugs labeled A.

      SST
      09950-60010   ( 09951-00250 )
      09950-70010   ( 09951-07100 )
    4. Using SST, tap in the 4 tight plugs labeled B.

      SST
      09950-60010   ( 09951-00350 )
      09950-70010   ( 09951-07100 )
    5. Using SST, tap in the tight plug labeled C.

      SST
      09950-60010   ( 09951-00500 )
      09950-70010   ( 09951-07100 )
  2. REPLACE STRAIGHT PIN

    Note

    It is not necessary to remove a straight pin unless it is being replaced.


    1. Install the straight pins as shown in the illustration.

      A01DSXWE04
      Text in Illustration
      *a Rear Side *b Until Pin Stops
  3. REPLACE RING PIN

    Note

    It is not necessary to remove a ring pin unless it is being replaced.


    1. Install the ring pins as shown in the illustration.

      A01DSW5E05
      Text in Illustration
      *a Front Side *b Cylinder Head Side
      *c Rear Side *d Until Pin Stops
  4. REPLACE CONNECTING ROD SMALL END BUSH


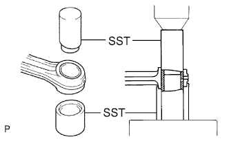
    1. A01DO6KE02

      Using SST and a press, press out the bushing.

      SST
      09222-54011   ( 09222-03016, 09222-03026, 09222-03021 )
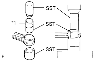
    2. A01DQHHE01

      Using a round file, lightly file off any roughness from the small end of the connecting rod.

    3. A01DMKKE03
      Text in Illustration
      *1 Oil Hole
      *2 Ball

      Attach a new bush to SST with the ball of SST inside the oil hole of the bush.

      SST
      09222-54011   ( 09222-03021 )
    4. A01DRMYE03
      Text in Illustration
      *1 Oil Hole

      Align the oil holes of the bush and connecting rod.

    5. A01DND3E03
      Text in Illustration
      *1 Bush

      Using SST and a press, press in the bush.

      SST
      09222-54011   ( 09222-03016, 09222-03026, 09222-03021 )
    6. A01DS90E01

      Using a pin hole grinder, hone the bush to obtain the clearance between the bush and piston pin.

    7. Check the piston pin fit at normal room temperature.


      1. A01DNR1E01

        Coat the piston pin with engine oil, and push it into the connecting rod with your thumb.