Click here

CYLINDER HEAD REPAIR

Click here
Click here Click here
  1. Click here

    REPAIR INTAKE VALVE SEAT

    Note:
    • Repair the intake valve seat while checking the seating position.

    • Keep the lip free of foreign matter.


    1. A01DNSU

      Using a 45° cutter, resurface the valve seat so that the valve seat width is more than the specification.

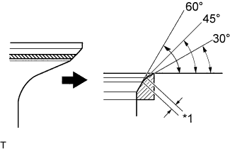
    2. A01DO6YE03

      Using 30° and 60° cutters, correct the valve seat so that the intake valve contacts the entire circumference of the seat. The contact should be in the center of the intake valve seat, and the intake valve seat width should be maintained within the specified range around the entire circumference of the intake valve seat.

      Width
      1.1 to 1.5 mm (0.0433 to 0.0591 in.)
      Table 1. Text in Illustration
      *1 Width
    3. Hand-lap the intake valve and intake valve seat with an abrasive compound.

    4. Check the intake valve seating position.

  2. Click here

    REPAIR EXHAUST VALVE SEAT

    Note:
    • Repair the seat while checking the seating position.

    • Keep the lip free of foreign matter.


    1. A01DU7D

      Using a 45° cutter, resurface the valve seat so that the valve seat width is more than the specification.

    2. A01DUDFE07

      Using 30° and 60° cutters, correct the exhaust valve seat so that the exhaust valve contacts the entire circumference of the seat. The contact should be in the center of the exhaust valve seat, and the exhaust valve seat width should be maintained within the specified range around the entire circumference of the exhaust valve seat.

      Width
      1.1 to 1.5 mm (0.0433 to 0.0591 in.)
      Table 2. Text in Illustration
      *1 Width
    3. Hand-lap the exhaust valve and exhaust valve seat with an abrasive compound.

    4. Check the exhaust valve seating position.