RELAY ON-VEHICLE INSPECTION


  1. INSPECT INJ NO. 2 RELAY (INJ NO. 2)


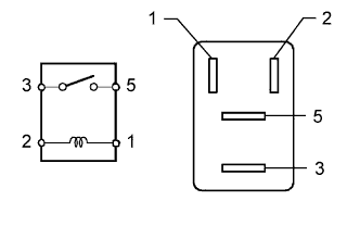
    1. A01DUE1E02

      Measure the resistance according to the value(s) in the table below.

      Standard Resistance
      Tester Connection Condition Specified Condition
      3 - 5 Battery voltage is not applied to terminals 1 and 2 10 kΩ or higher
      Battery voltage is applied to terminals 1 and 2 Below 1 Ω

      If the result is not as specified, replace the INJ No. 2 relay.

  2. INSPECT CIRCUIT OPENING RELAY (C/OPN)


    1. A01DUE1E02

      Measure the resistance according to the value(s) in the table below.

      Standard Resistance
      Tester Connection Condition Specified Condition
      3 - 5 Battery voltage is not applied to terminals 1 and 2 10 kΩ or higher
      Battery voltage is applied to terminals 1 and 2 Below 1 Ω

      If the result is not as specified, replace the circuit opening relay.

  3. INSPECT NO. 1 INTEGRATION RELAY (IG2)


    1. Check the IG2 fuse.


      1. Measure the resistance according to the value(s) in the table below.

        Standard Resistance
        Tester Connection Condition Specified Condition
        IG2 fuse Always Below 1 Ω

        If the result is not as specified, replace the IG2 fuse.

    2. Check the IG2 relay.


      1. A01DTKCE03
        Text in Illustration
        *a

        Component without harness connected

        (No. 1 Integration Relay)

        Measure the resistance according to the value(s) in the table below.

        Standard Resistance
        Tester Connection Condition Specified Condition
        1C-1 - 1A-4 Battery voltage not applied to terminals 1A-1 and 1A-3 10 kΩ or higher
        Battery voltage applied to terminals 1A-1 and 1A-3 Below 1 Ω

        If the result is not as specified, replace the No. 1 integration relay.

  4. INSPECT NO. 1 INTEGRATION RELAY (EFI)


    1. Check the EFI fuse.


      1. Measure the resistance according to the value(s) in the table below.

        Standard Resistance
        Tester Connection Condition Specified Condition
        EFI fuse Always Below 1 Ω

        If the result is not as specified, replace the EFI fuse.

    2. Check the EFI relay.


      1. A01DTKCE03
        Text in Illustration
        *a

        Component without harness connected

        (No. 1 Integration Relay)

        Measure the resistance according to the value(s) in the table below.

        Standard Resistance
        Tester Connection Condition Specified Condition
        1C-1 - 1B-4 Battery voltage not applied to terminals 1B-2 and 1B-3 10 kΩ or higher
        Battery voltage applied to terminals 1B-2 and 1B-3 Below 1 Ω

        If the result is not as specified, replace the No. 1 integration relay.

  5. INSPECT NO. 1 INTEGRATION RELAY (A/F)


    1. Check the A/F fuse.


      1. Measure the resistance according to the value(s) in the table below.

        Standard Resistance
        Tester Connection Condition Specified Condition
        A/F fuse Always Below 1 Ω

        If the result is not as specified, replace the A/F fuse.

    2. A01DTKCE03
      Text in Illustration
      *a

      Component without harness connected

      (No. 1 Integration Relay)

      Measure the resistance according to the value(s) in the table below.

      Standard Resistance
      Tester Connection Condition Specified Condition
      1C-1 - 1B-8 Battery voltage not applied to terminals 1B-4 and 1B-7 10 kΩ or higher
      Battery voltage applied to terminals 1B-4 and 1B-7 Below 1 Ω

      If the result is not as specified, replace the No. 1 integration relay.

  6. INSPECT MAIN BODY ECU (DRIVER SIDE JUNCTION BLOCK)

    Note

    The ACC relay and IG1 No. 1 relay are built into the main body ECU (driver side junction block).


    1. Check the ACC relay.


      1. Measure the resistance according to the value(s) in the table below.

        A01DP2UE01
        Text in Illustration
        *a

        Component without harness connected

        (Main Body ECU)

        - -
        Standard Resistance
        Tester Connection Condition Specified Condition
        2D-17 - 2K-1 Battery voltage not applied to terminals 2A-48 and 2D-4 10 kΩ or higher
        Battery voltage applied to terminals 2A-48 and 2D-4 Below 1 Ω

        If the result is not as specified, replace the main body ECU.

    2. Inspect the IG1 No. 1 relay.


      1. Measure the resistance according to the value(s) in the table below.

        A01DP2UE01
        Text in Illustration
        *a

        Component without harness connected

        (Main Body ECU)

        - -
        Standard Resistance
        Tester Connection Condition Specified Condition
        2A-31 - 2K-1 Battery voltage not applied to terminals 2A-52 and 2D-4 10 kΩ or higher
        Battery voltage applied to terminals 2A-52 and 2D-4 Below 1 Ω

        If the result is not as specified, replace the main body ECU.