POWER STEERING SYSTEM (for 2AR with Wireless Door Lock), Diagnostic DTC:C1551

DTC Code DTC Name
C1551 IG Power Supply Voltage Malfunction

DESCRIPTION

The power steering ECU assembly distinguishes the ignition switch status as ON or off through the IG power source circuit.

DTC No. DTC Detection Condition Trouble Area
C1551 Open or short in IG power source circuit with ignition switch ON
  • EPS-IG1 fuse

  • IG power source circuit

  • ECU wire sub-assembly

  • Power steering ECU assembly

WIRING DIAGRAM

A01HP0WE01

INSPECTION PROCEDURE

Note

If the power steering ECU assembly has been replaced with a new one, perform assist map writing and torque sensor zero point calibration Click here.

Tech Tips

Inspect the fuses for circuits related to this system before performing the following inspection procedure.

PROCEDURE


  1. CHECK CONNECTOR CONNECTION CONDITION AND GROUND WIRE


    1. Check the connection condition of the ECU wire sub-assembly and power steering ECU assembly connectors.

      OK
      The ECU wire sub-assembly and power steering ECU assembly connectors are securely connected.
    2. Check that the ground wire is securely installed with the bolt Click here.

      OK
      The ground wire is securely installed with the bolt.

    NG
    OK
  2. READ VALUE USING TECHSTREAM


    1. Turn the ignition switch off.

    2. Connect the Techstream to the DLC3.

    3. Turn the ignition switch to ON.

    4. Turn the Techstream on.

    5. Enter the following menus: Chassis / EMPS / Data List.

    6. Select the item "IG power supply" in the Data List and read the value displayed on the Techstream.

      EMPS
      Tester Display Measurement Item/Range Normal Condition Diagnostic Note
      IG power supply

      IG power supply/

      Min.: 0.0000 V

      Max.: 20.1531 V

      9 to 16 V Ignition switch ON
      OK
      The normal condition value is displayed on the Techstream.

    NG
    OK
  3. CHECK HARNESS AND CONNECTOR (BATTERY - ECU WIRE SUB-ASSEMBLY)


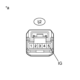
    1. A01HQDHE04
      Text in Illustration
      *a

      Front view of wire harness connector

      (to ECU Wire Sub-assembly)

      Disconnect the Ij2 connector from the ECU wire sub-assembly.

    2. Measure the voltage according to the value(s) in the table below.

      Standard Voltage
      Tester Connection Switch Condition Specified Condition
      Ij2-5 (IG) - Body ground Ignition switch ON 9 to 16 V

    NG
    OK
  4. CHECK HARNESS AND CONNECTOR (POWER STEERING ECU ASSEMBLY - BODY GROUND)


    1. A01HNLOE05
      Text in Illustration
      *a

      Front view of wire harness connector

      (to Power Steering ECU Assembly)

      Disconnect the j2 connector from the power steering ECU assembly.

    2. Measure the resistance according to the value(s) in the table below.

      Standard Resistance
      Tester Connection Condition Specified Condition
      j2-2 (PGND) - Body ground Always Below 1 Ω

    NG
    OK
  5. CHECK ECU WIRE SUB-ASSEMBLY


    1. A01HP05E05
      Text in Illustration
      *a

      Front view of wire harness connector

      (to Power Steering ECU Assembly)

      *b

      Front view of wire harness connector

      (to Vehicle Wire Harness)

      Disconnect the j1 connector from the power steering ECU assembly.

    2. Measure the resistance according to the value(s) in the table below.

      Standard Resistance
      Tester Connection Condition Specified Condition
      j1-1 (IG) - Ij2-5 (IG) Always Below 1 Ω

    NG
    OK