REAR BRAKE INSTALLATION

Tech Tips


  • Use the same procedure for the LH side and RH side.

  • The following procedure is for the LH side.


  1. INSTALL REAR DISC


    1. A01HMPBE01
      Text in Illustration
      *a Matchmark

      Align the matchmarks of the rear disc and rear axle hub, and install the rear disc.

      Note

      When replacing the disc with a new one, select the installation position where the rear disc has minimal runout.

  2. INSTALL PARKING BRAKE SHOE ADJUSTING HOLE PLUG


    1. Install the parking brake shoe adjusting hole plug.

  3. INSTALL DISC BRAKE CYLINDER MOUNTING


    1. A01HQBV

      Install the disc brake cylinder mounting with the 2 bolts.

      Torque:
      78 N*m  { 799 kgf*cm, 58 ft.*lbf }
  4. INSTALL REAR DISC BRAKE BUSHING DUST BOOT


    1. A01HQRY

      Apply a light layer of lithium soap base glycol grease to the entire circumference of 2 new rear disc brake bushing dust boots.

      Text in Illustration
      A01HPW1 Lithium Soap Base Glycol Grease

      Tech Tips

      Apply at least 0.3 g (0.01 oz.) of lithium soap base glycol grease to each rear disc brake bushing dust boot.

    2. A01HNL5

      Install the 2 rear disc brake bushing dust boots to the disc brake cylinder mounting.

  5. INSTALL REAR DISC BRAKE CYLINDER SLIDE BUSHING


    1. A01HO7Q

      Apply a light layer of lithium soap base glycol grease to the contact surface of the rear disc brake cylinder slide pin.

      Text in Illustration
      A01HPW1 Lithium Soap Base Glycol Grease
    2. Install a new rear disc brake cylinder slide bushing to the rear disc brake cylinder slide pin.

  6. INSTALL REAR DISC BRAKE CYLINDER SLIDE PIN (for Lower Side)


    1. A01HMI1

      Apply a light layer of lithium soap base glycol grease to the sliding and sealing surfaces of the rear disc brake cylinder slide pin.

      Text in Illustration
      A01HPW1 Lithium Soap Base Glycol Grease
    2. A01HQE2

      Install the rear disc brake cylinder slide pin to the disc brake cylinder mounting.

    3. Push the rear disc brake cylinder slide pin into the rear disc brake bushing dust boot to engage the pin to the boot.

  7. INSTALL REAR DISC BRAKE CYLINDER SLIDE PIN (for Upper Side)


    1. A01HOMQ

      Apply a light layer of lithium soap base glycol grease to the sliding and sealing surfaces of the rear disc brake cylinder slide pin.

      Text in Illustration
      A01HPW1 Lithium Soap Base Glycol Grease
    2. A01HOES

      Install the rear disc brake cylinder slide pin to the disc brake cylinder mounting.

    3. Push the rear disc brake cylinder slide pin into the rear disc brake bushing dust boot to engage the pin to the boot.

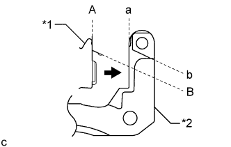
  8. INSTALL REAR DISC BRAKE PAD SUPPORT PLATE


    1. A01HN6WE01
      Text in Illustration
      *1 Rear Disc Brake Pad Support Plate
      *2 Disc Brake Cylinder Mounting

      Install the 2 rear disc brake pad support plates to the disc brake cylinder mounting.

      Note

      Firmly push to install the rear disc brake pad support plate and disc brake cylinder mounting against each other so that there is no clearance between the surfaces A and a, and B and b.

  9. INSTALL REAR DISC BRAKE ANTI-SQUEAL SHIM KIT


    1. A01HMFD

      Install the pad wear indicator plate to each rear disc brake pad.

      Note

      Install each pad wear indicator plate in the correct position and direction.

    2. A01HOEL

      Apply disc brake grease to the inside of the rear disc brake anti-squeal shims.

      Text in Illustration
      A01HPW1 Disc Brake Grease
    3. A01HOZ8

      Install the rear disc brake anti-squeal shim to each rear disc brake pad with pad wear indicator plate.

      Note


      • Disc brake grease may seep out slightly from the areas where the rear disc brake anti-squeal shims are installed.

      • Make sure that disc brake grease is not applied onto the lining surface.

  10. INSTALL REAR DISC BRAKE PAD


    1. Install the 2 rear disc brake pads with rear disc brake anti-squeal shim kit to the disc brake cylinder mounting.

      Note

      There should be no oil or grease on the friction surfaces of the disc brake pads or the rear disc.

  11. INSTALL REAR DISC BRAKE CYLINDER ASSEMBLY


    1. A01HQ16E01
      Text in Illustration
      *a Hold
      *b Turn

      Hold the rear disc brake cylinder slide pin, and install the rear disc brake cylinder assembly to the disc brake cylinder mounting with the 2 bolts.

      Torque:
      27 N*m  { 270 kgf*cm, 20 ft.*lbf }
  12. CONNECT REAR FLEXIBLE HOSE


    1. A01HMJFE02
      Text in Illustration
      *a Lock Hole

      Connect the rear flexible hose to the rear disc brake cylinder assembly with a new union bolt and a new gasket.

      Torque:
      33 N*m  { 340 kgf*cm, 25 ft.*lbf }

      Note

      Install the flexible hose lock securely into the lock hole in the disc brake cylinder.

  13. BLEED BRAKE LINE

    Click here

  14. ADJUST PARKING BRAKE

    Click here

  15. INSTALL REAR WHEEL

    Torque:
    103 N*m  { 1049 kgf*cm, 76 ft.*lbf }