ECD SYSTEM, Diagnostic DTC:39 (5)

DTC Code DTC Name
39 (5) Fuel Temperature Sensor Circuit Malfunction

DESCRIPTION

The fuel temperature sensor senses the fuel temperature. A thermistor built into the sensor changes its resistance according to the fuel temperature. The lower the fuel temperature, the higher the thermistor resistance value, and the higher the fuel temperature, the lower the thermistor resistance value (see Fig. 1).

The fuel temperature sensor is connected to the ECM. The 5 V power source voltage from the ECM is applied to the fuel temperature sensor from terminal THF via resistor R. That is, resistor R and the fuel temperature sensor are connected in series. When the resistance value of the fuel temperature sensor changes in accordance with changes in the fuel temperature, the voltage at terminal THF also changes. Based on this signal, the ECM increases the fuel injection volume to improve driveability when the engine speed is low and the fuel temperature is high.

A01DSD6E06
DTC No. DTC Detection Condition Trouble Area
39 (5) Open or short in the fuel temperature sensor circuit for 0.5 sec. or more.
  • Open or short in fuel temperature sensor circuit

  • Fuel temperature sensor

  • ECM

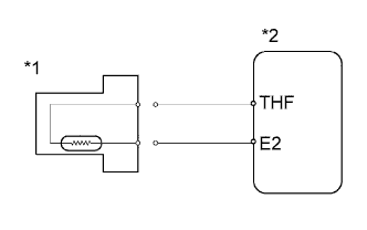
WIRING DIAGRAM

A01DQMUE02

INSPECTION PROCEDURE

Tech Tips


  • If DTCs related to different systems that have terminal E2 as the ground terminal are stored simultaneously, there may be an open circuit between terminal E2 and body ground.

  • Read freeze frame data using the intelligent tester. Freeze frame data records the engine condition when malfunctions are detected. When troubleshooting, freeze frame data can help determine if the vehicle was moving or stationary, if the engine was warmed up or not, and other data from the time the malfunction occurred.

When using intelligent tester:

PROCEDURE


  1. READ VALUE USING INTELLIGENT TESTER (FUEL TEMPERATURE)


    1. Connect the intelligent tester to the DLC3.

    2. Turn the ignition switch to ON.

    3. Enter the following menus: Powertrain / Engine and ECT / Data List / Fuel Temp.

      Result
      Result Proceed to
      -40°C (-40°F) A
      140°C (284°F) or higher B
      Value is same as actual fuel temperature C

      Tech Tips

      When DTC 39 (5) is stored, the type of malfunction can be determined based on the fuel temperature (see below).

      Result
      Temperature Displayed Malfunction
      -40°C (-40°F) Open circuit
      140°C (284°F) or higher Short circuit

    B
    C
    A
  2. READ VALUE USING INTELLIGENT TESTER (CHECK FOR OPEN IN WIRE HARNESS)


    1. A01DS5UE13
      Text in Illustration
      *1 Fuel Temperature Sensor
      *2 ECM
      *a

      Front view of wire harness connector

      (to fuel temperature sensor)

      Disconnect the fuel temperature sensor connector.

    2. Connect terminals 1 and 2 of the fuel temperature sensor harness side connector.

    3. Turn the ignition switch to ON.

    4. Read the temperature value on the intelligent tester.

      OK
      140°C (284°F) or higher
    5. Reconnect the fuel temperature sensor connector.


    NG
    OK
  3. READ VALUE USING INTELLIGENT TESTER (CHECK FOR OPEN IN ECM)


    1. A01DRCFE19
      Text in Illustration
      *1 Fuel Temperature Sensor
      *2 ECM
      *a

      Component with harness connected

      (ECM)

      Connect terminals THF and E2 of the ECM connector.

    2. Turn the ignition switch to ON.

    3. Read the temperature value on the intelligent tester.

      OK
      140°C (284°F) or higher

    NG
    OK
  4. READ VALUE USING INTELLIGENT TESTER (CHECK FOR SHORT IN WIRE HARNESS)


    1. A01DPJQE27
      Text in Illustration
      *1 Fuel Temperature Sensor
      *2 ECM

      Disconnect the fuel temperature sensor connector.

    2. Turn the ignition switch to ON.

    3. Read the temperature value on the intelligent tester.

      OK
      -40°C (-40°F)
    4. Reconnect the fuel temperature sensor connector.


    NG
    OK
  5. READ VALUE USING INTELLIGENT TESTER (CHECK FOR SHORT IN ECM)


    1. Disconnect the ECM connector.

    2. Turn the ignition switch to ON.

    3. Read the temperature value on the intelligent tester.

      OK
      -40°C (-40°F)
    4. Reconnect the ECM connector.


    NG
    OK

When not using intelligent tester:

PROCEDURE


  1. CHECK ECM (THF VOLTAGE)


    1. A01DUBVE94
      Text in Illustration
      *a

      Component with harness connected

      (ECM)

      Turn the ignition switch to ON.

    2. Measure the voltage according to the value(s) in the table below.

      Standard Voltage
      Tester Connection Condition Specified Condition
      C102-5 (THF) - C102-9 (E2) 20°C (68°F) 0.2 to 3.8 V
      C102-5 (THF) - C102-9 (E2) 80°C (176°F) 0.1 to 1.5 V

    NG
    OK
  2. INSPECT FUEL TEMPERATURE SENSOR


    1. Inspect the fuel temperature sensor Click here.


    NG
    OK
  3. CHECK HARNESS AND CONNECTOR (ECM - FUEL TEMPERATURE SENSOR)


    1. Disconnect the fuel temperature sensor connector.

    2. Disconnect the ECM connector.

    3. Measure the resistance according to the value(s) in the table below.

      Standard Resistance (Check for Open)
      Tester Connection Condition Specified Condition
      C85-2 - C102-5 (THF) Always Below 1 Ω
      C85-1 - C102-9 (E2) Always Below 1 Ω
      Standard Resistance (Check for Short)
      Tester Connection Condition Specified Condition
      C85-2 or C102-5 (THF) - Body ground Always 10 kΩ or higher
    4. Reconnect the fuel temperature sensor connector.

    5. Reconnect the ECM connector.


    NG
    OK