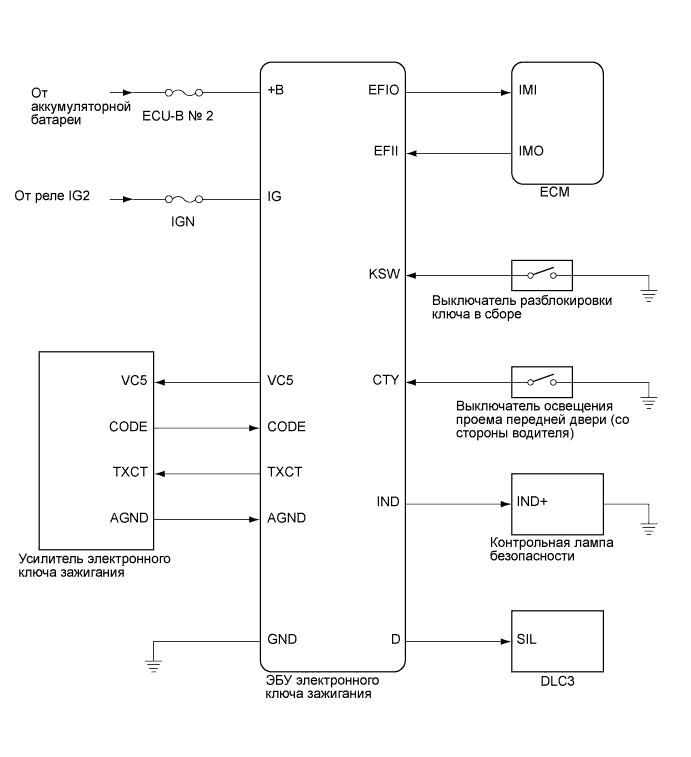
СИСТЕМА ИММОБИЛАЙЗЕРА ДВИГАТЕЛЯ (для моделей без интеллектуальной системы посадки и запуска) СХЕМА СИСТЕМЫ

A017BBIE01