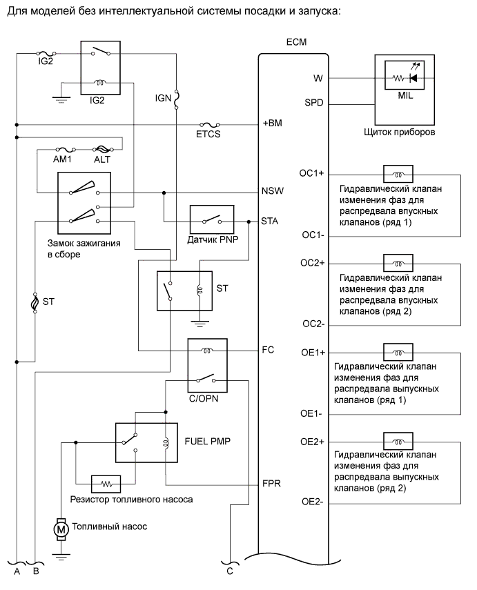
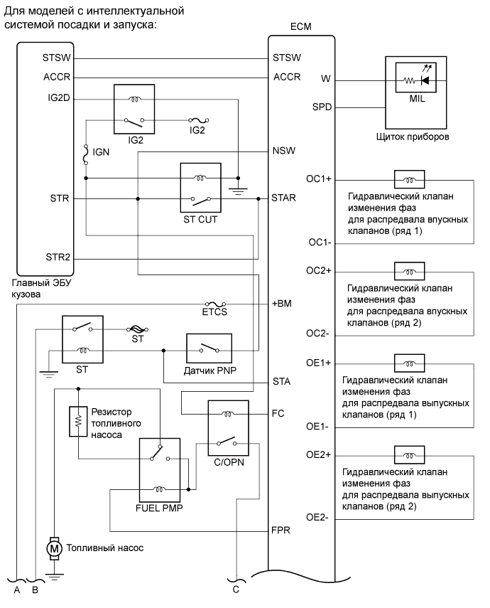
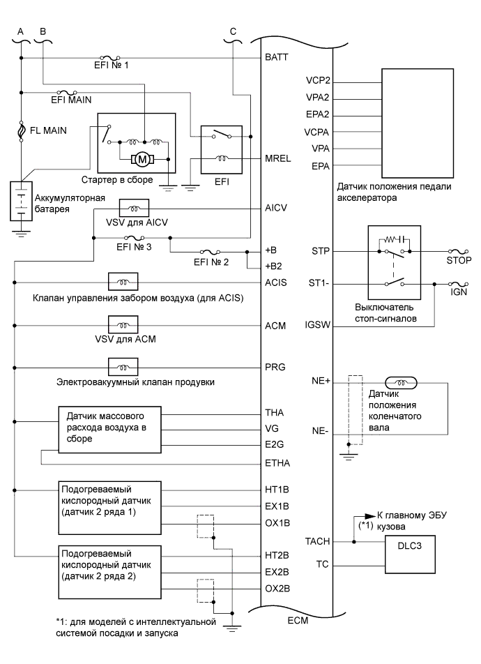
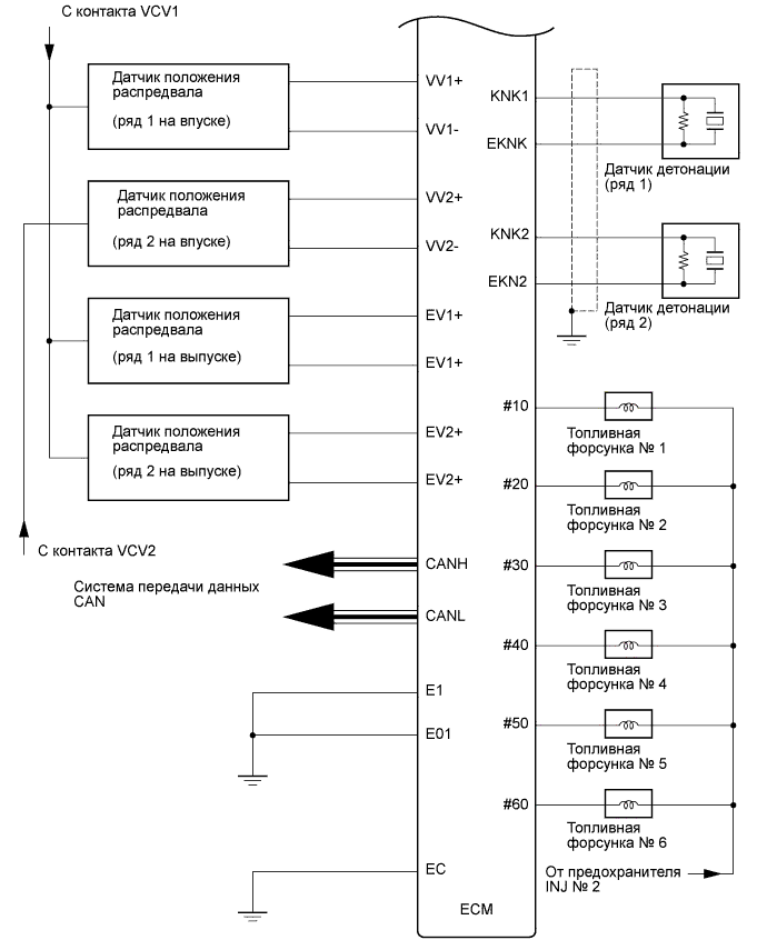
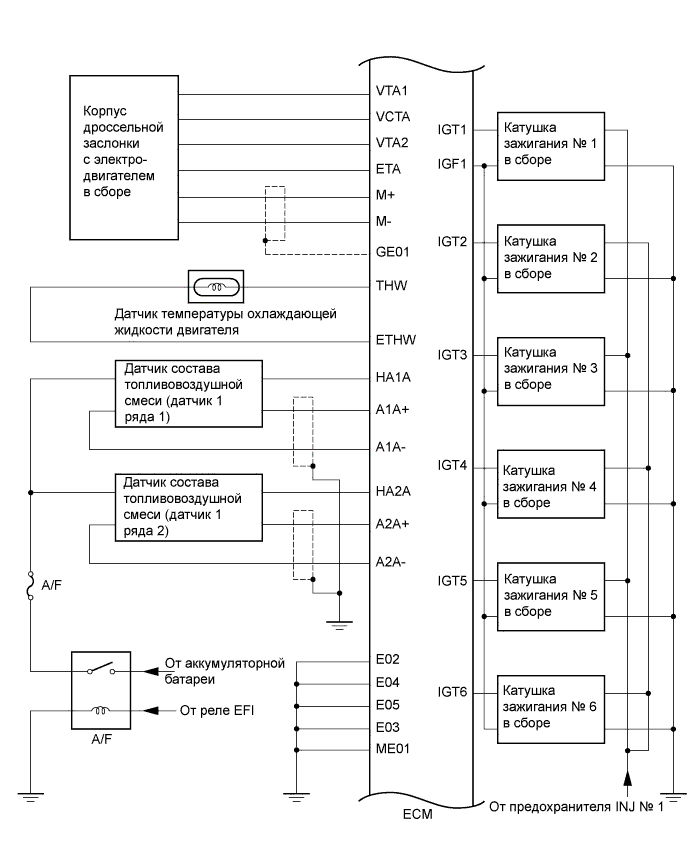
СИСТЕМА SFI СХЕМА СИСТЕМЫ

A017B7EE06
A017FKME02
A017CSEE01
A017BFDE02
A017BLIE02