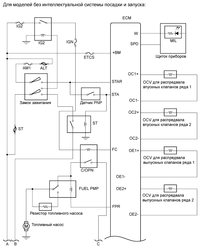
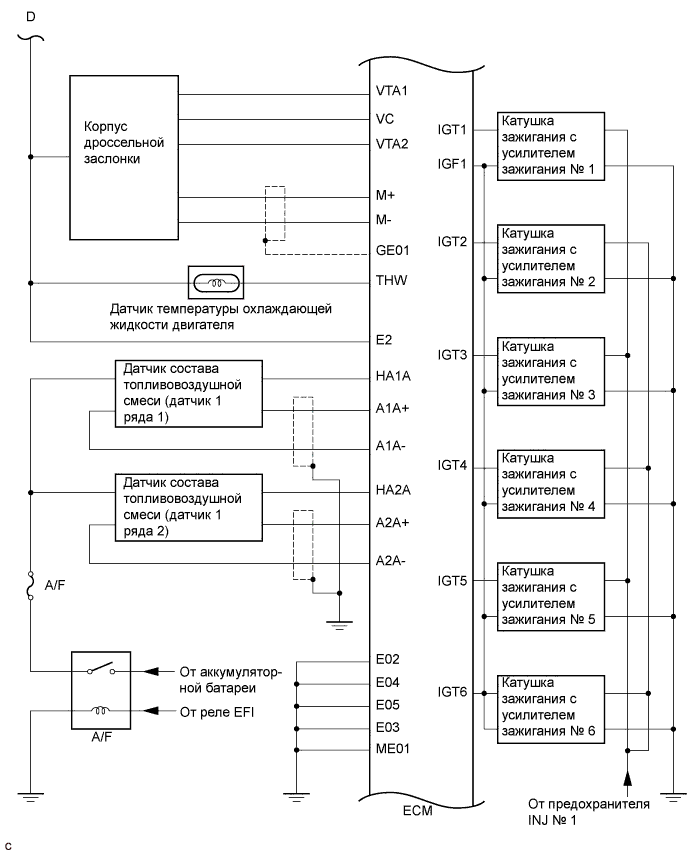
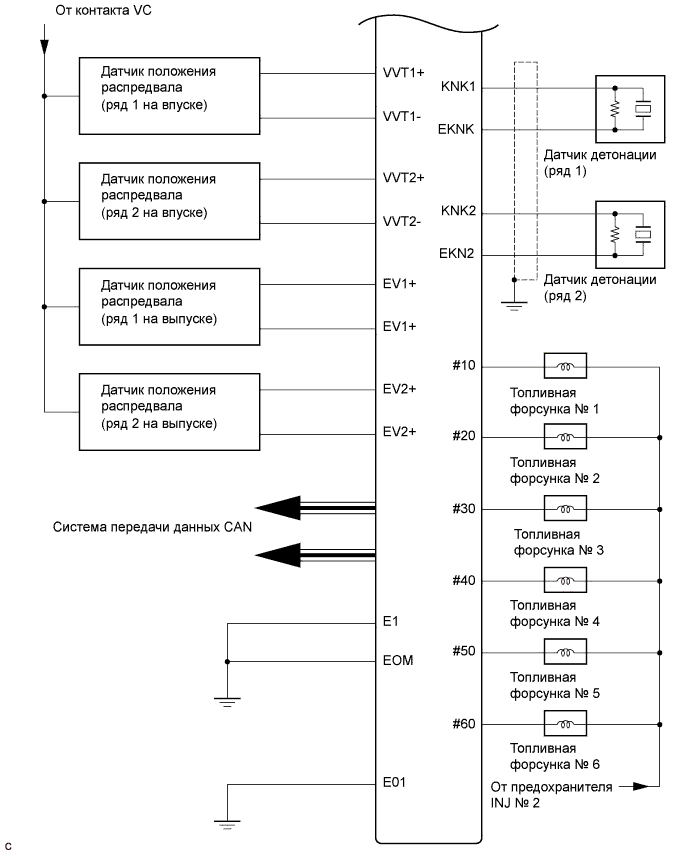
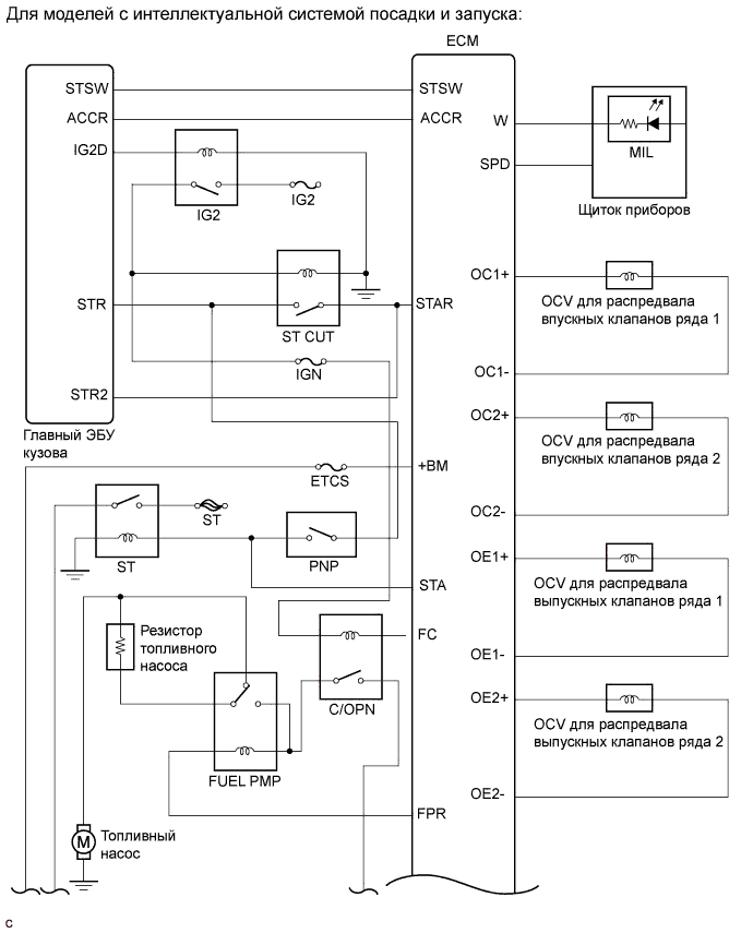
СИСТЕМА SFI СХЕМА СИСТЕМЫ

A017B7EE02
A017FAEE02
A017DI5E02
A017FH0E01
A017BSGE02