Click here

CAN COMMUNICATION SYSTEM SYSTEM DIAGRAM

Click here
Click here
Click here
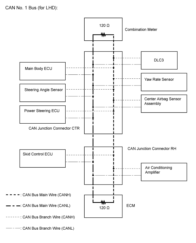
  1. A017E6ME03

    CAN No. 1 BUS (for LHD)

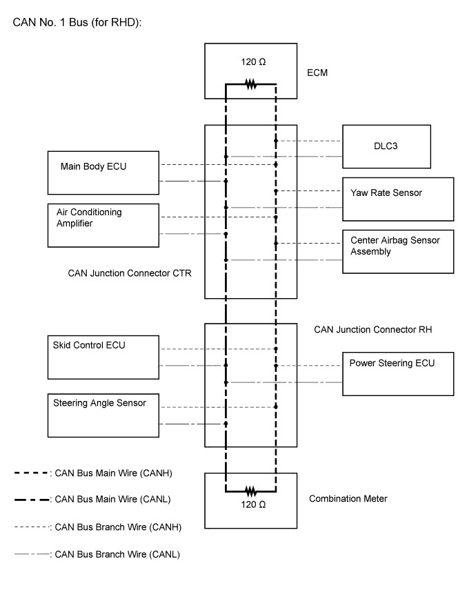
  2. A017DMNE04

    CAN No. 1 BUS (for RHD)

  3. A017FYVE02

    CAN MS BUS (w/ Smart Entry and Start System)