Click here

CAN COMMUNICATION SYSTEM SYSTEM DIAGRAM

Click here
Click here
Click here
  1. A017E6ME01

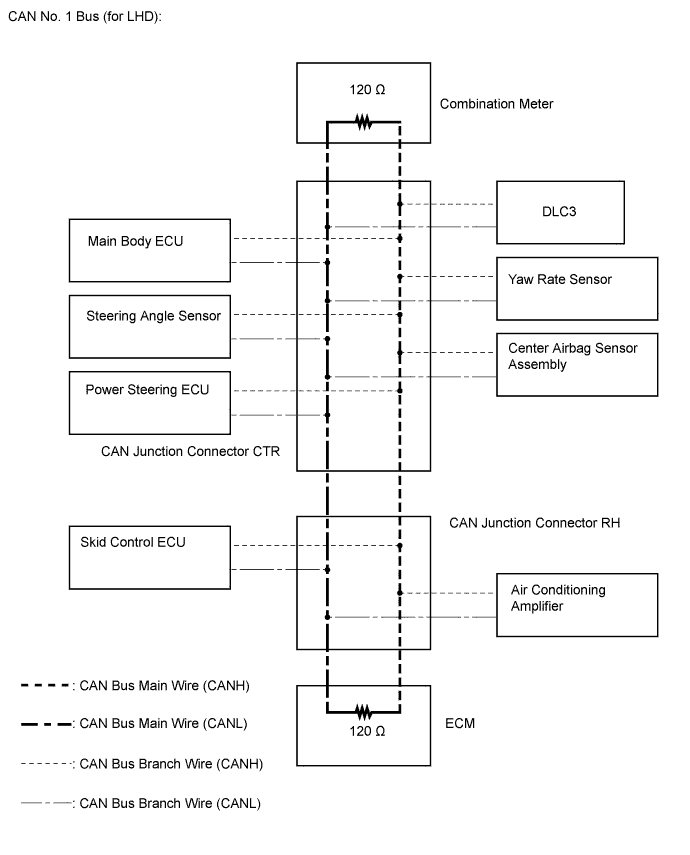
    CAN No. 1 BUS (for LHD)

  2. A017DMNE01

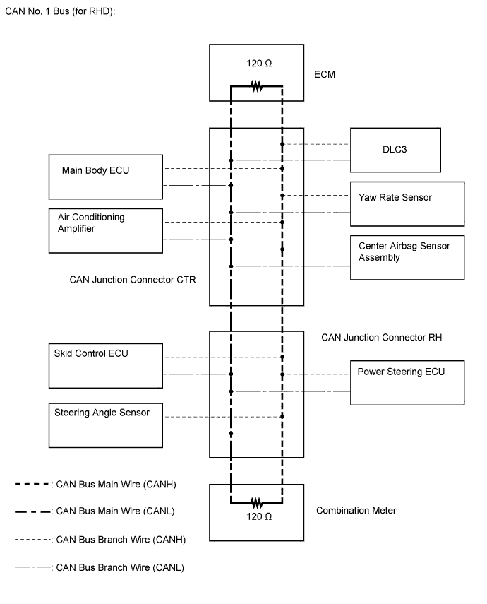
    CAN No. 1 BUS (for RHD)

  3. A017EV3E05
    A017CNHE02

    CAN MS BUS