FRONT DOOR BLACK OUT TAPE INSTALLATION


  1. REPAIR INSTRUCTION


    1. Clean the vehicle body surface.


      1. Using a heat light, heat the vehicle body surface.

        Heating temperature
        Item Temperature
        Vehicle Body 40 to 60°C (104 to 140°F)

        Note

        Do not heat the vehicle body excessively.

      2. Wipe off any tape adhesive residue with cleaner.

    2. Installation temperature


      1. When the ambient temperature is below 15°C (59°F), perform the installation procedure after warming the vehicle body surface (installation surface of the door frame) and tape up to between 20 and 30°C (68 and 86°F) using a heat light. When the ambient temperature is above 35°C (95°F), cool the vehicle body surface (installation surface of the door frame) and tape down to between 20 and 30°C (68 and 86°F) prior to installation.

        Tech Tips


        • The most appropriate temperature for installing the tape is 25°C (77°F).

        • When the temperature is low, the tape turns stiff and comes off easily. When the temperature is high, the tape looses elasticity.

    3. Before installation


      1. Remove any roughness of coating and dirt on and around the vehicle body surface where the tape will be installed (installation surface of the door frame). If any roughness or dirt remains when pressing the tape onto the surface, air will be trapped under the tape and result in a poor appearance.

        Tech Tips

        Spray water on the shop floor to settle any dust.

    4. Key points for handling the tape


      1. The tape bends and rolls up easily. Store the tape between flat pieces of cardboard or other similar objects and keep it dry and level.

        Note

        Do not bend the tape or leave it in high temperature places.

    5. Key points for installation of the tape (how to use a squeegee and installation procedure for flat surfaces)

      Note


      • Position the tape accurately to achieve a neat finish and to avoid peeling.

      • The tape cannot be reused because it deforms and will not fit any more after being removed.


      1. To avoid air bubbles, slightly raise the part of the tape that is going to be applied so that its adhesive surface does not touch the vehicle body while applying the tape. Tilt the squeegee at 40 to 50° (for pressing forward) or 30 to 45° (for pulling) to the vehicle body surface and press the tape onto the vehicle body surface with a force of 20 to 30 N (2 to 3 kgf) at a constant slow speed of 3 to 7 cm (1.2 to 2.8 in.) per second.

        A017FR0E02

        Note

        Be sure to observe the specified pressing speed, force, and angle of the squeegee to avoid wrinkles or air bubbles.

        Tech Tips


        • Either angle of the squeegee (for pressing forward or for pulling) is acceptable.

        • Be sure to apply the tape while removing the release paper 10 to 20 mm (0.393 to 0.787 in.) from the edge of the squeegee.

    6. Key points for installation of the tape (how to use a squeegee and installation procedure for hemming surfaces)


      1. A017CMJE01

        If it is difficult to apply the tape, install it in several steps as shown in the illustration. Use your fingers or the padded surface of a squeegee to slowly apply the tape to the hem of the vehicle, especially for a small hem.

        Tech Tips

        When applying tape to the backside of a hem, remove the release paper and use your fingers or the padded surface of a squeegee.

    7. Key points for installation of the tape (how to use a squeegee and installation procedure for corners)


      1. Remove the release paper and apply the tape carefully with your fingers.

      2. Before applying the tape to each corner, heat the tape using a heat light and gradually apply it, avoiding wrinkles on the tape to achieve a neat finish.

    8. Check after installation


      1. After completing the application, check if the tape is applied neatly. If the tape is not applied neatly, reapply using new tape.

        Note

        Do not reuse the tape.

  2. INSTALL INNER REAR BLACK OUT FRONT DOOR TAPE


    1. A017G6CE01

      Referring to the illustration, position the inner rear black out front door tape.

    2. Remove the release paper and apply the tape.

  3. INSTALL INNER UPPER BLACK OUT FRONT DOOR TAPE


    1. A017FMOE01

      Referring to the illustration, position the inner upper black out front door tape.

    2. Remove the release paper and apply the tape.

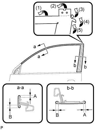
  4. INSTALL NO. 1 BLACK OUT TAPE


    1. A017FG4E01

      Referring to the illustration, position the No. 1 black out tape.

      Standard measurement
      Dimension Measurement
      A 2 to 4 mm (0.079 to 0.157 in.)
      B 4 to 6 mm (0.157 to 0.236 in.)
    2. Remove the release paper and apply the tape.

  5. INSTALL FRONT DOOR WEATHERSTRIP


    1. A017BBY

      Install the front door weatherstrip.

  6. INSTALL DOOR FRAME GARNISH


    1. A017FQL

      Engage a new clip and install the door frame garnish.

  7. INSTALL FRONT DOOR BELT MOULDING ASSEMBLY


    1. A017G7M

      Engage the 6 claws and install the front door belt moulding assembly.

  8. INSTALL FRONT DOOR GLASS RUN


    1. A017BGI

      Install the front door glass run.

  9. INSTALL FRONT DOOR WINDOW REGULATOR SUB-ASSEMBLY


    1. Apply MP grease to the sliding parts of the front door window regulator sub-assembly.

    2. A017F87E02

      Install the temporary bolt to the front door window regulator sub-assembly.

    3. Temporarily install the window regulator.

    4. Tighten the 6 bolts in the order shown in the illustration to install the front window regulator.

      Torque:
      8.0 N*m  { 82 kgf*cm, 71 in.*lbf }
  10. INSTALL FRONT DOOR GLASS SUB-ASSEMBLY


    1. A017CPJE01

      Insert the front door glass sub-assembly into the front door panel along the front door glass run as indicated in the order of the arrows in the illustration.

    2. A017FOD

      Install the front door glass sub-assembly with the 2 bolts.

      Torque:
      8.0 N*m  { 82 kgf*cm, 71 in.*lbf }
    3. A017E3V

      Install the hole plug.

  11. INSTALL FRONT DOOR SERVICE HOLE COVER


    1. Apply butyl tape to the front door panel.

    2. Pass the front door lock remote control cable and rear door inside the locking cable through a new front door service hole cover.

    3. A017G5FE01

      Attach the front door service hole cover according to the reference points on the front door panel.

      Note

      Securely install the front door service hole cover avoiding wrinkles and air bubbles.

    4. A017DHL

      Connect each connector.

    5. Engage the 2 clamps.

  12. INSTALL OUTER REAR VIEW MIRROR ASSEMBLY WITH COVER


    1. A017FZCE01

      Engage the claw, and temporarily install the outer rear view mirror assembly with cover.

    2. Tighten the 3 nuts in the order shown in the illustration to install the outer rear view mirror assembly with cover.

      Torque:
      8.0 N*m  { 82 kgf*cm, 71 in.*lbf }
    3. A017CEJ

      Engage the clamp and connect the connector.

    4. Install the clip.

  13. INSTALL FRONT NO. 1 SPEAKER ASSEMBLY


    1. A017BR7

      Install the front No. 1 speaker assembly with the 4 bolts.

      Note

      Do not touch the cone part of the speaker.

    2. Connect the connector.

  14. INSTALL FRONT DOOR INNER GLASS WEATHERSTRIP


    1. A017ESJ

      Install the front door inner glass weatherstrip.

  15. INSTALL FRONT DOOR TRIM BOARD SUB-ASSEMBLY


    1. Connect the connector.

    2. A017F3J

      Connect the front door lock remote control cable and front door inside locking cable to the front door inside handle sub-assembly.

    3. Engage the 2 clamps.

    4. A017FU9

      Engage the front door trim board with the 5 claws on the front door inner glass weatherstrip.

    5. Engage the 9 clips.

    6. A017FDZE01

      Install the 2 screws <B>.

    7. Install the screw <A> and front door trim board to the front door panel.

      Torque:
      3.5 N*m  { 36 kgf*cm, 31 in.*lbf }
  16. INSTALL COURTESY LIGHT ASSEMBLY


    1. Connect the connector.

    2. A017CHJ

      Engage the claw and install the courtesy light assembly.

  17. INSTALL ASSIST GRIP COVER


    1. A017EGS

      Engage the 4 claws and install the assist grip cover.

  18. INSTALL FRONT ARMREST UPPER BASE PANEL


    1. Connect the connector.

    2. A017DCH

      Engage the 7 claws and clip and install the front armrest upper base panel.

  19. INSTALL FRONT DOOR INSIDE HANDLE BEZEL PLUG


    1. A017ERK

      Engage the 3 claws and install the front door inside handle bezel plug.

  20. INSTALL FRONT DOOR LOWER FRAME BRACKET GARNISH


    1. A017CI2

      Engage the clip and claw, and install the front door lower frame bracket garnish.

  21. CONNECT NEGATIVE BATTERY TERMINAL

    Note

    When disconnecting the cable, some systems need to be initialized after the cable is reconnected Click here.

  22. INITIALIZE WINDOW CONTROL SYSTEM (for Driver Side)

    Click here