СИСТЕМА ПОМОЩИ ПРИ ПАРКОВКЕ Направляющие линии и кнопки отображаются не во всех режимах дисплея

ОПИСАНИЕ

ЭБУ системы навигации в сборе получает сигналы открывания/закрывания замка двери багажного отделения в сборе от главного ЭБУ кузова по шине CAN. Когда дверь багажного отделения открыта, невозможно правильно отрегулировать ориентацию камеры, так как задняя телекамера в сборе установлена на двери багажного отделения. Поэтому при калибровке ориентации камеры с открытой дверью багажного отделения отображается предупреждение об открытой двери, и регулировка ориентации камеры отменяется.

Tech Tips


  • Проверьте настройки режима индикации монитора системы помощи при парковке. (Убедитесь, что линии заданного направления отключены.)

  • Замок двери багажного отделения в сборе подключен к главному ЭБУ кузова посредством жгута электропроводки автомобиля.

СХЕМА СОЕДИНЕНИЙ

A01CFHVE01

ПОСЛЕДОВАТЕЛЬНОСТЬ ПРОВЕРКИ

Note


  • Если после отсоединения провода от отрицательного (-) вывода аккумуляторной батареи на ЭБУ системы навигации в сборе появляется сообщение "System initializing" (Инициализация системы), скорректируйте нейтральное положение рулевого колеса (см. стр. Click here).

  • В зависимости от замененных деталей или операций, которые были выполнены при проверке или обслуживании автомобиля, может потребоваться калибровка других систем, а также системы помощи при парковке (см. стр. Click here).

ПОРЯДОК ВЫПОЛНЕНИЯ


  1. СНИМИТЕ ПОКАЗАНИЯ ПОРТАТИВНОГО ДИАГНОСТИЧЕСКОГО ПРИБОРА


    1. Подсоедините портативный диагностический прибор к DLC3.

    2. Включите зажигание (IG).

    3. Включите портативный диагностический прибор.

    4. Войдите в следующие меню: Body / Main Body / Data List.

    5. В соответствии с указаниями на дисплее портативного диагностического прибора считайте данные в режиме Data List.

      Main Body (Кузов)
      Информация на дисплее прибора Измеряемая величина / диапазон измерения Нормальное состояние Замечание по диагностике
      Back Door Courtesy SW Сигнал выключателя освещения проема двери багажного отделения / ON (ВКЛ) или OFF (ВЫКЛ)

      ON (ВКЛ): Дверь багажного отделения открыта

      OFF (ВЫКЛ): дверь багажного отделения закрыта

      -
      OK
      Функции выключателя освещения проема двери багажного отделения соответствуют указанным в столбце нормального состояния.

    NG
    OK
  2. ПРОВЕРЬТЕ ЖГУТ ПРОВОДОВ И РАЗЪЕМ (ЗАМОК ДВЕРИ БАГАЖНОГО ОТДЕЛЕНИЯ – ГЛАВНЫЙ ЭБУ КУЗОВА)


    1. Отсоедините разъем U13 замка двери багажного отделения в сборе.

    2. Отсоедините разъем G49 распределительного блока панели приборов.

    3. Измерьте сопротивление в соответствии со значениями, приведенными в таблице ниже.

      Номинальное сопротивление
      Подключение диагностического прибора Условие Заданные условия
      G49-25 (BCTY) - U13-3 (CTY) Всегда Менее 1 Ом
      G49-25 (BCTY) - масса Всегда 10 кОм или более
      U13-4 (E) - масса Всегда Менее 1 Ом

    NG
    OK
  3. ПРОВЕРЬТЕ ЗАМОК ДВЕРИ БАГАЖНОГО ОТДЕЛЕНИЯ В СБОРЕ


    1. Снимите замок двери багажного отделения в сборе (см. стр. Click here).

    2. Измерьте сопротивление в соответствии со значениями, приведенными в таблице ниже.

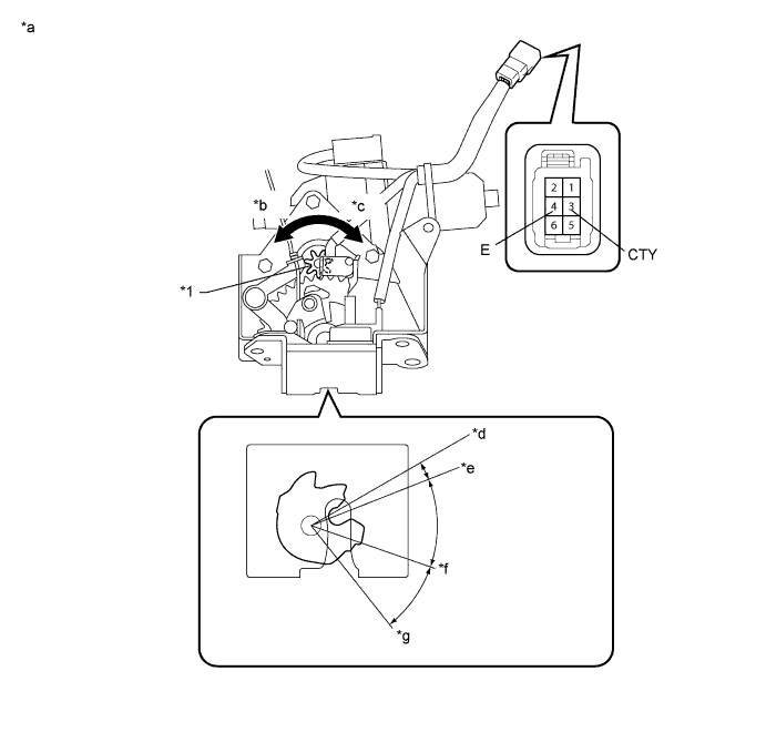
      A01CFLPE18
      Обозначения на рисунке
      *1 Ведущая шестерня - -
      a

      Устройство с неподсоединенным жгутом проводов

      (замок двери багажного отделения в сборе)

      b Не нажат
      *c Закрыто *d Защелка перекрыта
      *e Защелка полностью закрыта *f Защелка наполовину закрыта
      *g Защелка открыта - -
      Номинальное сопротивление
      Подключение диагностического прибора Условие Заданные условия
      3 (CTY) - 4 (E) Защелка открыта Менее 1 Ом
      3 (CTY) - 4 (E) Защелка наполовину закрыта Менее 1 Ом
      3 (CTY) - 4 (E) Защелка полностью закрыта 10 кОм или более
      3 (CTY) - 4 (E) Защелка перекрыта 10 кОм или более

    NG
    OK