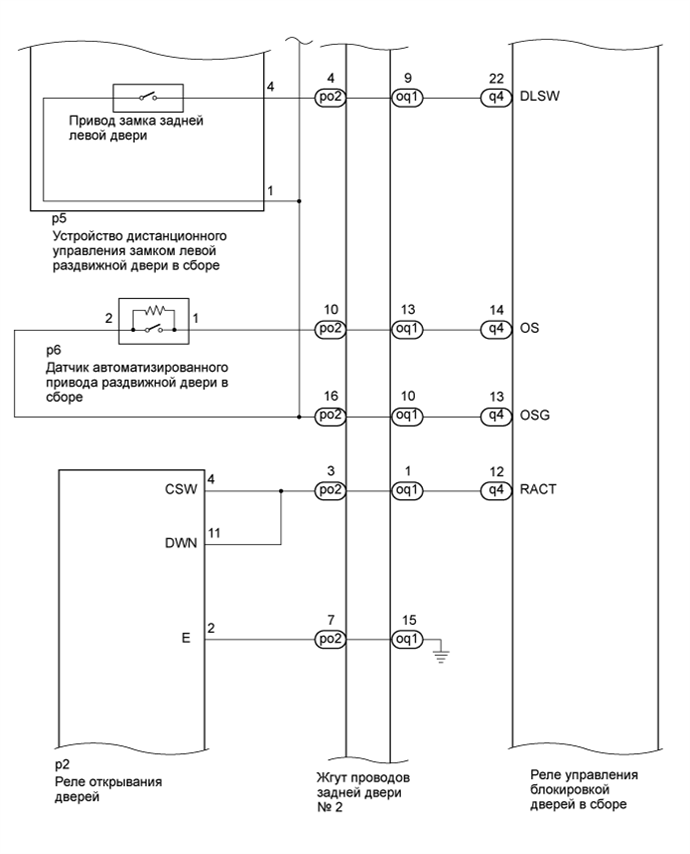
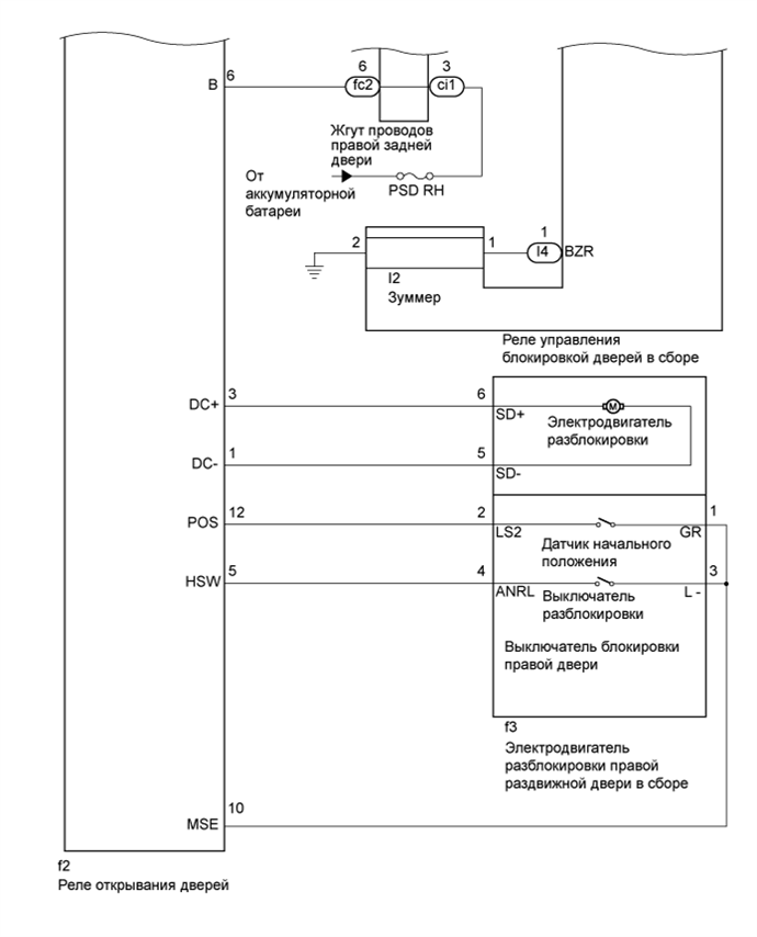
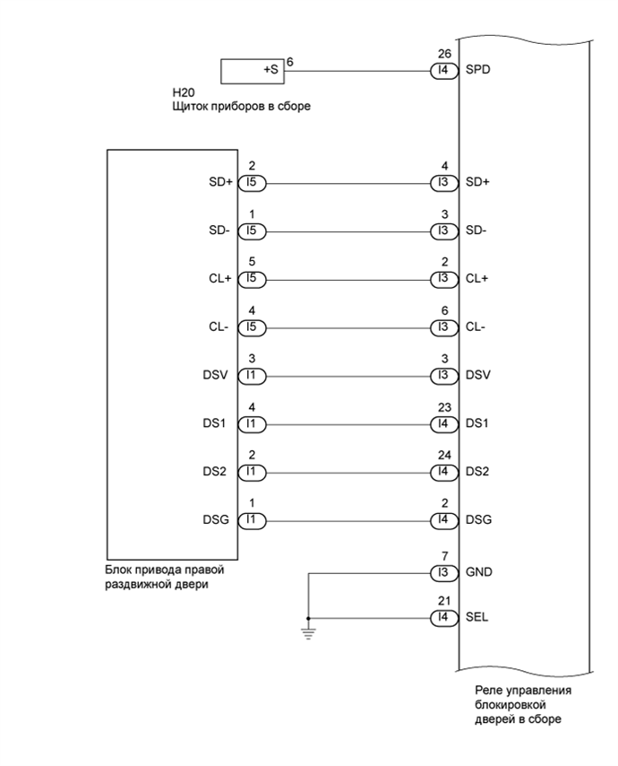
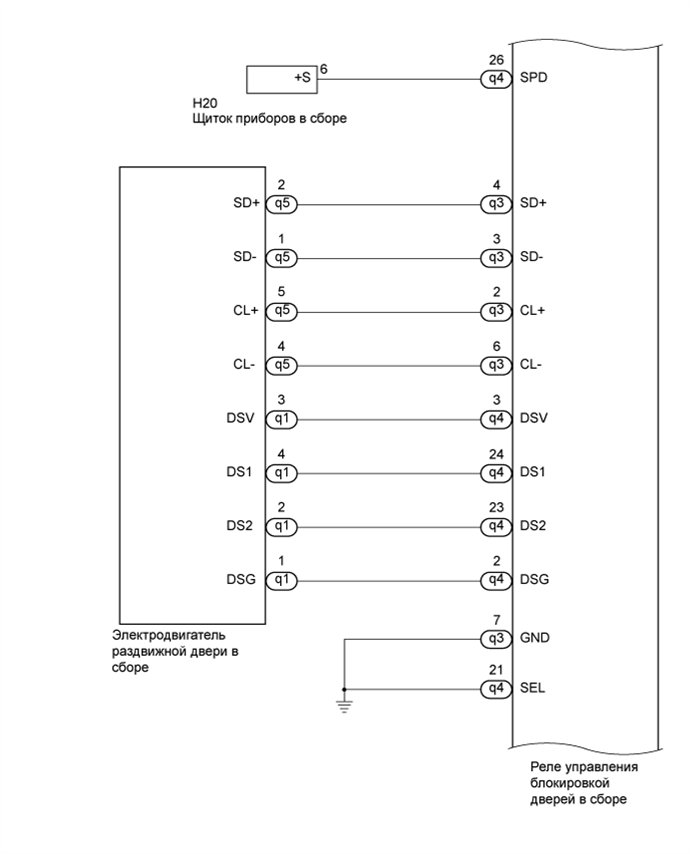
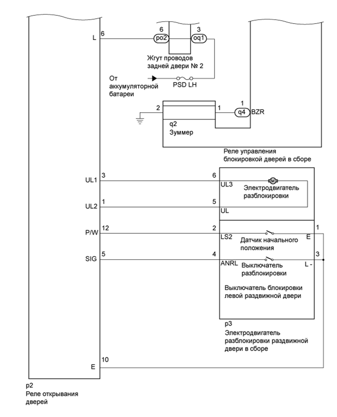
РАЗДВИЖНАЯ ДВЕРЬ С АВТОМАТИЗИРОВАННЫМ ПРИВОДОМ СХЕМА СИСТЕМЫ


  1. Для левой стороны

    A01BFRWE01
    A01BE1EE01
    A01BCXVE01
    A01BFV0E01
    A01BE5OE01
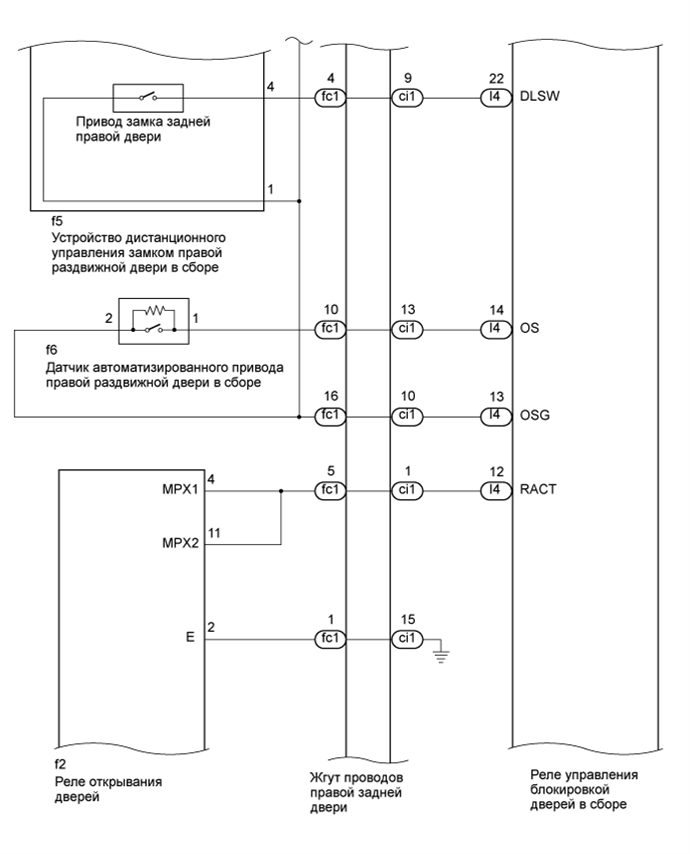
  2. для правой стороны, для моделей с раздвижными дверями с электроприводом

    A01BFRWE02
    A01BE1EE02
    A01BCXVE02
    A01BFV0E02
    A01BE5OE02