НАРУЖНОЕ ЗЕРКАЛО ЗАДНЕГО ВИДА РАЗБОРКА

Tech Tips


  • Порядок выполнения работ одинаков для моделей с левосторонним и правосторонним рулевым управлением.

  • Ниже рассмотрен порядок выполнения работ для моделей с левосторонним рулевым управлением.

  • Порядок выполнения работ для левой и правой стороны одинаков.

  • Ниже рассмотрен порядок выполнения работ для левой стороны.


  1. СНИМИТЕ ЛЕВОЕ НАРУЖНОЕ ЗЕРКАЛО (для моделей с механизмом отвода зеркал)


    1. A01BGFYE01
      Обозначения на рисунке
      *1 Защитная клейкая лента
      *2 Съемник молдингов D

      Поверните зеркало, нажав на его верхнюю часть.

    2. Наклейте защитную клейкую ленту на левое наружное зеркало заднего вида в сборе.

    3. С помощью съемника молдингов D освободите 2 захвата.

    4. Потяните в направлении, указанном стрелкой, освободите 2 направляющих и снимите левое наружное зеркало.

  2. СНИМИТЕ МЕХАНИЗМ ОТВОДА ЛЕВОГО НАРУЖНОГО ЗЕРКАЛА (для моделей с механизмом отвода зеркал)


    1. Снимите зажим.


      1. A01BGPYE01
        Обозначения на рисунке
        *1 Лента
        *2 Зажим

        Снимите ленту и зажим со жгута проводов.

    2. Снимите узел основания.


      1. A01BAJLE01
        Обозначения на рисунке
        *1 Лента

        Удалите ленту.

      2. A01BHV8E01
        Обозначения на рисунке
        *a Отрезать здесь

        Разрежьте жгут проводов в месте, показанном на рисунке.

        Tech Tips

        Для сборки используется новый жгут проводов.

      3. A01BGSK

        Отсоедините 5 захватов и снимите прокладку.

      4. A01BF6U

        С помощью торцевого ключа "TORX" T25 выверните 3 винта "TORX" и снимите основание.

    3. A01BBA9

      С помощью торцевого ключа "TORX" T25 выверните винт "TORX" и снимите опорную пластину.

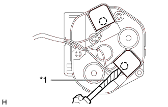
    4. A01BDVB

      Выверните 4 винта и снимите корпус.

    5. A01BD17E01

      Снимите привод в сборе.


      1. Снимите зажим.

      2. Сместите резиновую заглушку, чтобы отсоединить разъем.

        Обозначения на рисунке
        *1 Резиновая заглушка
      3. Вытяните жгут проводов, как показано на рисунке.

      4. A01BDXB

        Выверните 3 винта и снимите привод в сборе.

      5. A01BA7IE01
        Обозначения на рисунке
        *1 Защитная клейкая лента

        С помощью отвертки освободите 2 захвата и отсоедините 2 разъема.

        Tech Tips

        Конец отвертки перед использованием следует изолировать защитной клейкой лентой.