СИСТЕМА ЗАПУСКА ПРОВЕРКА


  1. ПРОВЕРЬТЕ СТАРТЕР В СБОРЕ (для моделей мощностью 1,6 кВт)

    CAUTION:

    Так как при выполнении данной проверки по кабелю протекает значительный ток, следует использовать провод большого сечения. В противном случае провод может нагреться и стать причиной травмы.

    Note

    Чтобы не допустить перегорания обмотки, каждое из следующих испытаний должно выполняться в течение не более 3–5 с.


    1. Выполните испытание втягивания.


      1. A01BGKFE03
        Обозначения на рисунке
        *1 Контакт C

        Отверните гайку и отсоедините провод обмотки возбуждения от контакта C.

      2. A01BCTME03
        Обозначения на рисунке
        *1 Контакт C
        *2 Контакт 50

        Подсоедините аккумуляторную батарею к втягивающему реле, как показано на рисунке. Убедитесь, что ведущая шестерня муфты выдвигается.

    2. Выполните испытание удержания.


      1. A01BCDHE03
        Обозначения на рисунке
        *1 Контакт C
        *2 Контакт 50

        Отсоедините отрицательный (-) вывод от контакта С при условиях, описанных в испытании втягивания выше.

    3. Проверьте операцию втягивания.


      1. A01BGLTE03
        Обозначения на рисунке
        *1 Контакт 50

        Отсоедините отрицательный вывод (-) от корпуса стартера. Убедитесь, что ведущая шестерня муфты возвращается внутрь.

    4. Выполните испытание работы без нагрузки.


      1. Подсоедините вывод обмотки возбуждения к контакту C.

        Torque:
        10 Н*м  { 102 кгс*см, 7,4 фунт-сила-фута }
    5. Закрепите стартер в тисках между алюминиевыми пластинами.

    6. A01BF0FE03
      Обозначения на рисунке
      *1 Контакт 30
      *2 Контакт 50
      *3 Амперметр

      Подсоедините аккумуляторную батарею и амперметр к стартеру, как показано на рисунке.

    7. Удостоверьтесь, что амперметр показывает предписанный ток.

      Номинальный ток
      90 А или менее при 11,5 В
  2. ПРОВЕРЬТЕ СТАРТЕР В СБОРЕ (для моделей мощностью 1,7 кВт)

    CAUTION:

    Так как при выполнении данной проверки по кабелю протекает значительный ток, следует использовать провод большого сечения. В противном случае провод может нагреться и стать причиной травмы.

    Note

    Чтобы не допустить перегорания обмотки, каждое из следующих испытаний должно выполняться в течение не более 3–5 с.


    1. Выполните испытание втягивания.


      1. Отверните гайку, а затем отсоедините вывод от контакта C.

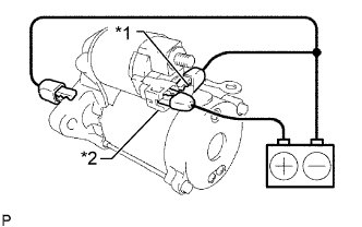
      2. A01BEAKE02
        Обозначения на рисунке
        *1 Контакт 50
        *2 Контакт C

        Подсоедините аккумуляторную батарею к втягивающему реле стартера, как показано на рисунке. Затем убедитесь, что ведущая шестерня муфты смещается наружу. Если ведущая шестерня муфты не перемещается, замените втягивающее реле стартера.

    2. Выполните испытание удержания.


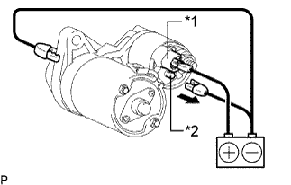
      1. A01BDHAE02
        Обозначения на рисунке
        *1 Контакт 50
        *2 Контакт C

        Подсоедините аккумуляторную батарею, как описано выше. При условии, что ведущая шестерня муфты находится снаружи, отсоедините отрицательный (-) вывод от контакта C. Убедитесь, что ведущая шестерня остается снаружи.

        Если ведущая шестерня муфты возвращается внутрь, замените втягивающее реле стартера.

    3. Проверьте возврат ведущей шестерни муфты.


      1. A01BGVKE02
        Обозначения на рисунке
        *1 Контакт 50

        Отсоедините отрицательный вывод (-) от корпуса стартера. Убедитесь, что ведущая шестерня муфты возвращается внутрь.

        Если ведущая шестерня муфты не перемещается внутрь, замените втягивающее реле стартера.

    4. Выполните испытание работы без нагрузки.


      1. Подсоедините вывод к контакту C.

        Torque:
        8,0 Н*м  { 82 кгс*см, 71 фунт-сила-дюйм }
      2. Закрепите стартер в тисках между алюминиевыми пластинами.

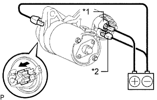
      3. A01BFKQE02
        Обозначения на рисунке
        *1 Контакт 30
        *2 Контакт 50

        Подсоедините аккумуляторную батарею и амперметр к стартеру, как показано на рисунке.

      4. Убедитесь, что стартер вращается плавно и непрерывно с ведущей шестерней, выдвинутой наружу. Затем измерьте ток.

        Номинальный ток
        90 A или менее при 10,9 В

        Если результат не соответствует заданному, замените стартер в сборе.

  3. ПРОВЕРЬТЕ СТАРТЕР В СБОРЕ (для моделей мощностью 2,0 кВт)

    CAUTION:

    Так как при выполнении данной проверки по кабелю протекает значительный ток, следует использовать провод большого сечения. В противном случае провод может нагреться и стать причиной травмы.

    Note

    Чтобы не допустить перегорания обмотки, каждое из следующих испытаний должно выполняться в течение не более 3–5 с.


    1. Закрепите стартер в тисках между алюминиевыми пластинами.

    2. Выполните испытание втягивания.


      1. Отверните гайку, а затем отсоедините вывод от контакта C.

      2. A01BHL6E01
        Обозначения на рисунке
        *1 Контакт 50
        *2 Контакт C

        Подсоедините аккумуляторную батарею к втягивающему реле стартера, как показано на рисунке. Убедитесь, что ведущая шестерня муфты выдвигается.

        Если ведущая шестерня муфты не перемещается, проверьте втягивающее реле стартера в сборе. Если втягивающее реле стартера не соответствует требованиям, замените его.

    3. A01BBH4E01
      Обозначения на рисунке
      *1 Контакт C

      Выполните испытание удержания.


      1. Отсоедините отрицательный (-) вывод от контакта С при условиях, описанных в испытании втягивания выше. Убедитесь, что ведущая шестерня остается в выдвинутом состоянии.

        Если ведущая шестерня муфты возвращается внутрь, проверьте втягивающее реле стартера в сборе. Если втягивающее реле стартера не соответствует требованиям, замените его.

    4. A01BF9M

      Проверьте возврат ведущей шестерни муфты.


      1. Отсоедините отрицательный вывод (-) от корпуса стартера. Убедитесь, что ведущая шестерня муфты возвращается внутрь.

        Если ведущая шестерня муфты не перемещается внутрь, проверьте втягивающее реле стартера в сборе. Если втягивающее реле стартера не соответствует требованиям, замените его.

    5. Выполните испытание работы без нагрузки.


      1. Подсоедините вывод к контакту C.

        Torque:
        5,9 Н*м  { 60 кгс*см, 52 фунт-сила-дюйма }
      2. A01BAUBE01
        Обозначения на рисунке
        *1 Контакт 50
        *2 Контакт 30

        Подсоедините аккумуляторную батарею и амперметр к стартеру, как показано на рисунке.

      3. Убедитесь, что стартер вращается плавно и непрерывно, когда ведущая шестерня выдвинута. Затем измерьте ток.

        Номинальный ток
        Не более 100 A при 11,5 В

        Если результат не отвечает требованиям, проверьте стартер в сборе.

        Tech Tips

        Проверьте щеткодержатель, статор и якорь стартера. При выявлении неисправности замените деталь и повторите проверку.