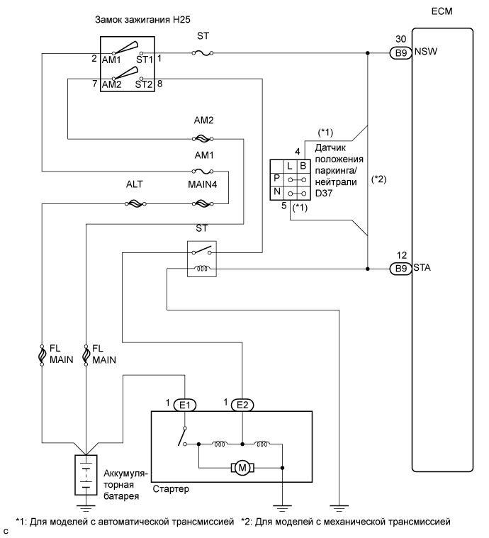
СИСТЕМА ЗАПУСКА СХЕМА СИСТЕМЫ

A01BFSOE01