БЛОК ДВИГАТЕЛЯ ПОВТОРНАЯ СБОРКА


  1. INSTALL TIGHT PLUG


    1. A01BDATE01

      Apply adhesive to a new tight plug.

      Adhesive
      Toyota Genuine Adhesive 1324, Three Bond 1324 or equivalent
    2. Using SST and a hammer, tap in the 2 tight plugs A.

      A01BABNE01
      SST
      09950-60010   ( 09951-00250 )
      09950-70010   ( 09951-07100 )
    3. Using SST and a hammer, tap in the 4 tight plugs B.

      SST
      09950-60010   ( 09951-00350 )
      09950-70010   ( 09951-07100 )
    4. Using SST and a hammer, tap in the tight plug C.

      SST
      09950-60010   ( 09951-00500 )
      09950-70010   ( 09951-07100 )
  2. INSTALL STUD BOLT

    Note

    If the stud bolt is deformed or the threads are damaged, replace it.


    1. Install the stud bolts as shown in the illustration.

      A01BDL7E01
      Torque:
      15 N*m  { 150 kgf*cm, 11 ft.*lbf }
  3. INSTALL STRAIGHT PIN


    1. Install the straight pin as shown in the illustration.

      A01BD9EE01
  4. INSTALL RING PIN


    1. Install the ring pin as shown in the illustration.

      A01BGQLE02
  5. INSTALL W/HEAD TAPER SCREW PLUG NO.1


    1. A01BFB1E01

      Apply adhesive to 2 or 3 threads.

      Adhesive
      Toyota Genuine Adhesive 1324, Three Bond 1324 or equivalent
    2. Install the screw plug.

      Torque:
      20 N*m  { 200 kgf*cm, 14 ft.*lbf }
  6. INSTALL CYLINDER BLOCK WATER DRAIN COCK SUB-ASSEMBLY


    1. A01BEKOE02

      Apply adhesive to 2 or 3 threads.

      Adhesive
      Toyota Genuine Adhesive 1324, Three Bond 1324 or equivalent
    2. A01BBH7E01

      Install the water drain cock.

      Torque:
      57 N*m  { 580 kgf*cm, 42 ft.*lbf }

      Tech Tips


      • After applying the specified torque, rotate the drain union clockwise until its drain port is facing downward.

      • The drain port may be set within 45°of either side of the prescribed position.

  7. INSTALL CYLINDER BLOCK OIL ORIFICE


    1. Using a 6 mm hexagon wrench, install the oil orifice.

      Torque:
      11 N*m  { 110 kgf*cm, 8 ft.*lbf }
  8. INSTALL OIL NOZZLE NO.1 SUB-ASSEMBLY


    1. A01BET5

      Align the pin of the oil nozzle with the pin hole of the cylinder block.

    2. Install the oil nozzle with the check valve. Install the 4 oil nozzles and check valves.

      Torque:
      26 N*m  { 260 kgf*cm, 18 ft.*lbf }
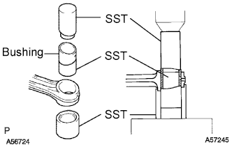
  9. INSTALL CONNECTING ROD SMALL END BUSH


    1. A01BASV

      Using a round file, lightly file off any roughness from the small end of the connecting rod.

    2. A01BAIFE01

      Attach a new bush to SST with the ball of SST inside the oil hole of the bush.

      SST
      09222-54011   ( 09222-03021 )
    3. A01BI6HE01

      Align the oil holes of the bush and connecting rod.

    4. A01BE9JE01

      Using SST and a press, press in the bush.

      SST
      09222-54011   ( 09222-03016, 09222-03021, 09222-03026 )
    5. A01BCJQ

      Using a pin hole grinder, hone the bush to obtain the standard specified clearance (See disassembly, step 69) between the bush and piston pin.

    6. A01BEUG

      Check the piston pin fitting condition at normal room temperature. Coat the piston pin with engine oil, and push it into the connecting rod with your thumb.

  10. INSTALL PISTON SUB-ASSEMBLY W/PIN


    1. Assemble the piston and connecting rod.


      1. A01BCB8

        Using snap ring pliers, install a new snap ring on one side of the piston pin hole.

      2. A01BC4KE01

        Gradually heat the piston to about 60°C (140°F).

      3. Coat the piston pin with engine oil.

      4. A01BHWUE01

        Align the front marks of the piston and connecting rod, and push in the piston pin with your thumb.

      5. A01BI24

        Check the fitting condition between the piston and piston pin.

        Tech Tips

        Try to move the piston back and forth on the piston pin.

      6. A01BI6O

        Using snap ring pliers, install a new snap ring on the other side of the piston pin hole.

    2. A01BBKBE01

      Install the piston rings.


      1. Install the coil and oil ring by hand.

        Tech Tips

        Face the end gap of the oil ring in the opposite direction of the coil joint.

      2. A01BF8EE01

        Using a piston ring expander, install the No. 1 and No. 2 piston rings with the code mark facing upward.

        Code mark
        No. 1 1N
        No. 2 2N
      3. A01BGQNE01

        Position the piston rings so that the ring ends are as shown in the illustration.

        Note

        Do not align the ring ends.

  11. INSTALL CONNECTING ROD BEARING


    1. A01BD1V

      Align the bearing claw with the groove of the connecting rod or connecting rod cap.

    2. Install the bearings in the connecting rod and connecting rod cap.

  12. INSTALL CRANKSHAFT BEARING

    Tech Tips

    Upper bearings have an oil groove and oil hole; lower bearings do not.


    1. A01BB0H

      Align the bearing claw with the claw groove of the cylinder block, and push in the 5 upper bearings.

    2. A01BH8O

      Align the bearing claw with the claw groove of the crankshaft bearing cap, and push in the 5 lower bearings.

  13. INSTALL CRANKSHAFT THRUST WASHER SET


    1. A01BEWW

      Install the 2 thrust washers under the No. 3 journal position of the cylinder block with the oil grooves facing outward.

    2. A01BDGI

      Install the 2 thrust washers on the No. 3 crankshaft bearing cap with the grooves facing outward.

  14. INSTALL CRANKSHAFT


    1. A01BBVB

      Place the crankshaft on the cylinder block.

    2. Install the 5 crankshaft bearing caps in their proper locations.

    3. Install the crankshaft bearing cap bolts.


      1. Apply a light coat of the engine oil to the threads and under the bolt heads of the crankshaft bearing caps.

      2. A01BBT4E01

        Install and uniformly tighten the 10 bolts of the crankshaft bearing caps, in several steps, in the sequence shown.

        Torque:
        105 N*m  { 1,071 kgf*cm, 77 ft.*lbf }
    4. Check that the crankshaft turns smoothly.

    5. Check the crankshaft thrust clearance (See disassembly, step 53).

  15. INSTALL PISTON AND CONNECTING ROD


    1. A01BC2P

      Cover the connecting rod bolts with a short piece of hose to protect the crankshaft and cylinder bore from damage.

    2. A01BC7WE01

      Using a piston ring compressor, push the correctly numbered piston and connecting rod assembly into the cylinder with the front mark of the piston facing forward.

    3. A01BF4HE01

      Place the connecting rod cap on the connecting rod.


      1. Match the numbered connecting rod cap with the connecting rod.

      2. Install the connection rod cap with the front mark facing forward.

    4. Install the connecting rod cap nuts.

      Tech Tips

      The connecting rod cap nuts are tightened in 2 progressive steps (steps (2) and (4)).

      If any connecting rod bolt is broken or deformed, replace it.


      1. Apply a light of engine oil to the threads and under the heads of the connecting rod cap nuts.

      2. A01BALW

        Install and alternately tighten the nuts of the connecting rod cap in several passes.

        Torque:
        54 N*m  { 550 kgf*cm, 40 ft.*lbf }

        If any one of the connecting rod cap nuts does not meet the torque specification, replace them.

      3. A01BDI3E01

        Mark the front of the connecting rod cap nuts with paint.

      4. Retighten the connecting rod cap nuts 90° as shown.

      5. Check that the painted mark is now at a 90° angle to the front.

    5. Check that the crankshaft turns smoothly.

    6. Check the connecting rod thrust clearance (See disassembly, step 49).

  16. INSTALL TIGHT PLUG

    Note

    If water leaks from the tight plug or the plug corrodes, replace it.


    1. A01BDATE01

      Apply adhesive to the tight plug.

      Adhesive
      Toyota Genuine Adhesive 1324, Three Bond 1324 or equivalent
    2. Using SST, tap in new 7 tight plugs A.

      A01BEDWE02
      SST
      09950-60010   ( 09951-00250 )
      09950-70010   ( 09951-07100 )
    3. Using SST, tap in new tight plug B.

      SST
      09950-60010   ( 09951-00300 )
      09950-70010   ( 09951-07100 )
    4. Using SST, tap in new 2 tight plugs C.

      SST
      09950-60010   ( 09951-00450 )
      09950-70010   ( 09951-07100 )
  17. INSTALL STUD BOLT

    Note

    If the stud bolt is deformed or the threads are damaged, replace it.


    1. Install the stud bolts as shown in the illustration.

      A01BAN5E02
      Torque:
      Bolt A
      26 N*m  { 265 kgf*cm, 19 ft.*lbf }
      Bolt B
      12 N*m  { 120 kgf*cm, 9 ft.*lbf }
      Bolt C
      6.0 N*m  { 60 kgf*cm, 53 in.*lbf }
  18. INSTALL RING PIN

    Note

    It is not necessary to remove the ring pin unless it is being replaced.


    1. Using a plastic hammer, tap in a new ring pin until it stops.

      A01BAQEE03
  19. INSTALL SEMICIRCULAR PLUG


    1. Remove any old packing (FIPG) material.

    2. A01BDF1E01

      Apply seal packing to the semicircular plug as shown in the illustration.

      Seal packing
      Toyota Genuine Seal Packing Black, Three Bond 1207B or equivalent
    3. Install the semicircular plug to the cylinder head.

  20. INSTALL COMBUSTION CHAMBER SUB-ASSEMBLY


    1. A01BG1HE01

      Select the number of shim, depending on the table below.

      Select the number of shim
      Number mark of cylinder head Number of shim
      1 0
      2 0
      1
      3 1
      2
      Shim thickness
      0.03 mm (0.0012 in.)
    2. Align the combustion chamber knock pin with the cylinder head notch.

    3. A01BG0RE01

      Using a plastic hammer, tap in the combustion chamber.

    4. A01BF7K

      Using a dial indicator, check the combustion chamber protrusion.

      Combustion chamber protrusion
      Minus 0.03 to Plus 0.03 mm (Minus 0.0012 to Plus 0.0012 in.)

      If the protrusion is less than the specified, adjust with shims.

      If the protrusion is greater than the specified, replace the chamber and recheck the protrusion.

  21. INSTALL VALVE STEM OIL SEAL

  22. INSTALL INTAKE VALVE


    1. Install the valve, spring seat, valve spring and spring retainer.

    2. A01BA6YE01

      Using SST, compress the valve spring and place the 2 retainer locks around the valve stem.

      SST
      09202-70020   ( 09202-00030 )
    3. A01BD60

      Using a plastic hammer, lightly tap the valve stem tip to assure a proper fit.

      Note

      Do not damage the valve stem tip.

  23. INSTALL EXHAUST VALVE


    1. Install the valve, spring seat, valve spring and spring retainer.

    2. A01BD04E01

      Using SST, compress the valve spring and place the 2 retainer locks around the valve stem.

      SST
      09202-70020   ( 09202-00030 )
    3. A01BEX5

      Using a plastic hammer, lightly tap the valve stem tip to assure a proper fit.

      Note

      Do not damage the valve stem tip.

  24. INSTALL VALVE LIFTER


    1. Install the valve lifter and shim.

    2. Check that the valve lifter rotates smoothly by hand.

  25. INSTALL ENGINE REAR OIL SEAL


    1. A01BAQDE01

      Using SST and a hammer, tap in a new oil seal until its surface is flush with the oil seal retainer edge.

      SST
      09223-15030
      09950-70010   ( 09951-07100 )
    2. Apply MP grease to the oil seal lip.

  26. INSTALL ENGINE REAR OIL SEAL RETAINER


    1. Install a new gasket and the retainer with the 4 bolts.

      Torque:
      13 N*m  { 130 kgf*cm, 10 ft.*lbf }
  27. INSTALL TIMING GEAR CASE OR TIMING CHAIN CASE OIL SEAL


    1. A01BBBSE01

      Using SST and a hammer, tap in a new oil seal to the depth of 0.5 mm (0.020 in.) from the oil pump case edge.

      SST
      09214-60010
    2. Apply MP grease to the oil seal lip.

  28. INSTALL TIMING GEAR CASE SUB-ASSEMBLY


    1. Place a new gasket on the cylinder block.

    2. A01BC44

      Install the timing gear case with the 5 bolts.

      Torque:
      23 N*m  { 230 kgf*cm, 17 ft.*lbf }
  29. INSTALL OIL STRAINER SUB-ASSEMBLY


    1. Install a new gasket and oil strainer with the 2 bolts and 2 nuts.

      Torque:
      Nut
      21 N*m  { 210 kgf*cm, 15 ft.*lbf }
      Bolt
      18 N*m  { 180 kgf*cm, 13 ft.*lbf }
  30. INSTALL OIL PAN SUB-ASSEMBLY


    1. Remove any old packing (FIPG) material. Do not drop any oil on the contact surfaces of the oil pan and cylinder block.

      Note

      Do not use a solvent which will affect the painted surfaces.

      Tech Tips


      • Using a razor blade and gasket scraper, remove all the old packing (FIPG) material from the gasket surfaces and sealing groove.

      • Thoroughly clean all components to remove all the loose material.

      • Using a non-residue solvent, clean both sealing surfaces.

    2. A01BBZ9E01

      Apply seal packing to the oil pan as shown in the illustration.

      Seal packing
      Toyota Genuine Seal Packing Black, Three Bond 1207B or equivalent

      Tech Tips


      • Apply at least 5.0 mm (0.20 in.) (preferably slightly more) of seal packing to the portions of the oil pan in contact with the timing belt case and rear oil seal retainer.

      • Install a nozzle with a 4.0 to 5.0 mm (0.16 to 0.20 in.) opening.

      • Do not apply an excessive amount to the surface especially near the oil passages.

      • Parts must be assembled within 5 minutes of application. Otherwise the material must be removed and reapplied.

      • Immediately remove the nozzle from the tube and reinstall cap.

    3. Install the oil pan with the 16 bolts and 2 nuts. Uniformly tighten the bolts and nuts in several steps.

      Torque:
      18 N*m  { 180 kgf*cm, 13 ft.*lbf }
  31. INSTALL CRANKSHAFT TIMING PULLEY


    1. Align the pulley set key with the key groove of the timing pulley.

    2. A01BFFME01

      Using SST and a hammer, tap in the timing pulley, facing the flange side inward.

      SST
      09223-46011
  32. INSTALL WATER PUMP ASSEMBLY


    1. A01BEQ8E01

      Install a new gasket, the water pump and tension spring bracket with the 6 bolts.

      Torque:
      23 N*m  { 230 kgf*cm, 17 ft.*lbf }
  33. INSTALL TIMING BELT IDLER SUB-ASSEMBLY NO.2


    1. Install the spacer and timing belt idler No.2 with the bolt.

      Torque:
      33 N*m  { 340 kgf*cm, 24 ft.*lbf }
    2. Check that the timing belt idler No.2 moves smoothly.

  34. INSTALL TIMING BELT IDLER SUB-ASSEMBLY NO.1


    1. A01BFX2E01

      The bolt lengths for bolts A, B and C are shown in the illustration.

      Tech Tips

      Bolt C is combined with the timing belt idler No.1.

      Bolt A
      76.5 mm (3.012 in.)
      Bolt B
      42.9 mm (1.689 in.)
      Bolt C
      41.3 mm (1.626 in.)
    2. A01BFLME01

      Install the timing belt idler No.1 with the 3 bolts.

    3. Tighten the bolt C.

      Torque:
      19 N*m  { 195 kgf*cm, 14 ft.*lbf }
  35. INSTALL CYLINDER HEAD GASKET


    1. A01BARDE01

      Check the piston protrusion for each cylinder.


      1. Clean the cylinder block with solvent.

      2. Set the piston of the cylinder to be measured to slightly before TDC.

      3. Place a dial indicator on the cylinder block, and set the measuring tip as shown in the illustration.

      4. Set the dial indicator at 0 mm (0 in.).

        Tech Tips


        • Use a dial indicator measuring tip as shown in the illustration.

        • Make sure that the measuring tip is square to the cylinder block gasket surface and piston head when taking the measurements.

      5. A01BAI4E01

        Find where the piston head protrudes most by slowly turning the crankshaft clockwise and counterclockwise.

      6. A01BACVE01

        Measure the protrusion of each cylinder at 2 places as shown in the illustration, making a total of 8 measurements.

      7. For the piston protrusion value of each cylinder, use the average of the 2 measurements of each cylinder.

        Piston protrusion
        0.68 to 0.97 mm (0.0268 to 0.0382 in.)

        If the protrusion is not as specified, remove the piston and connecting rod assembly and reinstall it.

    2. A01BBRUE01

      Select a new cylinder head gasket.

      Tech Tips

      There are 3 sizes of new cylinder head gaskets, marked B, D or F accordingly.

      New installed cylinder head gasket thickness
      Cut out mark Thickness
      B 1.40 to 1.50 mm (0.0551 to 0.0591 in.)
      D 1.50 to 1.60 mm (0.0591 to 0.0630 in.)
      F 1.60 to 1.70 mm (0.0630 to 0.0669 in.)

      1. Select the largest piston protrusion value from the measurements made, then select a new appropriate gasket according to the table below.

        Piston protrusion Gasket size
        0.68 to 0.77 mm (0.0268 to 0.0303 in.) Use B
        0.78 to 0.87 mm (0.0307 to 0.0343 in.) Use D
        0.88 to 0.97 mm (0.0346 to 0.0382 in.) Use F
    3. A01BBF7E02

      Place a new cylinder head gasket in position on the cylinder block.

      Note

      Be careful of the installation direction.

  36. INSTALL CYLINDER HEAD SUB-ASSEMBLY


    1. Place the cylinder head in position on the cylinder head gasket.

    2. Install the cylinder head bolts.

      Tech Tips

      The cylinder head bolts are tightened in 3 progressive steps (steps (2), (4) and (5)).

      If any bolt is broken or deformed, replace it.


      1. Apply a light coat of engine oil to the threads and under the heads of the cylinder head bolts.

      2. A01BCDBE01

        Install and uniformly tighten the 18 cylinder head bolts, in several steps, in the sequence shown.

        Torque:
        78 N*m  { 800 kgf*cm, 58 ft.*lbf }

        If any one of the cylinder head bolts does not meet the torque specification, replace them.

        Tech Tips

        Each bolt length is indicated below.

        Bolt A
        107 mm (4.12 in.)
        Bolt B
        127 mm (5.00 in.)
      3. A01BCYNE04

        Mark the front of the cylinder head bolt with paint.

      4. Retighten the cylinder head bolts 90° in the numerical order shown.

      5. Retighten the cylinder head bolts by an additional 90° .

      6. Check that the painted mark is now facing rearward.

  37. INSTALL CAMSHAFT


    1. Set the No.1 cylinder to 90° BTDC/compression.

      Tech Tips

      Set the No.1 cylinder to 90° BTDC/compression to avoid interference with the piston top and valve head.


      1. A01BEJPE01

        Using the crankshaft pulley bolt, turn the crankshaft, and put the timing mark of the crankshaft timing pulley with the protrusion of the timing belt case.

    2. A01BDPWE01

      Install the camshaft.

      Note

      Different bearings are used for the No.1 and others.


      1. A01BAD5

        Install the 10 bearings to the bearing caps and cylinder head.

      2. A01BFJAE01

        Place the camshaft on the cylinder head, with the key groove facing upward.

      3. A01BFGO

        Install the 5 bearing caps in their proper locations.

      4. Apply a light coat of engine oil to the threads and under the heads of the bearing cap bolts.

      5. A01BGOZE02

        Install and uniformly tighten the 10 bearing cap bolts, in several steps, in the sequence shown.

        Torque:
        25 N*m  { 255 kgf*cm, 18 ft.*lbf }
  38. INSTALL OIL SEAL RETAINER NO.2 OIL SEAL


    1. A01BDQIE01

      Using SST and a hammer, tap in a new oil seal until its surface is flush with the oil seal retainer edge.

      SST
      09223-46011
    2. Apply MP grease to the oil seal lip.

  39. INSTALL CAMSHAFT OIL SEAL RETAINER


    1. Install a new gasket and the retainer with the 4 bolts.

      Torque:
      18 N*m  { 185 kgf*cm, 13 ft.*lbf }
  40. INSTALL TIMING BELT COVER NO.2


    1. Install the timing belt cover with the 4 bolts.

      Torque:
      18 N*m  { 185 kgf*cm, 13 ft.*lbf }
  41. INSTALL CAMSHAFT TIMING PULLEY


    1. Install the woodruff key to the key groove of the camshaft.

    2. Align the pulley set key with the timing mark facing outward.

    3. A01BI60E01

      Using SST, install the pulley with the bolt.

      SST
      09960-10010   ( 09962-01000, 09963-01000 )
      Torque:
      98 N*m  { 1,000 kgf*cm, 72 ft.*lbf }
  42. INSPECT VALVE CLEARANCE


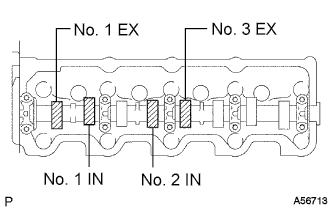
    1. A01BAK0E01

      Align the timing mark of the camshaft timing pulley with the arrow mark of the timing belt No. 2 cover.

    2. A01BC2EE01

      Check only the valves indicated in the illustration.


      1. Using a feeler gauge, measure the clearance between the valve lifter and camshaft.

      2. Record the out-of-specification valve clearance measurements. They will be used later to determine the required replacement adjusting shim.

        Valve clearance (Cold)
        Valve Clearance
        Intake 0.20 to 0.30 mm (0.008 to 0.012 in.)
        Exhaust 0.40 to 0.50 mm (0.016 to 0.020 in.)
      3. A01BHL8E01

        Turn the camshaft 1/2 revolutions (180°).

      4. Check only the valves indicated in the illustration. Measure the valve clearance (See procedure (b) above).

  43. ADJUST VALVE CLEARANCE


    1. Remove the adjusting shim.


      1. Turn the crankshaft so that the cam lobe of the camshaft on the adjusting valve points upward.

      2. A01BC5BE01

        Using SST, press down the valve lifter.

        SST
        09248-64011
      3. Position the notch of the valve lifter with it facing the exhaust manifold side.

      4. A01BENM

        Remove the adjusting shim with a screwdriver and magnetic finger.

    2. Determine the replacement adjusting shim size by following the formula or charts:


      1. A01BBT9

        Using a micrometer, measure the thickness of the removed shim.

      2. Calculate the thickness of a new shim so that the valve clearance comes within the specified value.

        Tech Tips


        • T = Thickness of removed shim

        • A = Measured valve clearance

        • N = Thickness of new shim

          Intake N = T + (A - 0.25 mm (0.010 in.))
          Exhaust N = T + (A - 0.45 mm (0.018 in.))
      3. Select a new shim with a thickness as close as possible to the calculated value.

        Tech Tips

        Shims are available in 17 sizes in increments of 0.05 mm (0.0020 in.), from 2.50 mm (0.0984 in.) to 3.30 mm (0.1299 in.).

      4. Select the adjusting shim using the following chart (Intake).

        A01BBCWE02
        Intake valve clearance (Cold)
        0.20 to 0.30 mm (0.008 to 0.012 in.)

        Tech Tips

        The 2.800 mm (0.1102 in.) shim is installed and the measured clearance is 0.350 mm (0.0138 in.). Replace the 2.800 mm (0.1102 in.) shim with a No.21 shim.

        Shim No. Thickness Shim No. Thickness
        01 2.50 mm (0.0984 in.) 46 2.95 mm (0.1161 in.)
        42 2.55 mm (0.1004 in.) 26 3.00 mm (0.1181 in.)
        0.6 2.60 mm (0.1024 in.) 47 3.05 mm (0.1201 in.)
        43 2.65 mm (0.1043 in.) 31 3.10 mm (0.1220 in.)
        11 2.70 mm (0.1063 in.) 48 3.15 mm (0.1240 in.)
        44 2.75 mm (0.1083 in.) 36 3.20 mm (0.1260 in.)
        16 2.80 mm (0.1102 in.) 49 3.25 mm (0.1280 in.)
        45 2.85 mm (0.1122 in.) 41 3.30 mm (0.1299 in.)
        21 2.90 mm (0.1142 in.) - -
      5. Select the adjusting shim using the following chart (Exhaust).

        A01BH04E02
        Exhaust valve clearance (Cold)
        0.40 to 0.50 mm (0.016 to 0.020 in.)

        Tech Tips

        The 2.800 mm (0.1102 in.) shim is installed and the measured clearance is 0.350 mm (0.0138 in.). Replace the 2.800 mm (0.1102 in.) shim with a No. 11 shim.

        Shim No. Thickness Shim No. Thickness
        01 2.50 mm (0.0984 in.) 46 2.95 mm (0.1161 in.)
        42 2.55 mm (0.1004 in.) 26 3.00 mm (0.1181 in.)
        06 2.60 mm (0.1024 in.) 47 3.05 mm (0.1201 in.)
        43 2.65 mm (0.1043 in.) 31 3.10 mm (0.1220 in.)
        11 2.70 mm (0.1063 in.) 48 3.15 mm (0.1240 in.)
        44 2.75 mm (0.1083 in.) 36 3.20 mm (0.1260 in.)
        16 2.80 mm (0.1102 in.) 49 3.25 mm (0.1280 in.)
        45 2.85 mm (0.1122 in.) 41 3.30 mm (0.1299 in.)
        21 2.90 mm (0.1142 in.) - -
    3. Install a new adjusting shim.


      1. Place a new adjusting shim on the valve lifter.

      2. A01BG9HE01

        Remove the SST.

    4. Recheck the valve clearance.

  44. INSTALL CYLINDER HEAD COVER SUB-ASSEMBLY


    1. Remove any old packing (FIPG) material.

    2. A01BHSPE01

      Apply seal packing to the cylinder head as shown in the illustration.

      Seal packing
      Toyota Genuine Seal Packing Black, Three Bond 1207B or equivalent
    3. Install the gasket to the cylinder head cover.

    4. Install the cylinder head cover with the 9 bolts and nut. Uniformly tighten the bolts and nuts in several steps.

      Torque:
      12 N*m  { 120 kgf*cm, 9 ft.*lbf }
  45. INSTALL OIL FILLER CAP SUB-ASSEMBLY