СИСТЕМА SFI, Diagnostic DTC:P0500

DTC Code DTC Name
P0500 Vehicle Speed Sensor "A"

DESCRIPTION

Vehicles, which are equipped with ABS (Anti-lock Brake System), detect the vehicle speed using the skid control ECU (brake actuator assembly) and speed sensor. The speed sensor monitors the wheel rotation speed and sends a signal to the skid control ECU. The skid control ECU converts the wheel speed signal into a 4-pulse signal and transmits it to the ECM via the combination meter assembly. The ECM determines the vehicle speed based on the frequency of the pulse signal.

A01BFVTE04
DTC No. DTC Detection Condition Trouble Area
P0500
  • ECM detects following conditions simultaneously 500 times (2 trip detection logic)


    • No SPD (speed sensor) signal while ECM detects SP2 (speed sensor SP2) signal

    • Vehicle speed 9 km/h (6 mph) or more for 4 seconds

    • Park/Neutral position switch OFF (shift lever in any positions other than P and N positions)


  • Open or short in speed signal circuit

  • Combination meter assembly

  • ECM

  • Skid control ECU

MONITOR DESCRIPTION


MONITOR STRATEGY

Required Sensors/Components (Main) Vehicle speed sensor, Combination meter assembly
Required Sensors/Components (Related) Engine coolant temperature sensor, Mass air flow meter, Crankshaft position sensor and Throttle position sensor
Frequency of Operation Continuous

CONFIRMATION DRIVING PATTERN

A01BF9UE01

  1. Connect the intelligent tester to the DLC3.

  2. Turn the ignition switch to ON and turn the intelligent tester on.

  3. Clear the DTCs (even if no DTCs are stored, perform the clear DTC operation).

  4. Turn the ignition switch off and wait for at least 30 seconds.

  5. Turn the ignition switch to ON and turn the intelligent tester on [A].

  6. Start the engine.

  7. On the intelligent tester, enter the following menus to check the fuel-cut status: Powertrain / Engine and ECT / Data List / Idle Fuel Cut.

  8. Drive the vehicle at 24 km/h (15 mph) or more for a total of 30 seconds or more [B].

  9. Decelerate the vehicle by releasing the accelerator pedal for 5 seconds or more to perform the fuel-cut [C].

  10. Stop the vehicle.

  11. Enter the following menus: Powertrain / Engine and ECT / DTC [D].

  12. Read the pending DTCs.

    Tech Tips


    • If a pending DTC is output, the system is malfunctioning.

    • If a pending DTC is not output, perform the following procedure.

  13. Enter the following menus: Powertrain / Engine and ECT / Utility / All Readiness.

  14. Input the DTC: P0500.

  15. Check the DTC judgment result.

    Intelligent Tester Display Description
    NORMAL
    • DTC judgment completed

    • System normal

    ABNORMAL
    • DTC judgment completed

    • System abnormal

    INCOMPLETE
    • DTC judgment not completed

    • Perform driving pattern after confirming DTC enabling conditions

    N/A
    • Unable to perform DTC judgment

    • Number of DTCs which do not fulfill DTC preconditions has reached ECU memory limit

    Tech Tips


    • If the judgment result shows NORMAL, the system is normal.

    • If the judgment result shows ABNORMAL, the system has a malfunction.

WIRING DIAGRAM

A01BGLLE32

INSPECTION PROCEDURE

Tech Tips

Read freeze frame data using the intelligent tester. Freeze frame data records the engine condition when malfunctions are detected. When troubleshooting, freeze frame data can help determine if the vehicle was moving or stationary, if the engine was warmed up or not, if the air-fuel ratio was lean or rich, and other data from the time the malfunction occurred.

PROCEDURE


  1. READ VALUE USING INTELLIGENT TESTER (VEHICLE SPEED)


    1. Connect the intelligent tester to the DLC3.

    2. Turn the ignition switch to ON.

    3. Turn the intelligent tester on.

    4. Enter the following menus: Powertrain / Engine and ECT / Data List / Vehicle Speed.

    5. Drive the vehicle.

    6. Read the value displayed on the intelligent tester.

      OK
      Vehicle speeds displayed on intelligent tester and speedometer display are equal.

    NG
    OK
  2. CHECK HARNESS AND CONNECTOR (ECM - COMBINATION METER)


    1. Disconnect the ECM connector.

    2. Disconnect the combination meter connector.

    3. Measure the resistance according to the value(s) in the table below.

      Standard Resistance
      Tester Connection Condition Specified Condition
      H20-6 (+S) - B71-38 (SPD) Always Below 1 Ω

    NG
    OK
  3. CHECK COMBINATION METER ASSEMBLY (+S VOLTAGE)


    1. A01BF8CE94
      *a

      Front view of wire harness connector

      (to Combination Meter Assembly)

      Disconnect the combination meter connector.

      Tech Tips

      Disconnect the ECU connectors on the other systems related to the speed signal (but the ECM connectors must be connected).

    2. Turn the ignition switch to ON.

    3. Measure the voltage according to the value(s) in the table below.

      Standard Voltage
      Tester Connection Condition Specified Condition
      H20-6 (+S) - Body ground Ignition switch on 4.5 to 5.5 V

    NG
    OK
  4. CHECK COMBINATION METER ASSEMBLY (SPD SIGNAL OUTPUT WAVEFORM)


    1. A01BCOBE15
      *a

      Component with harness connected

      (Combination Meter Assembly)

      Remove the combination meter assembly.

    2. Connect the combination meter connector.

    3. Move the shift lever to the N position.

    4. Jack up one of the rear wheels.

    5. Turn the ignition switch to ON.

    6. Check the voltage between the terminal of the combination meter and the body ground while the rear wheel is turned slowly.

      Standard Voltage
      Tester Connection Condition Specified Condition
      H20-6 (+S) - Body ground

      Ignition switch on

      Turn wheel slowly

      Voltage generated intermittently

      Tech Tips


      • The output voltage should fluctuate up and down, similarly to the diagram, when the wheel is turned slowly.

      • A voltage of 12 V or 5 V is output from each ECU and then input to the combination meter assembly.


    NG
    OK
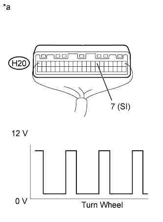
  5. CHECK COMBINATION METER ASSEMBLY


    1. A01BCOBE17
      *a

      Component with harness connected

      (Combination Meter Assembly)

      Remove the combination meter assembly.

    2. Connect the combination meter connector.

    3. Move the shift lever to the N position.

    4. Jack up one of the rear wheels.

    5. Turn the ignition switch to ON.

    6. Check the voltage between the terminal of the combination meter and the body ground while the rear wheel is turned slowly.

      Standard voltage
      Tester Connection Condition Specified Condition
      H20-7 (SI) - Body ground

      Ignition switch on

      Turn wheel slowly

      Voltage generated intermittently

      Tech Tips

      The output voltage should fluctuate up and down, similarly to the diagram, when the wheel is turned slowly.


    NG
    OK
  6. CHECK HARNESS AND CONNECTOR (COMBINATION METER - BRAKE ACTUATOR)


    1. Disconnect the combination meter connector.

    2. Disconnect the brake actuator connector.

    3. Measure the resistance according to the value(s) in the table below.

      Standard Resistance
      Tester Connection Condition Specified Condition
      H20-7 (SI) - B19-26 (SP1) Always Below 1 Ω

    NG
    OK