ECM СНЯТИЕ


  1. ПРОВЕРЬТЕ КОМПЕНСАЦИОННЫЙ КОД ФОРСУНКИ

    Note

    В случае замены ECM необходимо ввести введены компенсационные коды всех имеющихся форсунок в новый ECM, а также выполнить инициализацию значения параметра настройки нагнетающего топливного насоса.


    1. Убедитесь, что компенсационные коды форсунок, установленных на цилиндрах, соответствуют зарегистрированным в ECM.


      • для моделей с DPF: (см. стр. Click here)

      • для моделей без DPF: (см. стр. Click here)

      Если они не совпадают, исправьте зарегистрированные данные.


      • для моделей с DPF: (см. стр. Click here)

      • для моделей без DPF: (см. стр. Click here)

  2. ОТСОЕДИНИТЕ ПРОВОД ОТ ОТРИЦАТЕЛЬНОГО ВЫВОДА АККУМУЛЯТОРНОЙ БАТАРЕИ

  3. СНИМИТЕ ОПОРНУЮ НАКЛАДКУ ПРАВОЙ ПЕРЕДНЕЙ ДВЕРИ

    Tech Tips

    Выполните действия в том же порядке, что и для левой стороны.

  4. СНИМИТЕ ПРАВОЕ ПЕРЕДНЕЕ СИДЕНЬЕ В СБОРЕ


    • для моделей с сиденьем с высокой спинкой (см. стр. Click here)

    • для моделей с сиденьем с низкой спинкой (см. стр. Click here)

    • для моделей с многоместным сиденьем раздельного типа (см. стр. Click here)

  5. СНИМИТЕ ECM


    1. Отогните напольный коврик.

    2. Отсоедините 6 разъемов ECM.

    3. A01BEWC

      Освободите 2 фиксатора и снимите ECM вместе с опорой жгута проводов.

    4. A01BGUL

      Выверните 4 болта и снимите опору жгута проводов.

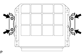
  6. СНИМИТЕ КРОНШТЕЙН ECM № 3


    1. A01BARW

      Выверните 4 винта и снимите 2 кронштейна ECM № 3.

  7. СНИМИТЕ КРОНШТЕЙН ECM № 2


    1. A01BEOO

      Выверните 2 винта и снимите кронштейн ECM № 2.

  8. СНИМИТЕ КРОНШТЕЙН ECM № 1


    1. A01BEAT

      Выверните 2 винта и снимите кронштейн ECM № 1.