WHEEL ALIGNMENT ADJUSTMENT


  1. INSPECT TIRES

    Click here

  2. MEASURE VEHICLE HEIGHT


    1. A01BI2OE01

      Bounce the vehicle up and down at the corners to stabilize the suspension and inspect the vehicle height.

      Measuring points
      A
      Ground clearance of front No. 1 suspension adjust cam bolt head.
      B
      Ground clearance of front center position of rear leaf spring front installation bolt head.

      Note


      • Before inspecting the wheel alignment, adjust the vehicle height to the specified value.

      • The standard value shown here is a value that is used for adjusting the wheel alignment and does not indicate the height of an actual vehicle.

      Vehicle height
      Australia
      Model A mm (in.) B mm (in.)
      TRH201R-RBMDKQ 261 (10.28) 272 (10.71)
      TRH201R-RBPDKQ 260 (10.24) 272 (10.71)
      TRH221R-MBMDKQ 268 (10.55) 273 (10.75)
      TRH221R-MBPDKQ 267 (10.51) 273 (10.75)
      TRH223R-LEMDKQ 256 (10.08) 264 (10.39)
      TRH223R-LEPDKQ 256 (10.08) 264 (10.39)
      KDH201R-RBMDYQ 256 (10.08) 269 (10.59)
      KDH201R-RBPDYQ 255 (10.04) 269 (10.59)
      KDH221R-MBMDYQ 263 (10.35) 269 (10.59)
      KDH221R-MBPDYQ 263 (10.35) 268 (10.55)
      KDH223R-LEMDYQ 254 (10.00) 262 (10.31)
      KDH223R-LEPDYQ 254 (10.00) 262 (10.31)
      South Africa
      Model A mm (in.) B mm (in.)
      TRH201R-RBMDKN 265 (10.43) 273 (10.75)
      TRH221R-MBMDKN 272 (10.71) 274 (10.79)
      TRH221R-MSMDKN 268 (10.55) 270 (10.63)
      TRH223R-LEMDKN 262 (10.31) 268 (10.55)
      TRH213R-JDMNKN 257 (10.12) 263 (10.35)
      TRH223R-LEMNKN 258 (10.16) 264 (10.39)
      KDH200R-RBMDYN 262 (10.31) 270 (10.63)
      KDH220R-MBMDYN 268 (10.55) 272 (10.71)
      KDH220R-MSMDYN 264 (10.39) 268 (10.55)
      KDH222R-LEMDYN 262 (10.31) 269 (10.59)
      KDH212R-JDMNYN 256 (10.08) 262 (10.31)
      KDH222R-LEMNYN 257 (10.12) 263 (10.35)
      New Zealand
      Model A mm (in.) B mm (in.)
      TRH223R-LEMDKQ 259 (10.20) 266 (10.47)
      KDH223R-LEMDYQ 257 (10.12) 265 (10.43)
      TRH201R-SRMDK 261 (10.28) 269 (10.59)
      TRH201R-SRPDK 261 (10.28) 269 (10.59)
      KDH201R-SRMDY 256 (10.08) 267 (10.51)
      KDH201R-SRPDY 256 (10.08) 267 (10.51)
      KDH221R-MFMDY 267 (10.51) 269 (10.59)
      KDH221R-MFPDY 267 (10.51) 269 (10.59)
      KDH223R-LEPDYQ 257 (10.12) 265 (10.43)
      Thailand
      Model A mm (in.) B mm (in.)
      KDH201R-RBMDYT 261 (10.28) 272 (10.71)
      TRH213R-KDPNKT 245 (9.65) 271 (10.67)
      KDH213R-KDPNYT 242 (9.53) 269 (10.59)
      KDH203R-RDMNYT 254 (10.00) 268 (10.55)
      KDH223R-LEMDYT 263 (10.35) 273 (10.75)
      TRH223R-LEMDKT 265 (10.43) 275 (10.83)
      KDH223R-LEPDYT 262 (10.31) 272 (10.71)
      Singapore
      Model A mm (in.) B mm (in.)
      KDH221R-MBMDYQ 268 (10.55) 270 (10.63)
      KDH221R-MBPDYQ 267 (10.51) 269 (10.59)
      KDH223R-LEPDYQ 254 (10.00) 262 (10.31)
      KDH201R-RBPDY 260 (10.24) 270 (10.63)
      KDH201R-SBMDY 259 (10.20) 269 (10.59)
      KDH203R-REMDY 255 (10.04) 268 (10.55)
      China
      Model A mm (in.) B mm (in.)
      TRH213L-JDMNK 254 (10.00) 264 (10.39)
      TRH223L-LEPNK 257 (10.12) 265 (10.43)
      TRH223L-LDPNK 261 (10.28) 267 (10.51)
      The Philippines
      Model A mm (in.) B mm (in.)
      KDH202L-REMDY 262 (10.31) 270 (10.63)
      KDH212L-JDMNY 258 (10.16) 259 (10.20)
      KDH212L-JDPNY 258 (10.16) 259 (10.20)
      KDH212L-KDPNY 243 (9.57) 269 (10.59)
      G.C.C. Countries (*1)
      Model A mm (in.) B mm (in.)
      TRH201L-SBMDKV 265 (10.43) 272 (10.71)
      TRH201L-SRMDKV 262 (10.31) 270 (10.63)
      TRH221L-MBMDKV 273 (10.75) 275 (10.83)
      TRH203L-REMDKV 265 (10.43) 271 (10.67)
      TRH203L-REPDKV 265 (10.43) 271 (10.67)
      TRH213L-JEMDKV 265 (10.43) 266 (10.47)
      TRH213L-JEPDKV 264 (10.39) 265 (10.43)
      TRH223L-LEMDKV 265 (10.43) 275 (10.83)

      TRH223L-LEMDKV

      (Rough Road Area Spec)

      268 (10.55) 270 (10.63)
      TRH223L-LEPDKV 265 (10.43) 275 (10.83)

      TRH223L-LEPDKV

      (Rough Road Area Spec)

      267 (10.51) 269 (10.59)
      TRH223L-LEMNKV 264 (10.39) 273 (10.75)
      TRH223L-LEPNKV 264 (10.39) 273 (10.75)
      KDH200L-SBMDYV 260 (10.24) 269 (10.59)
      KDH202L-REMDYV 262 (10.31) 270 (10.63)
      KDH212L-JEMDYV 262 (10.31) 265 (10.43)
      KDH222L-LEMDYV 263 (10.35) 274 (10.79)

      KDH222L-LEMDYV

      (Rough Road Area Spec)

      266 (10.47) 269 (10.59)
      KDH222L-LEMNYV 262 (10.31) 273 (10.75)
      (*1)
      Saudi Arabia, Sultanate of Oman, Bahrain, United Arab Emirates, Qatar and Kuwait
      Russia
      Model A mm (in.) B mm (in.)
      TRH223L-LEMNKX 256 (10.08) 264 (10.39)
      KDH223L-LEMNYX 255 (10.04) 262 (10.31)
      Hong Kong
      Model A mm (in.) B mm (in.)
      TRH200R-SSPDK 261 (10.28) 269 (10.59)
      KDH201R-SSMDY 256 (10.08) 267 (10.51)
      KDH201R-SSPDY 256 (10.08) 267 (10.51)
      KDH201R-SSPNY 254 (10.00) 266 (10.47)
      Mexico
      Model A mm (in.) B mm (in.)
      TRH221L-MBMDK 273 (10.75) 274 (10.79)
      TRH221L-LFMDK 273 (10.75) 275 (10.83)
      TRH223L-LEMNK 262 (10.31) 266 (10.47)
      Peru
      Model A mm (in.) B mm (in.)
      KDH200L-SBMDY 260 (10.24) 269 (10.59)
      LH200L-RBMDE 262 (10.31) 271 (10.67)
      KDH202L-RDMDY 262 (10.31) 271 (10.67)
      KDH212L-JDMNY 265 (10.43) 272 (10.71)
      KDH222L-LEMDY 265 (10.43) 269 (10.59)
      LH202L-REMDE 263 (10.35) 270 (10.63)
      LH222L-LEMDE 266 (10.47) 269 (10.59)
      Chile
      Model A mm (in.) B mm (in.)
      KDH201L-SBMDY 259 (10.20) 268 (10.55)
      KDH203L-RDMDY 261 (10.28) 270 (10.63)
      Ecuador
      Model A mm (in.) B mm (in.)
      LH200L-RBMDE 262 (10.31) 269 (10.59)
      LH202L-REMDE 263 (10.35) 270 (10.63)
      LH212L-JEMDE 264 (10.39) 265 (10.43)
      LH222L-LEMDE 266 (10.47) 269 (10.59)
      Tunisia
      Model A mm (in.) B mm (in.)
      KDH202L-RDMDY 255 (10.04) 271 (10.67)
      Malaysia
      Model A mm (in.) B mm (in.)
      KDH200R-RBMDYE 262 (10.31) 269 (10.59)
      TRH203R-EDMDKE 264 (10.39) 265 (10.43)
      KDH202R-EDMDYE 262 (10.31) 264 (10.39)
      Vietnam
      Model A mm (in.) B mm (in.)
      TRH223L-LEMDK 268 (10.55) 270 (10.63)
      KDH222L-LEMDY 265 (10.43) 269 (10.59)
      Morocco
      Model A mm (in.) B mm (in.)
      KDH201L-RBMDY 260 (10.24) 270 (10.63)
      KDH223L-LEMDY 257 (10.12) 263 (10.35)
      Others
      Model A mm (in.) B mm (in.)
      TRH201L-SBMDK 265 (10.43) 272 (10.71)
      TRH221L-MBMDK 273 (10.75) 274 (10.79)
      KDH200R-RBMDY 260 (10.24) 270 (10.63)
      KDH200R-SBMDY 260 (10.24) 270 (10.63)
      KDH200L-RBMDY 261 (10.28) 271 (10.67)
      KDH200L-SBMDY 260 (10.24) 269 (10.59)
      KDH220L-MBMDY 268 (10.55) 271 (10.67)
      LH200R-RBMDE 262 (10.31) 271 (10.67)
      LH200R-SBMDE 261 (10.28) 270 (10.63)
      LH200L-RBMDE 262 (10.31) 271 (10.67)
      TRH203R-REMDK 266 (10.47) 272 (10.71)
      TRH203L-REMDK 265 (10.43) 271 (10.67)
      TRH213R-JEMDK 264 (10.39) 266 (10.47)
      TRH213L-JEMDK 264 (10.39) 266 (10.47)
      TRH223L-LEMDK 265 (10.43) 275 (10.83)

      TRH223L-LEMDK

      (Rough Road Area Spec)

      267 (10.51) 269 (10.59)
      TRH223R-LEMDK 265 (10.43) 275 (10.83)

      TRH223R-LEMDK

      (Rough Road Area Spec)

      267 (10.51) 269 (10.59)
      TRH223L-LEMNK 264 (10.39) 273 (10.75)

      TRH223L-LEMNK

      (Rough Road Area Spec)

      266 (10.47) 266 (10.47)
      KDH202R-REMDY 262 (10.31) 269 (10.59)
      KDH202L-REMDY 262 (10.31) 269 (10.59)
      KDH202L-RDMDY 261 (10.28) 271 (10.67)
      KDH212R-JEMDY 262 (10.31) 265 (10.43)
      KDH212L-JEMDY 262 (10.31) 265 (10.43)
      KDH222R-LEMDY 263 (10.35) 275 (10.83)

      KDH222R-LEMDY

      (Rough Road Area Spec)

      265 (10.43) 269 (10.59)
      KDH222R-LEPNY 262 (10.31) 272 (10.71)

      KDH222R-LEPNY

      (Rough Road Area Spec)

      264 (10.39) 266 (10.47)
      KDH222L-LEMDY 263 (10.35) 275 (10.83)

      KDH222L-LEMDY

      (Rough Road Area Spec)

      265 (10.43) 269 (10.59)
      KDH222L-LEPNY 262 (10.31) 272 (10.71)

      KDH222L-LEPNY

      (Rough Road Area Spec)

      264 (10.39) 266 (10.47)
      LH202R-REMDE 262 (10.31) 270 (10.63)
      LH202L-REMDE 262 (10.31) 270 (10.63)
      LH202L-RDMDE 263 (10.35) 272 (10.71)
      LH212R-JEMDE 264 (10.39) 265 (10.43)
      LH212L-JEMDE 264 (10.39) 265 (10.43)
      LH222R-LEMDE 264 (10.39) 275 (10.83)

      LH222R-LEMDE

      (Rough Road Area Spec)

      266 (10.47) 269 (10.59)
      LH222L-LEMDE 264 (10.39) 275 (10.83)

      LH222L-LEMDE

      (Rough Road Area Spec)

      266 (10.47) 269 (10.59)
  3. INSPECT TOE-IN


    1. A01BD1HE07

      Bounce the vehicle up and down at the corners to stabilize the suspension and inspect the vehicle height.

    2. Inspect the toe-in.

      Toe-in
      A-B

      Toe-in

      (total)

      2.0 +/-2.0 mm (0.08 +/-0.08 in.)

      Tech Tips

      If the toe-in is not within the specified range, adjust it at the rack ends.

  4. ADJUST TOE-IN


    1. Measure the thread lengths of the right and left rack ends.

      Standard
      Difference in thread length of 3.0 mm (0.12 in.) or less
    2. Remove the rack boot set clips.

    3. Loosen the tie rod end lock nuts.

    4. Adjust the rack ends if the difference in thread length between the right and left rack ends is not within the specified range.


      1. Extend the longer rack end if the measured toe-in deviates toward the outer-side.

      2. Shorten the shorter rack end if the measured toe-in deviates toward the inner-side.

    5. Turn the right and left rack ends by an equal amount to adjust the toe-in.

      Tech Tips

      Try to adjust the toe-in to the center of the specified range.

    6. A01BFPKE02

      Make sure that the lengths of the right and left rack ends are the same.

      Standard
      2.0 +/-1.0 mm (0.08 +/-0.04 in.)
    7. Tighten the tie rod end lock nuts.

      Torque:
      74 N*m  { 755 kgf*cm, 55 ft.*lbf }

      Note

      Temporarily tighten the lock nut while holding the hexagonal part of the steering rack end so that the lock nut and the steering rack end do not turn together.

      Hold the width across flat of the tie rod end and tighten the lock nut.

    8. Place the boots on the seats and install the clips.

      Tech Tips

      Make sure that the boots are not twisted.

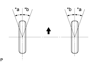
  5. INSPECT WHEEL ANGLE


    1. A01BC5UE15
      Text in Illustration
      *a Inside
      *b Outside
      A01BAZL Front

      Turn the steering wheel fully left and right and measure the turning angle.

      Note


      • Perform the inspection while the vehicle is empty.

      • The maximum tolerance of right and left difference for the camber and caster is 30' (0.5°) or less.

      Wheel turning angle
      Inside Wheel

      38°00' +1°30', -2°30'

      (38.00° +1.5°, -2.5°)

      Outside Wheel:

      Reference

      33°00' +1°30', -2°30'

      (33.00° +1.5°, -2.5°)

      If the right and left inside wheel angles differ from the specified range, check the right and left rack end lengths.

  6. INSPECT CAMBER, CASTER AND STEERING AXIS INCLINATION


    1. A01BG2LE30
      Text in Illustration
      *a Alignment Tester
      *b Gauge

      Put the front wheel on the center of the alignment tester.

    2. Remove the center ornament.

    3. Install the camber-caster-steering axis inclination gauge at the center of the axle hub or drive shaft.

    4. Inspect the camber, caster and steering axis inclination.

      Note


      • Perform the inspection while the vehicle is empty.

      • The maximum tolerance of right and left difference for the camber and caster is 30' (0.5°) or less.

      Camber inclination

      Except

      TRH213R-KDPNKT

      KDH213R-KDPNYT

      KDH212L-KDPNY

      -0°20' +/-45'

      (-0.3° +/-0.75°)

      TRH213R-KDPNKT

      KDH213R-KDPNYT

      KDH212L-KDPNY

      -0°25' +/-45'

      (-0.4° +/-0.75°)

      Caster inclination
      Australia
      Model Caster
      TRH201R-RBMDKQ

      2°25' +/-45'

      (2.4° +/-0.75°)

      TRH201R-RBPDKQ

      2°25' +/-45'

      (2.4° +/-0.75°)

      TRH221R-MBMDKQ

      2°20' +/-45'

      (2.3° +/-0.75°)

      TRH221R-MBPDKQ

      2°20' +/-45'

      (2.3° +/-0.75°)

      TRH223R-LEMDKQ

      2°35' +/-45'

      (2.6° +/-0.75°)

      TRH223R-LEPDKQ

      2°35' +/-45'

      (2.6° +/-0.75°)

      KDH201R-RBMDYQ

      2°25' +/-45'

      (2.4° +/-0.75°)

      KDH201R-RBPDYQ

      2°25' +/-45'

      (2.4° +/-0.75°)

      KDH221R-MBMDYQ

      2°25' +/-45'

      (2.4° +/-0.75°)

      KDH221R-MBPDYQ

      2°25' +/-45'

      (2.4° +/-0.75°)

      KDH223R-LEMDYQ

      2°35' +/-45'

      (2.6° +/-0.75°)

      KDH223R-LEPDYQ

      2°35' +/-45'

      (2.6° +/-0.75°)

      South Africa
      Model Caster
      TRH201R-RBMDKN

      2°25' +/-45'

      (2.4° +/-0.75°)

      TRH221R-MBMDKN

      2°20' +/-45'

      (2.3° +/-0.75°)

      TRH221R-MSMDKN

      2°25' +/-45'

      (2.4° +/-0.75°)

      TRH223R-LEMDKN

      2°30' +/-45'

      (2.5° +/-0.75°)

      TRH213R-JDMNKN

      2°35' +/-45'

      (2.6° +/-0.75°)

      TRH223R-LEMNKN

      2°35' +/-45'

      (2.6° +/-0.75°)

      KDH200R-RBMDYN

      2°25' +/-45'

      (2.4° +/-0.75°)

      KDH220R-MBMDYN

      2°20' +/-45'

      (2.3° +/-0.75°)

      KDH220R-MSMDYN

      2°25' +/-45'

      (2.4° +/-0.75°)

      KDH222R-LEMDYN

      2°25' +/-45'

      (2.4° +/-0.75°)

      KDH212R-JDMNYN

      2°35' +/-45'

      (2.6° +/-0.75°)

      KDH222R-LEMNYN

      2°35' +/-45'

      (2.6° +/-0.75°)

      New Zealand
      Model Caster
      TRH223R-LEMDKQ

      2°30' +/-45'

      (2.5° +/-0.75°)

      KDH223R-LEMDYQ

      2°30' +/-45'

      (2.5° +/-0.75°)

      TRH201R-SRMDK

      2°30' +/-45'

      (2.5° +/-0.75°)

      TRH201R-SRPDK

      2°30' +/-45'

      (2.5° +/-0.75°)

      KDH201R-SRMDY

      2°30' +/-45'

      (2.5° +/-0.75°)

      KDH201R-SRPDY

      2°30' +/-45'

      (2.5° +/-0.75°)

      KDH221R-MFMDY

      2°25' +/-45'

      (2.4° +/-0.75°)

      KDH221R-MFPDY

      2°25' +/-45'

      (2.4° +/-0.75°)

      KDH223R-LEPDYQ

      2°30' +/-45'

      (2.5° +/-0.75°)

      Thailand
      Model Caster
      KDH201R-RBMDYT

      2°25' +/-45'

      (2.4° +/-0.75°)

      TRH213R-KDPNKT

      2°25' +/-45'

      (2.4° +/-0.75°)

      KDH213R-KDPNYT

      2°25' +/-45'

      (2.4° +/-0.75°)

      KDH203R-RDMNYT

      2°25' +/-45'

      (2.4° +/-0.75°)

      KDH223R-LEMDYT

      2°20' +/-45'

      (2.3° +/-0.75°)

      TRH223R-LEMDKT

      2°20' +/-45'

      (2.3° +/-0.75°)

      KDH223R-LEPDYT

      2°20' +/-45'

      (2.3° +/-0.75°)

      Singapore
      Model Caster
      KDH221R-MBMDYQ

      2°25' +/-45'

      (2.4° +/-0.75°)

      KDH221R-MBPDYQ

      2°25' +/-45'

      (2.4° +/-0.75°)

      KDH223R-LEPDYQ

      2°35' +/-45'

      (2.6° +/-0.75°)

      KDH201R-RBPDY

      2°25' +/-45'

      (2.4° +/-0.75°)

      KDH201R-SBMDY

      2°25' +/-45'

      (2.4° +/-0.75°)

      KDH203R-REMDY

      2°30' +/-45'

      (2.5° +/-0.75°)

      China
      Model Caster
      TRH213L-JDMNK

      2°35' +/-45'

      (2.6° +/-0.75°)

      TRH223L-LEPNK

      2°35' +/-45'

      (2.6° +/-0.75°)

      TRH223L-LDPNK

      2°30' +/-45'

      (2.5° +/-0.75°)

      The Philippines
      Model Caster
      KDH202L-REMDY

      2°25' +/-45'

      (2.4° +/-0.75°)

      KDH212L-JDMNY

      2°40' +/-45'

      (2.7° +/-0.75°)

      KDH212L-JDPNY

      2°40' +/-45'

      (2.7° +/-0.75°)

      KDH212L-KDPNY

      2°25' +/-45'

      (2.4° +/-0.75°)

      G.C.C. Countries (*1)
      Model Caster
      TRH201L-SBMDKV

      2°25' +/-45'

      (2.4° +/-0.75°)

      TRH201L-SRMDKV

      2°25' +/-45'

      (2.4° +/-0.75°)

      TRH221L-MBMDKV

      2°20' +/-45'

      (2.3° +/-0.75°)

      TRH203L-REMDKV

      2°25' +/-45'

      (2.4° +/-0.75°)

      TRH203L-REPDKV

      2°25' +/-45'

      (2.4° +/-0.75°)

      TRH213L-JEMDKV

      2°35' +/-45'

      (2.6° +/-0.75°)

      TRH213L-JEPDKV

      2°35' +/-45'

      (2.6° +/-0.75°)

      TRH223L-LEMDKV

      2°20' +/-45'

      (2.3° +/-0.75°)

      TRH223L-LEMDKV

      (Rough Road Area Spec)

      2°25' +/-45'

      (2.4° +/-0.75°)

      TRH223L-LEPDKV

      2°20' +/-45'

      (2.3° +/-0.75°)

      TRH223L-LEPDKV

      (Rough Road Area Spec)

      2°25' +/-45'

      (2.4° +/-0.75°)

      TRH223L-LEMNKV

      2°20' +/-45'

      (2.3° +/-0.75°)

      TRH223L-LEPNKV

      2°20' +/-45'

      (2.3° +/-0.75°)

      KDH200L-SBMDYV

      2°25' +/-45'

      (2.4° +/-0.75°)

      KDH202L-REMDYV

      2°25' +/-45'

      (2.4° +/-0.75°)

      KDH212L-JEMDYV

      2°30' +/-45'

      (2.5° +/-0.75°)

      KDH222L-LEMDYV

      2°20' +/-45'

      (2.3° +/-0.75°)

      KDH222L-LEMDYV

      (Rough Road Area Spec)

      2°25' +/-45'

      (2.4° +/-0.75°)

      KDH222L-LEMNYV

      2°20' +/-45'

      (2.3° +/-0.75°)

      (*1)
      Saudi Arabia, Sultanate of Oman, Bahrain, United Arab Emirates, Qatar and Kuwait
      Russia
      Model Caster
      TRH223L-LEMNKX

      2°35' +/-45'

      (2.6° +/-0.75°)

      KDH223L-LEMNYX

      2°35' +/-45'

      (2.6° +/-0.75°)

      Hong Kong
      Model Caster
      TRH200R-SSPDK

      2°30' +/-45'

      (2.5° +/-0.75°)

      KDH201R-SSMDY

      2°30' +/-45'

      (2.5° +/-0.75°)

      KDH201R-SSPDY

      2°30' +/-45'

      (2.5° +/-0.75°)

      KDH201R-SSPNY

      2°30' +/-45'

      (2.5° +/-0.75°)

      Mexico
      Model Caster
      TRH221L-MBMDK

      2°20' +/-45'

      (2.3° +/-0.75°)

      TRH221L-LFMDK

      2°20' +/-45'

      (2.3° +/-0.75°)

      TRH223L-LEMNK

      2°30' +/-45'

      (2.5° +/-0.75°)

      Peru
      Model Caster
      KDH200L-SBMDY

      2°25' +/-45'

      (2.4° +/-0.75°)

      LH200L-RBMDE

      2°25' +/-45'

      (2.4° +/-0.75°)

      KDH202L-RDMDY

      2°25' +/-45'

      (2.4° +/-0.75°)

      KDH212L-JDMNY

      2°25' +/-45'

      (2.4° +/-0.75°)

      KDH222L-LEMDY

      2°25' +/-45'

      (2.4° +/-0.75°)

      LH202L-REMDE

      2°25' +/-45'

      (2.4° +/-0.75°)

      LH222L-LEMDE

      2°25' +/-45'

      (2.4° +/-0.75°)

      Chile
      Model Caster
      KDH201L-SBMDY

      2°30' +/-45'

      (2.5° +/-0.75°)

      KDH203L-RDMDY

      2°25' +/-45'

      (2.4° +/-0.75°)

      Ecuador
      Model Caster
      LH200L-RBMDE

      2°30' +/-45'

      (2.5° +/-0.75°)

      LH202L-REMDE

      2°25' +/-45'

      (2.4° +/-0.75°)

      LH212L-JEMDE

      2°35' +/-45'

      (2.6° +/-0.75°)

      LH222L-LEMDE

      2°25' +/-45'

      (2.4° +/-0.75°)

      Tunisia
      Model Caster
      KDH202L-RDMDY

      2°25' +/-45'

      (2.4° +/-0.75°)

      Malaysia
      Model Caster
      KDH200R-RBMDYE

      2°30' +/-45'

      (2.5° +/-0.75°)

      TRH203R-EDMDKE

      2°35' +/-45'

      (2.6° +/-0.75°)

      KDH202R-EDMDYE

      2°35' +/-45'

      (2.6° +/-0.75°)

      Vietnam
      Model Caster
      TRH223L-LEMDK

      2°25' +/-45'

      (2.4° +/-0.75°)

      KDH222L-LEMDY

      2°25' +/-45'

      (2.4° +/-0.75°)

      Morocco
      Model Caster
      KDH201L-RBMDY

      2°25' +/-45'

      (2.4° +/-0.75°)

      KDH223L-LEMDY

      2°35' +/-45'

      (2.6° +/-0.75°)

      Others
      Model Caster
      TRH201L-SBMDK

      2°25' +/-45'

      (2.4° +/-0.75°)

      TRH221L-MBMDK

      2°20' +/-45'

      (2.3° +/-0.75°)

      KDH200R-RBMDY

      2°25' +/-45'

      (2.4° +/-0.75°)

      KDH200R-SBMDY

      2°25' +/-45'

      (2.4° +/-0.75°)

      KDH200L-RBMDY

      2°25' +/-45'

      (2.4° +/-0.75°)

      KDH200L-SBMDY

      2°25' +/-45'

      (2.4° +/-0.75°)

      KDH220L-MBMDY

      2°25' +/-45'

      (2.4° +/-0.75°)

      LH200R-RBMDE

      2°25' +/-45'

      (2.4° +/-0.75°)

      LH200R-SBMDE

      2°25' +/-45'

      (2.4° +/-0.75°)

      LH200L-RBMDE

      2°25' +/-45'

      (2.4° +/-0.75°)

      TRH203R-REMDK

      2°25' +/-45'

      (2.4° +/-0.75°)

      TRH203L-REMDK

      2°25' +/-45'

      (2.4° +/-0.75°)

      TRH213R-JEMDK

      2°30' +/-45'

      (2.5° +/-0.75°)

      TRH213L-JEMDK

      2°30' +/-45'

      (2.5° +/-0.75°)

      TRH223R-LEMDK

      2°20' +/-45'

      (2.3° +/-0.75°)

      TRH223R-LEMDK

      (Rough Road Area Spec)

      2°25' +/-45'

      (2.4° +/-0.75°)

      TRH223L-LEMDK

      2°20' +/-45'

      (2.3° +/-0.75°)

      TRH223L-LEMDK

      (Rough Road Area Spec)

      2°25' +/-45'

      (2.4° +/-0.75°)

      TRH223L-LEMNK

      2°20' +/-45'

      (2.3° +/-0.75°)

      TRH223L-LEMNK

      (Rough Road Area Spec)

      2°30' +/-45'

      (2.5° +/-0.75°)

      KDH202R-REMDY

      2°25' +/-45'

      (2.4° +/-0.75°)

      KDH202L-REMDY

      2°25' +/-45'

      (2.4° +/-0.75°)

      KDH202L-RDMDY

      2°25' +/-45'

      (2.4° +/-0.75°)

      KDH212R-JEMDY

      2°30' +/-45'

      (2.5° +/-0.75°)

      KDH212L-JEMDY

      2°30' +/-45'

      (2.5° +/-0.75°)

      KDH222R-LEMDY

      2°20' +/-45'

      (2.3° +/-0.75°)

      KDH222R-LEMDY

      (Rough Road Area Spec)

      2°25' +/-45'

      (2.4° +/-0.75°)

      KDH222R-LEPNY

      2°20' +/-45'

      (2.3° +/-0.75°)

      KDH222R-LEPNY

      (Rough Road Area Spec)

      2°30' +/-45'

      (2.5° +/-0.75°)

      KDH222L-LEMDY

      2°20' +/-45'

      (2.3° +/-0.75°)

      KDH222L-LEMDY

      (Rough Road Area Spec)

      2°25' +/-45'

      (2.4° +/-0.75°)

      KDH222L-LEPNY

      2°20' +/-45'

      (2.3° +/-0.75°)

      KDH222L-LEPNY

      (Rough Road Area Spec)

      2°30' +/-45'

      (2.5° +/-0.75°)

      LH202R-REMDE

      2°25' +/-45'

      (2.4° +/-0.75°)

      LH202L-REMDE

      2°25' +/-45'

      (2.4° +/-0.75°)

      LH202L-RDMDE

      2°25' +/-45'

      (2.4° +/-0.75°)

      LH212R-JEMDE

      2°35' +/-45'

      (2.6° +/-0.75°)

      LH212L-JEMDE

      2°35' +/-45'

      (2.6° +/-0.75°)

      LH222R-LEMDE

      2°20' +/-45'

      (2.3° +/-0.75°)

      LH222R-LEMDE

      (Rough Road Area Spec)

      2°25' +/-45'

      (2.4° +/-0.75°)

      LH222L-LEMDE

      2°20' +/-45'

      (2.3° +/-0.75°)

      LH222L-LEMDE

      (Rough Road Area Spec)

      2°25' +/-45'

      (2.4° +/-0.75°)

      Steering axis inclination

      Except

      KDH213R-KDPNYT

      KDH212L-KDPNY

      12°35' +/-45'

      (12.6° +/-0.75°)

      KDH213R-KDPNYT

      KDH212L-KDPNY

      12°40' +/-45'

      (12.7° +/-0.75°)

    5. Remove the camber-caster-steering axis inclination gauge.

    6. Install the center ornament.

      If the caster and steering axis inclination are not within the specified values after the camber has been correctly adjusted, recheck the suspension parts for damage and/or wear.

  7. ADJUST CAMBER


    1. A01BEII

      Loosen the nut on the front No. 2 suspension camber adjust cam.

    2. Turn the front No. 1 suspension camber adjust cam to adjust the camber.

      Camber inclination

      Except

      TRH213R-KDPNKT

      KDH213R-KDPNYT

      KDH212L-KDPNY

      -0°20' +/-30'

      (-0.3° +/-0.5°)

      TRH213R-KDPNKT

      KDH213R-KDPNYT

      KDH212L-KDPNY

      -0°25' +/-30'

      (-0.4° +/-0.5°)

      Note


      • Perform the inspection while the vehicle is empty.

      • The maximum tolerance of right and left difference for the camber and caster is 30' (0.5°) or less.

      • Be sure to inspect toe-in after the camber has been adjusted.

      Tech Tips

      If the camber adjust cam is turned 1 notch to the left when viewing from the front of the vehicle (the bolt moves approximately 1 mm to the outside), the camber will change by approximately -0°14' (-0.23°).

    3. Tighten the camber adjust cam nut.

      Torque:
      170 N*m  { 1730 kgf*cm, 125 ft.*lbf }
  8. ADJUST CASTER


    1. A01BHY9E03
      Text in Illustration
      *a Front Side
      *b Rear Side

      Loosen the lock nut on the strut bar (rear side).

    2. Turn the adjust nut on the strut bar (front side) to adjust caster.

      Note


      • Perform the inspection while the vehicle is empty.

      • The maximum tolerance of right and left difference for the caster is 30' (0.5°) or less.

      • Be sure to inspect toe-in after the caster has been adjusted.

      Tech Tips

      If the adjust nut of the strut bar (front side) is moved approximately 1 mm (0.04 in.), the caster will change by approximately 0°08' (0.13°).

      Caster inclination
      Australia
      Model Caster
      TRH201R-RBMDKQ

      2°25' +/-30'

      (2.4° +/-0.50°)

      TRH201R-RBPDKQ

      2°25' +/-30'

      (2.4° +/-0.50°)

      TRH221R-MBMDKQ

      2°20' +/-30'

      (2.3° +/-0.50°)

      TRH221R-MBPDKQ

      2°20' +/-30'

      (2.3° +/-0.50°)

      TRH223R-LEMDKQ

      2°35' +/-30'

      (2.6° +/-0.50°)

      TRH223R-LEPDKQ

      2°35' +/-30'

      (2.6° +/-0.50°)

      KDH201R-RBMDYQ

      2°25' +/-30'

      (2.4° +/-0.50°)

      KDH201R-RBPDYQ

      2°25' +/-30'

      (2.4° +/-0.50°)

      KDH221R-MBMDYQ

      2°25' +/-30'

      (2.4° +/-0.50°)

      KDH221R-MBPDYQ

      2°25' +/-30'

      (2.4° +/-0.50°)

      KDH223R-LEMDYQ

      2°35' +/-30'

      (2.6° +/-0.50°)

      KDH223R-LEPDYQ

      2°35' +/-30'

      (2.6° +/-0.50°)

      South Africa
      Model Caster
      TRH201R-RBMDKN

      2°25' +/-30'

      (2.4° +/-0.50°)

      TRH221R-MBMDKN

      2°20' +/-30'

      (2.3° +/-0.50°)

      TRH221R-MSMDKN

      2°25' +/-30'

      (2.4° +/-0.50°)

      TRH223R-LEMDKN

      2°30' +/-30'

      (2.5° +/-0.50°)

      TRH213R-JDMNKN

      2°35' +/-30'

      (2.6° +/-0.50°)

      TRH223R-LEMNKN

      2°35' +/-30'

      (2.6° +/-0.50°)

      KDH200R-RBMDYN

      2°25' +/-30'

      (2.4° +/-0.50°)

      KDH220R-MBMDYN

      2°20' +/-30'

      (2.3° +/-0.50°)

      KDH220R-MSMDYN

      2°25' +/-30'

      (2.4° +/-0.50°)

      KDH222R-LEMDYN

      2°25' +/-30'

      (2.4° +/-0.50°)

      KDH212R-JDMNYN

      2°35' +/-30'

      (2.6° +/-0.50°)

      KDH222R-LEMNYN

      2°35' +/-30'

      (2.6° +/-0.50°)

      New Zealand
      Model Caster
      TRH223R-LEMDKQ

      2°30' +/-30'

      (2.5° +/-0.50°)

      KDH223R-LEMDYQ

      2°30' +/-30'

      (2.5° +/-0.50°)

      TRH201R-SRMDK

      2°30' +/-30'

      (2.5° +/-0.50°)

      TRH201R-SRPDK

      2°30' +/-30'

      (2.5° +/-0.50°)

      KDH201R-SRMDY

      2°30' +/-30'

      (2.5° +/-0.50°)

      KDH201R-SRPDY

      2°30' +/-30'

      (2.5° +/-0.50°)

      KDH221R-MFMDY

      2°25' +/-30'

      (2.4° +/-0.50°)

      KDH221R-MFPDY

      2°25' +/-30'

      (2.4° +/-0.50°)

      KDH223R-LEPDYQ

      2°30' +/-30'

      (2.5° +/-0.50°)

      Thailand
      Model Caster
      KDH201R-RBMDYT

      2°25' +/-30'

      (2.4° +/-0.50°)

      TRH213R-KDPNKT

      2°25' +/-30'

      (2.4° +/-0.50°)

      KDH213R-KDPNYT

      2°25' +/-30'

      (2.4° +/-0.50°)

      KDH203R-RDMNYT

      2°25' +/-30'

      (2.4° +/-0.50°)

      KDH223R-LEMDYT

      2°20' +/-30'

      (2.3° +/-0.50°)

      TRH223R-LEMDKT

      2°20' +/-30'

      (2.3° +/-0.50°)

      KDH223R-LEPDYT

      2°20' +/-30'

      (2.3° +/-0.50°)

      Singapore
      Model Caster
      KDH221R-MBMDYQ

      2°25' +/-30'

      (2.4° +/-0.50°)

      KDH221R-MBPDYQ

      2°25' +/-30'

      (2.4° +/-0.50°)

      KDH223R-LEPDYQ

      2°35' +/-30'

      (2.6° +/-0.50°)

      KDH201R-RBPDY

      2°25' +/-30'

      (2.4° +/-0.50°)

      KDH201R-SBMDY

      2°25' +/-30'

      (2.4° +/-0.50°)

      KDH203R-REMDY

      2°30' +/-30'

      (2.5° +/-0.50°)

      China
      Model Caster
      TRH213L-JDMNK

      2°35' +/-30'

      (2.6° +/-0.50°)

      TRH223L-LEPNK

      2°35' +/-30'

      (2.6° +/-0.50°)

      TRH223L-LDPNK

      2°30' +/-30'

      (2.5° +/-0.50°)

      The Philippines
      Model Caster
      KDH202L-REMDY

      2°25' +/-30'

      (2.4° +/-0.50°)

      KDH212L-JDMNY

      2°40' +/-30'

      (2.7° +/-0.50°)

      KDH212L-JDPNY

      2°40' +/-30'

      (2.7° +/-0.50°)

      KDH212L-KDPNY

      2°25' +/-30'

      (2.4° +/-0.50°)

      G.C.C. Countries (*1)
      Model Caster
      TRH201L-SBMDKV

      2°25' +/-30'

      (2.4° +/-0.50°)

      TRH201L-SRMDKV

      2°25' +/-30'

      (2.4° +/-0.50°)

      TRH221L-MBMDKV

      2°20' +/-30'

      (2.3° +/-0.50°)

      TRH203L-REMDKV

      2°25' +/-30'

      (2.4° +/-0.50°)

      TRH203L-REPDKV

      2°25' +/-30'

      (2.4° +/-0.50°)

      TRH213L-JEMDKV

      2°35' +/-30'

      (2.6° +/-0.50°)

      TRH213L-JEPDKV

      2°35' +/-30'

      (2.6° +/-0.50°)

      TRH223L-LEMDKV

      2°20' +/-30'

      (2.3° +/-0.50°)

      TRH223L-LEMDKV

      (Rough Road Area Spec)

      2°25' +/-30'

      (2.4° +/-0.50°)

      TRH223L-LEPDKV

      2°20' +/-30'

      (2.3° +/-0.50°)

      TRH223L-LEPDKV

      (Rough Road Area Spec)

      2°25' +/-30'

      (2.4° +/-0.50°)

      TRH223L-LEMNKV

      2°20' +/-30'

      (2.3° +/-0.50°)

      TRH223L-LEPNKV

      2°20' +/-30'

      (2.3° +/-0.50°)

      KDH200L-SBMDYV

      2°25' +/-30'

      (2.4° +/-0.50°)

      KDH202L-REMDYV

      2°25' +/-30'

      (2.4° +/-0.50°)

      KDH212L-JEMDYV

      2°30' +/-30'

      (2.5° +/-0.50°)

      KDH222L-LEMDYV

      2°20' +/-30'

      (2.3° +/-0.50°)

      KDH222L-LEMDYV

      (Rough Road Area Spec)

      2°25' +/-30'

      (2.4° +/-0.50°)

      KDH222L-LEMNYV

      2°20' +/-30'

      (2.3° +/-0.50°)

      (*1)
      Saudi Arabia, Sultanate of Oman, Bahrain, United Arab Emirates, Qatar and Kuwait
      Russia
      Model Caster
      TRH223L-LEMNKX

      2°35' +/-30'

      (2.6° +/-0.50°)

      KDH223L-LEMNYX

      2°35' +/-30'

      (2.6° +/-0.50°)

      Hong Kong
      Model Caster
      TRH200R-SSPDK

      2°30' +/-30'

      (2.5° +/-0.50°)

      KDH201R-SSMDY

      2°30' +/-30'

      (2.5° +/-0.50°)

      KDH201R-SSPDY

      2°30' +/-30'

      (2.5° +/-0.50°)

      KDH201R-SSPNY

      2°30' +/-30'

      (2.5° +/-0.50°)

      Mexico
      Model Caster
      TRH221L-MBMDK

      2°20' +/-30'

      (2.3° +/-0.50°)

      TRH221L-LFMDK

      2°20' +/-30'

      (2.3° +/-0.50°)

      TRH223L-LEMNK

      2°30' +/-30'

      (2.5° +/-0.50°)

      Peru
      Model Caster
      KDH200L-SBMDY

      2°25' +/-30'

      (2.4° +/-0.50°)

      LH200L-RBMDE

      2°25' +/-30'

      (2.4° +/-0.50°)

      KDH202L-RDMDY

      2°25' +/-30'

      (2.4° +/-0.50°)

      KDH212L-JDMNY

      2°25' +/-30'

      (2.4° +/-0.50°)

      KDH222L-LEMDY

      2°25' +/-30'

      (2.4° +/-0.50°)

      LH202L-REMDE

      2°25' +/-30'

      (2.4° +/-0.50°)

      LH222L-LEMDE

      2°25' +/-30'

      (2.4° +/-0.50°)

      Chile
      Model Caster
      KDH201L-SBMDY

      2°30' +/-30'

      (2.5° +/-0.50°)

      KDH203L-RDMDY

      2°25' +/-30'

      (2.4° +/-0.50°)

      Ecuador
      Model Caster
      LH200L-RBMDE

      2°30' +/-30'

      (2.5° +/-0.50°)

      LH202L-REMDE

      2°25' +/-30'

      (2.4° +/-0.50°)

      LH212L-JEMDE

      2°35' +/-30'

      (2.6° +/-0.50°)

      LH222L-LEMDE

      2°25' +/-30'

      (2.4° +/-0.50°)

      Tunisia
      Model Caster
      KDH202L-RDMDY

      2°25' +/-30'

      (2.4° +/-0.50°)

      Malaysia
      Model Caster
      KDH200R-RBMDYE

      2°30' +/-30'

      (2.5° +/-0.50°)

      TRH203R-EDMDKE

      2°35' +/-30'

      (2.6° +/-0.50°)

      KDH202R-EDMDYE

      2°35' +/-30'

      (2.6° +/-0.50°)

      Vietnam
      Model Caster
      TRH223L-LEMDK

      2°25' +/-30'

      (2.4° +/-0.50°)

      KDH222L-LEMDY

      2°25' +/-30'

      (2.4° +/-0.50°)

      Morocco
      Model Caster
      KDH201L-RBMDY

      2°25' +/-30'

      (2.4° +/-0.50°)

      KDH223L-LEMDY

      2°35' +/-30'

      (2.6° +/-0.50°)

      Others
      Model Caster
      TRH201L-SBMDK

      2°25' +/-30'

      (2.4° +/-0.50°)

      TRH221L-MBMDK

      2°20' +/-30'

      (2.3° +/-0.50°)

      KDH200R-RBMDY

      2°25' +/-30'

      (2.4° +/-0.50°)

      KDH200R-SBMDY

      2°25' +/-30'

      (2.4° +/-0.50°)

      KDH200L-RBMDY

      2°25' +/-30'

      (2.4° +/-0.50°)

      KDH200L-SBMDY

      2°25' +/-30'

      (2.4° +/-0.50°)

      KDH220L-MBMDY

      2°25' +/-30'

      (2.4° +/-0.50°)

      LH200R-RBMDE

      2°25' +/-30'

      (2.4° +/-0.50°)

      LH200R-SBMDE

      2°25' +/-30'

      (2.4° +/-0.50°)

      LH200L-RBMDE

      2°25' +/-30'

      (2.4° +/-0.50°)

      TRH203R-REMDK

      2°25' +/-30'

      (2.4° +/-0.50°)

      TRH203L-REMDK

      2°25' +/-30'

      (2.4° +/-0.50°)

      TRH213R-JEMDK

      2°30' +/-30'

      (2.5° +/-0.50°)

      TRH213L-JEMDK

      2°30' +/-30'

      (2.5° +/-0.50°)

      TRH223R-LEMDK

      2°20' +/-30'

      (2.3° +/-0.50°)

      TRH223R-LEMDK

      (Rough Road Area Spec)

      2°25' +/-30'

      (2.4° +/-0.50°)

      TRH223L-LEMDK

      2°20' +/-30'

      (2.3° +/-0.50°)

      TRH223L-LEMDK

      (Rough Road Area Spec)

      2°25' +/-30'

      (2.4° +/-0.50°)

      TRH223L-LEMNK

      2°20' +/-30'

      (2.3° +/-0.50°)

      TRH223L-LEMNK

      (Rough Road Area Spec)

      2°30' +/-30'

      (2.5° +/-0.50°)

      KDH202R-REMDY

      2°25' +/-30'

      (2.4° +/-0.50°)

      KDH202L-REMDY

      2°25' +/-30'

      (2.4° +/-0.50°)

      KDH202L-RDMDY

      2°25' +/-30'

      (2.4° +/-0.50°)

      KDH212R-JEMDY

      2°30' +/-30'

      (2.5° +/-0.50°)

      KDH212L-JEMDY

      2°30' +/-30'

      (2.5° +/-0.50°)

      KDH222R-LEMDY

      2°20' +/-30'

      (2.3° +/-0.50°)

      KDH222R-LEMDY

      (Rough Road Area Spec)

      2°25' +/-30'

      (2.4° +/-0.50°)

      KDH222R-LEPNY

      2°20' +/-30'

      (2.3° +/-0.50°)

      KDH222R-LEPNY

      (Rough Road Area Spec)

      2°30' +/-30'

      (2.5° +/-0.50°)

      KDH222L-LEMDY

      2°20' +/-30'

      (2.3° +/-0.50°)

      KDH222L-LEMDY

      (Rough Road Area Spec)

      2°25' +/-30'

      (2.4° +/-0.50°)

      KDH222L-LEPNY

      2°20' +/-30'

      (2.3° +/-0.50°)

      KDH222L-LEPNY

      (Rough Road Area Spec)

      2°30' +/-30'

      (2.5° +/-0.50°)

      LH202R-REMDE

      2°25' +/-30'

      (2.4° +/-0.50°)

      LH202L-REMDE

      2°25' +/-30'

      (2.4° +/-0.50°)

      LH202L-RDMDE

      2°25' +/-30'

      (2.4° +/-0.50°)

      LH212R-JEMDE

      2°35' +/-30'

      (2.6° +/-0.50°)

      LH212L-JEMDE

      2°35' +/-30'

      (2.6° +/-0.50°)

      LH222R-LEMDE

      2°20' +/-30'

      (2.3° +/-0.50°)

      LH222R-LEMDE

      (Rough Road Area Spec)

      2°25' +/-30'

      (2.4° +/-0.50°)

      LH222L-LEMDE

      2°20' +/-30'

      (2.3° +/-0.50°)

      LH222L-LEMDE

      (Rough Road Area Spec)

      2°25' +/-30'

      (2.4° +/-0.50°)

    3. Tighten the lock nut on the strut bar (rear side).

      Torque:
      138 N*m  { 1410 kgf*cm, 102 ft.*lbf }