FRONT UPPER SUSPENSION ARM REASSEMBLY


  1. INSTALL FRONT SUSPENSION UPPER ARM BUSHING


    1. A01BB4WE01

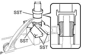
      Using SST and a press, press a new front suspension bushing (rear side) into the front suspension upper arm.

      SST
      09649-17010
      09316-20011
    2. Install the front suspension upper arm shaft to the front suspension upper arm.

    3. A01BBY7E01

      Using SST and a press, press a new front suspension bushing (front side) into the front suspension upper arm.

      SST
      09527-21011
      09726-27012   ( 09726-02101 )
      09710-26011   ( 09710-05061 )
    4. A01BGYVE01

      Install the 2 retainers and 2 new lock nuts.

      Tech Tips

      Install the front suspension upper arm shaft as shown in the illustration.

      Torque:
      225 N*m  { 2,290 kgf*cm, 160 ft.*lbf }
    5. A01BA3W

      Using a hammer and chisel, stake the 2 lock nuts.