SHIFT LEVER DISASSEMBLY


  1. REMOVE INDICATOR LIGHT WIRE SUB-ASSEMBLY


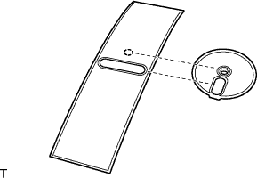
    1. A01BETAE02
      Text in Illustration
      *1 Indicator Light Guide
      *2 Key
      *3 Groove

      Release the indicator light wire from the 2 clamps on the shift lock control unit assembly.

    2. Turn the indicator light guide counterclockwise.

    3. Align the indicator light guide key with the groove on the shift lock control union to remove the indicator light wire.

  2. REMOVE POSITION INDICATOR LIGHT BULB


    1. Remove the indicator light cap.

    2. A01BGC9

      Remove the indicator light bulb.

  3. REMOVE SHIFT LEVER SLIDE COVER GUIDE


    1. A01BCNL

      Release the 4 claws with a screwdriver and remove the shift lever slide cover guide.

  4. REMOVE POSITION INDICATOR SLIDE COVER


    1. A01BEKHE05
      Text in Illustration
      *1 Position Indicator Slide Cover

      Remove the position indicator slide cover from the shift lock control unit.

    2. A01BI0P

      Remove the position indicator slide cover No. 2 from the position indicator slide cover.

  5. REMOVE SHIFT LEVER HARNESS CONNECTOR BRACKET


    1. A01BH52

      Remove the screw and shift lever harness connector bracket from the shift lock control unit.