HEADLIGHT ASSEMBLY DISASSEMBLY


  1. REMOVE MOTOR, HEADLIGHT LEVELING (W/ LEVELING MOTOR)


    1. A01KILU

      Remove the 4 screws and aiming part.

      Tech Tips

      Before removing aiming part, turning the aiming screw to make the headlight face upward will make it easy to remove the headlight leveling motor.

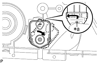
    2. A01KI61E01
      Text in Illustration
      *a Pin

      Slightly raise the headlight leveling motor to disengage the pin, and turn the headlight leveling motor as shown in the illustration.

    3. A01KHDZ

      Pull the headlight leveling motor forward to disengage the claw at the tip of shaft, and remove the headlight leveling motor.