TURBOCHARGER REASSEMBLY


  1. INSTALL TURBINE HOUSING


    1. A01KG9H

      Align the pin of the turbine housing with the pin hole of the bearing housing.

    2. A01KGF6

      Install the bearing housing to the turbine housing.

      Note

      Install the bearing housing straight, and be careful not to damage the turbine wheel.

  2. INSTALL V BAND


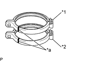
    1. A01KF85E01
      Text in Illustration
      *1 Old V Band
      *2 New V Band
      *a Matchmark

      Place a new and old (used) V bands in line, then reprint the matchmark position on the old V band to the new one.

    2. A01KFM6
      A01KHZAE01

      Align the matchmarks on the new V band, turbine housing and bearing housing, and temporarily install a new bolt and nut.

      Tech Tips

      If the matchmarks erased, install the V band as shown in the illustration.

      Text in Illustration
      *a Approx. 125°
    3. A01KG48E01
      Text in Illustration
      *a 60°

      Tighten the V band nut lightly.

    4. Using a brass bar and hammer, hit the V band for 2 or 3 times lightly at each place in the order of 1 through 6 as shown in the illustration.

    5. Tighten the nut with the specified torque.

      Torque:
      5.0 N*m  { 51 kgf*cm, 44 in.*lbf }
    6. Using a brass bar and hammer, hit the V band for 2 or 3 times lightly at each place in the order of 1 through 6 as shown in the illustration.

    7. Tighten the nut completely.

      Torque:
      5.0 N*m  { 51 kgf*cm, 44 in.*lbf }
  3. INSTALL COMPRESSOR HOUSING


    1. A01KFG0E01
      Text in Illustration
      *1 Seal Packing

      In case of reusing the compressor housing and bearing housing:


      1. Apply seal packing to the bearing housing, as shown in the illustration.

        Seal packing
        Toyota Genuine Seal Packing Black, Three Bond 1207B or equivalent
        Seal packing applying width
        1.2 - 1.6 mm (0.047 - 0.063 in.)

        Note

        Avoid applying an excessive amount to the surface.


        • Install a nozzle that has a cut of a 1.6 mm (0.063 in.) opening.

        • Parts must be assembled within 5 minutes after the application. Otherwise, the material must be removed and reapplied.

        • Immediately remove the nozzle from the tube and reinstall the cap.

      2. A01KGYIE01
        Text in Illustration
        *a Matchmark

        Align the matchmarks on the compressor housing and bearing housing, and install them.

        Note


        • Do not interfere the impeller wheel with the compressor housing.

        • Check that the turbine shaft turns smoothly.

      3. A01KH48E01
        Text in Illustration
        *1 Protractor Steel Square
        *a Approx. 10°
        *b Cut

        Using a steel square and protractor, check the installation angle as shown in the illustration.

      4. Install the 5 bolts.

        Torque:
        5.2 N*m  { 53 kgf*cm, 46 in.*lbf }
    2. In case of using a new compressor housing and/or bearing housing:


      1. Temporarily install the compressor housing on the bearing housing as shown in the illustration.

      2. Place matchmarks on the compressor housing and bearing housing.

      3. Remove the compressor housing.

      4. Reinstall the compressor housing according to the step (a).

  4. INSTALL ACTUATOR AND LINK ASSEMBLY


    1. Using SST, apply pressure to the actuator.

      SST
      09992-00242

      Note

      Never apply more than 147 kPa (1.50 kgf*cm2, 21.2 psi) of pressure to the actuator.

    2. Install the actuator with the 2 bolts and E-ring.

      Torque:
      8.0 N*m  { 82 kgf*cm, 71 in.*lbf }
    3. Remove SST.

    4. Connect the actuator hose.

  5. ADJUST ACTUATOR PUSH ROD STROKE

    A01KF9A

    Tech Tips

    Adjust the actuator push rod stroke is decided by the plate washer as shown in the illustration.

    Note

    Never apply more than 147 kPa (1.50 kgf*cm2, 21.2 psi) of pressure to the actuator.


    1. A01KENKE01
      Text in Illustration
      *a Push Rod Stroke

      Set the dial indicator as shown in the illustration.

    2. Using SST, apply 114 kPa (1.16 kgf*cm2, 16.4 psi) of pressure to the actuator, and measure the push rod stroke.

      SST
      09992-00242
    3. Select the plate washer according to the table below.

      Stroke measurement [mm (in.)] Required plate washer thickness [mm (in.)]
      1.20 - 1.70 (0.0472 - 0.0669) -
      1.71 - 2.20 (0.0673 - 0.0866) 0.5 (0.020)
      2.21 - 2.70 (0.0870 - 0.1063) 1.0 (0.039)
      2.71 - 3.20 (0.1067 - 0.1260) 1.5 (0.059)
      3.21 - 3.70 (0.1264 - 0.1457) 2.0 (0.079)
      3.71 - 4.20 (0.1461 - 0.1850) 2.5 (0.098)
      4.21 - 4.70 (0.1657 - 0.1850) 3.0 (0.118)
      4.71 - 5.20 (0.1854 - 0.2047) 3.5 (0.138)
      5.21 - 5.70 (0.2051 - 0.2244) 4.0 (0.157)
      5.71 - 6.20 (0.2248 - 0.2441) 4.5 (0.177)
      6.21 - 6.70 (0.2445 - 0.2638) 5.0 (0.197)
      6.71 - 7.20 (0.2642 - 0.2827) 5.5 (0.217)
      7.21 - 7.70 (0.2839 - 0.3031) 6.0 (0.236)
      7.71 - 8.20 (0.3035 - 0.3228) 6.5 (0.256)

      Note


      • Use a combination of plate washers of 0.5 mm (0.020 in.), 1.0 mm (0.039 in.) and 3.0 mm (0.118 in.) thickness to achieve the required thickness.

      • Use the same thickness of the plate washer for the 2 locations between the actuator and compressor housing.

      • If the plate washer thickness exceeds 3.5 mm (0.138 in.), replace the actuator installation bolts with the bolts from the kit part.

    4. Install the 2 washers and actuator (See step 4).

    5. A01KFH8

      Using SST, apply 119 kPa (1.21 kgf*cm2, 17.2 psi) of pressure to the actuator, and install the selected plate washers between the actuator and compressor housing with the 2 bolts.

      SST
      09992-00242
      Torque:
      8.0 N*m  { 82 kgf*cm, 71 in.*lbf }
    6. A01KENKE01
      Text in Illustration
      *a Push Rod Stroke

      Using SST, apply 113 kPa (1.13 kgf*cm2, 16.1 psi) of pressure to the actuator, and measure the actuator push rod stroke.

      SST
      09992-00242
      Standard stroke
      1.20 - 1.70 mm (0.0472 - 0.0669 in.)

      If the stroke is outside specifications, select the plate washers again.

    7. Connect the actuator hose.

    8. Remove SST.

    9. Apply yellow paint from the actuator bolts to the actuator bracket (Means that the actuator has been installed correctly).